GM Service Manual Online
For 1990-2009 cars only
Figure 1:

Power, Ground, and DLC


Object Number: 813753  Size: FS
Master Electrical Component List
Radio/Audio System Description and Operation
UQ3 Speakers
Power Distribution Schematics (IGN 2)
Batt 1 Fuse
Lighting
BCM, Power Drop, Steering Wheel Switches
Lighting
Batt 1 Fuse
I/P Dimmer Switch, HVAC, and IPC
Data Link Connector (DLC)
G203 (Page 2 of 2)
Inputs and Outputs
Figure 2:

Speakers (UQ3)


Object Number: 813754  Size: FS
Master Electrical Component List
Radio/Audio System Description and Operation
Low Level Audio Signals
Power, Ground, and DLC
Figure 3:

Premium Sound Audio Signals (U85)


Object Number: 813756  Size: FS
Master Electrical Component List
Radio/Audio System Description and Operation
Rear Speakers
UQ3 Speakers
Batt 1 Fuse
Entertainment Schematic Icons
Entertainment Schematic Icons
Entertainment Schematic Icons
Entertainment Schematic Icons
Entertainment Schematic Icons
Entertainment Schematic Icons
Entertainment Schematic Icons
Entertainment Schematic Icons
G203 (Page 2 of 2)
Figure 4:

Rear Speakers (U85)


Object Number: 702862  Size: FS
Master Electrical Component List
Radio/Audio System Description and Operation
Front Speakers
Low Level Audio Signals
Figure 5:

Front Speakers (U85)


Object Number: 813757  Size: FS
Master Electrical Component List
Radio/Audio System Description and Operation
Antenna Module
Rear Speakers
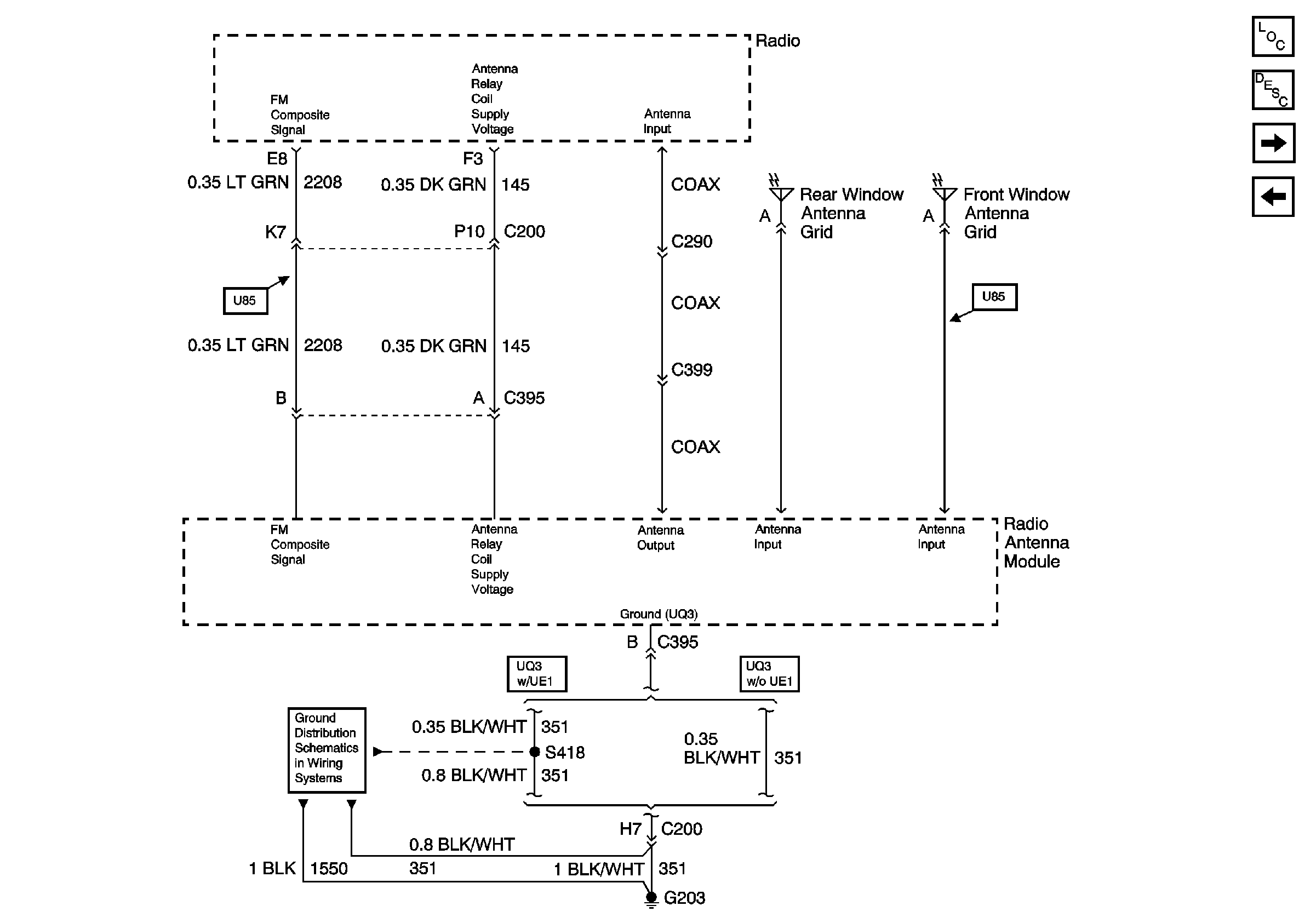
Figure 6:

Antenna Module


Object Number: 813758  Size: FS
Master Electrical Component List
Radio/Audio System Description and Operation
Steering Wheel Controls
Front Speakers
G203 (Page 2 of 2)
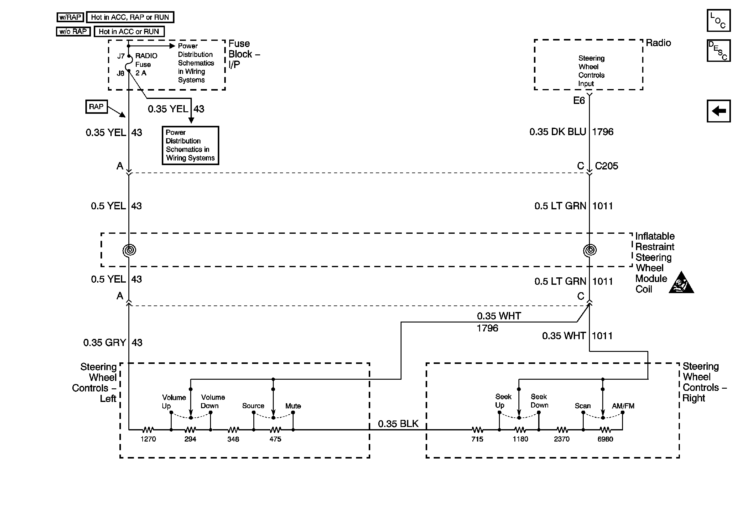
Figure 7:

Steering Wheel Controls


Object Number: 813759  Size: FS
Master Electrical Component List
Radio/Audio System Description and Operation
Antenna Module
Power Distribution Schematics (IGN 2)
BCM, Power Drop, Steering Wheel Switches
SIR Caution