GM Service Manual Online
For 1990-2009 cars only
Makes
🢒
Buick
🢒
2002
🢒
Regal
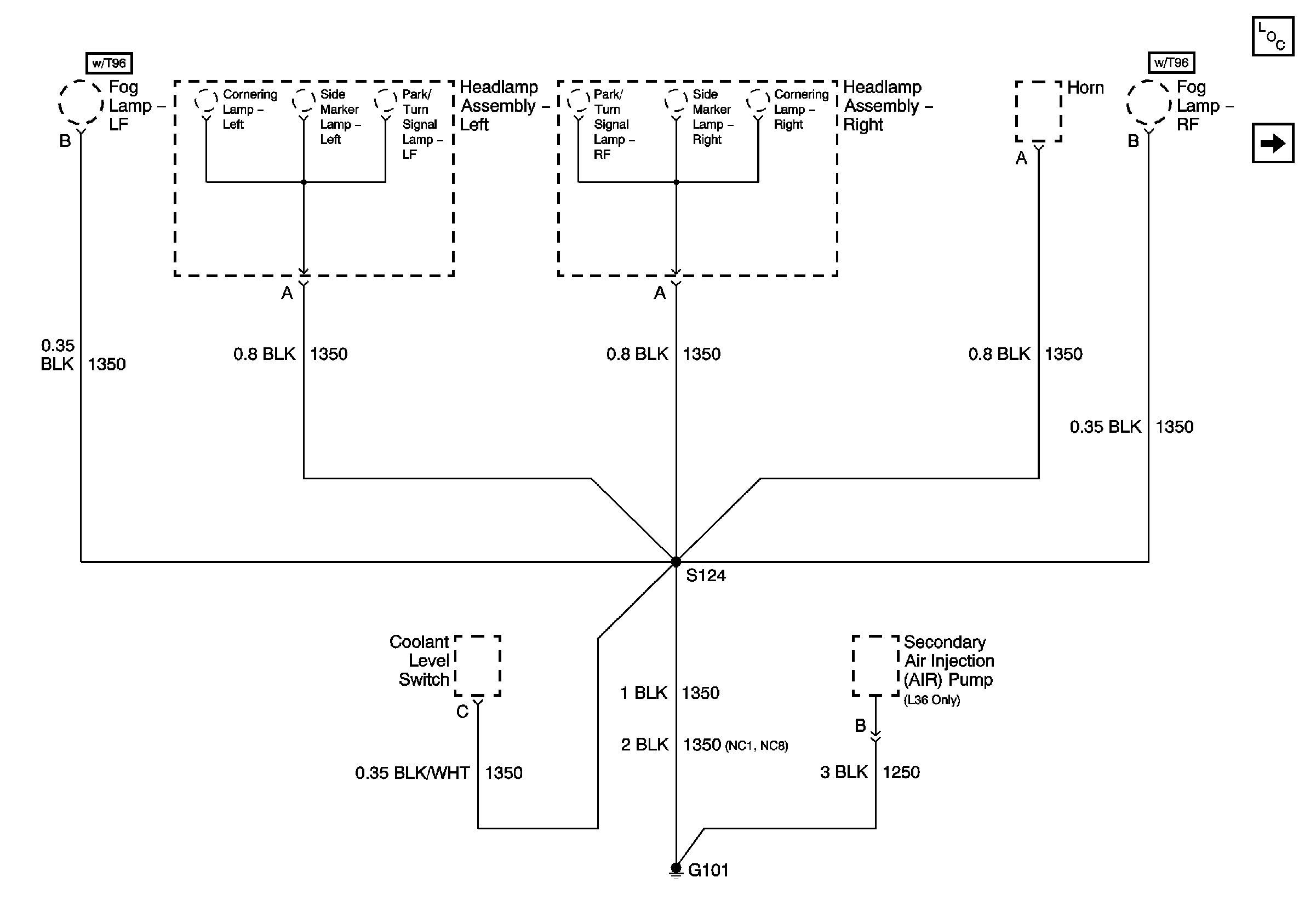
🢒 G101
G101
G101
Master Electrical Component List
G100, G111, and G113