GM Service Manual Online
For 1990-2009 cars only
Makes
🢒
Buick
🢒
2000
🢒
Regal (China)
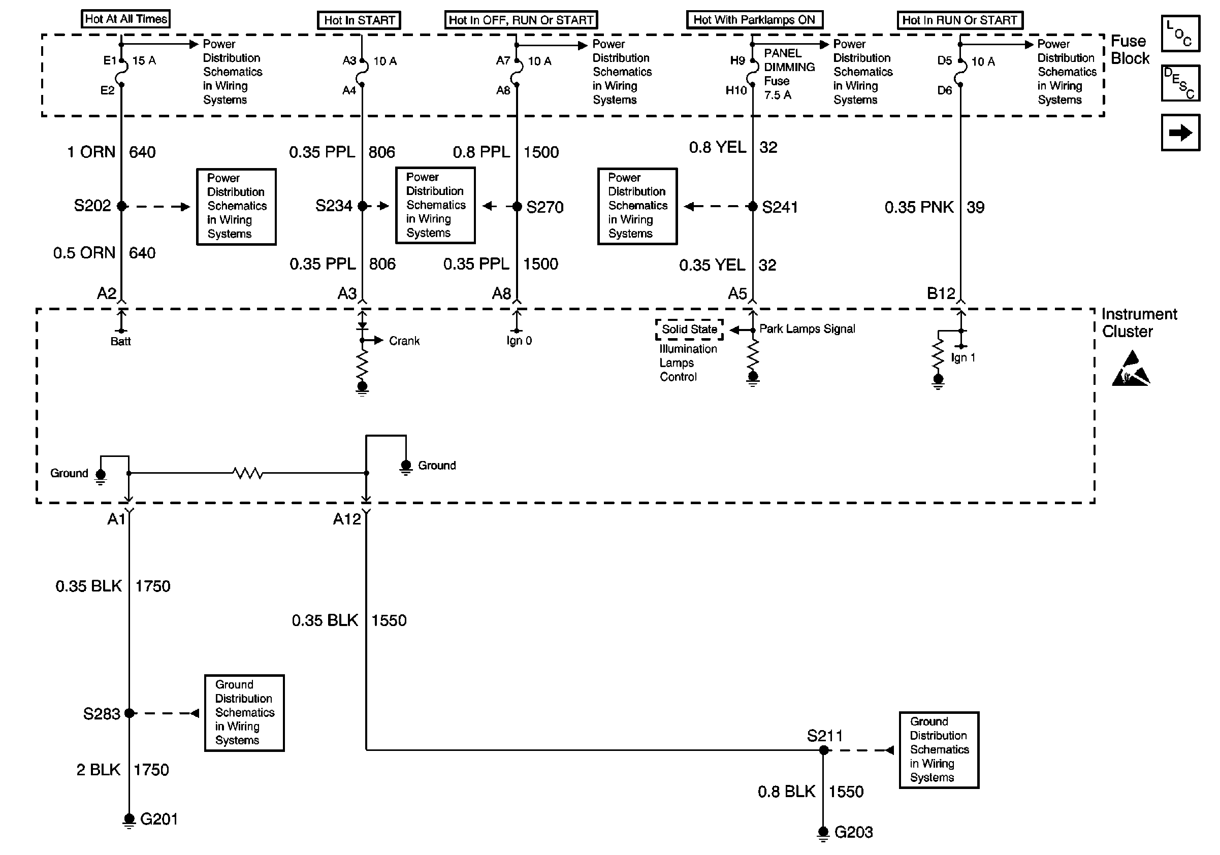
🢒 Power/Ground Distribution, Instrument Cluster
Power/Ground Distribution, Instrument Cluster
Power/Ground Distribution, Instrument Cluster
Instrument Cluster Circuit Description
Serial Data, Turn Signal Switch and Headlamp Switch
Instrument Panel, Gages, and Console Component Views
Handling ESD Sensitive Parts Notice
Fuse Block, BCM, Cluster, Radio and DLC
Fuse Block, Outside Rearview Mirrors and PCM
Fuse Block, UAWJB Radio and Cluster
Fuse Block, BCM, Cluster, Radio and DLC
Fuse Block, Outside Rearview Mirrors and PCM
Fuse Block, UAWJB Radio and Cluster
G201)
G203
Fuse Block, UAWJB, PCM and BCM