GM Service Manual Online
For 1990-2009 cars only
Makes
🢒
Buick
🢒
2000
🢒
Regal (China)
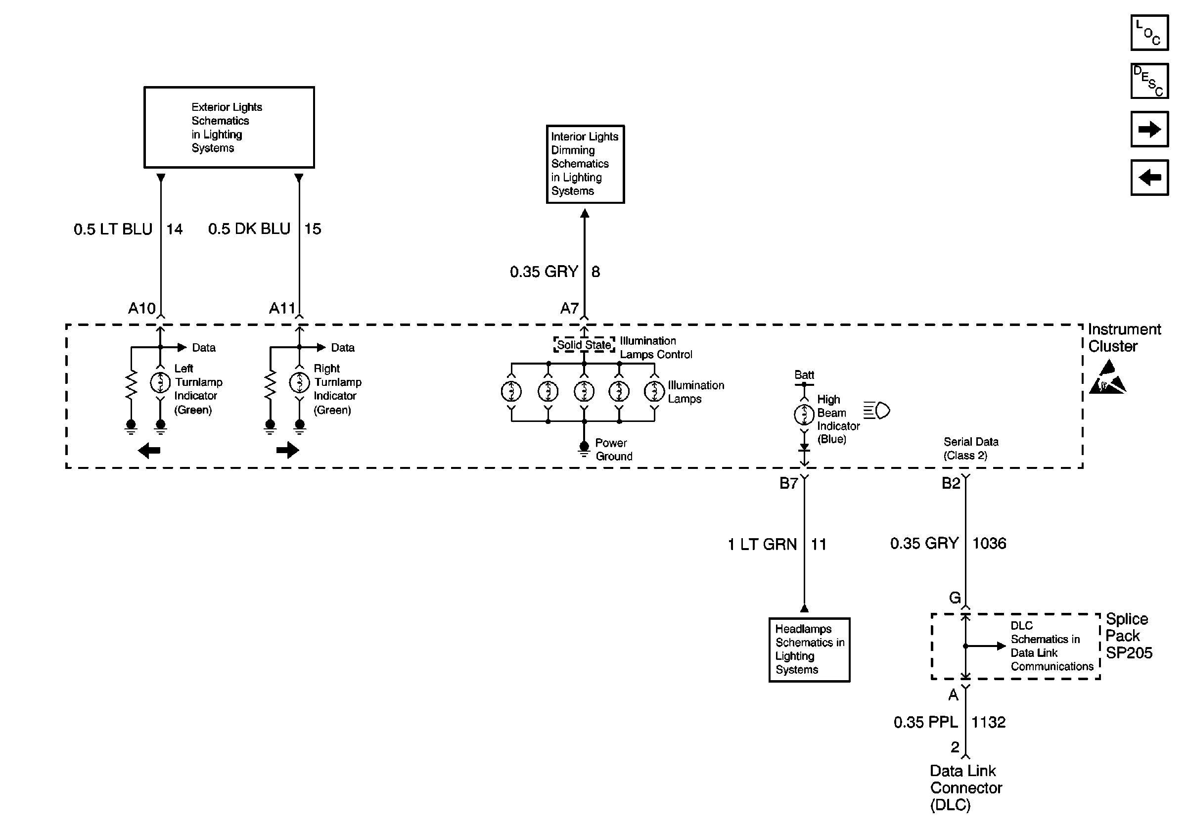
🢒 Serial Data, Turn Signal Switch and Headlamp Switch
Serial Data, Turn Signal Switch and Headlamp Switch
Serial Data, Turn Signal Switch and Headlamp Switch
Instrument Cluster Circuit Description
PCM, Engine Coolant Level Indicator Module, Windshield Washer Solvent Level Switch
Power/Ground Distribution, Instrument Cluster
Instrument Panel, Gages, and Console Component Views
Cluster, Headlamp Switch, Automatic Headlamp Control Module, Side Reapeater and Rear Turn Lamps
Headlamp Switch, Cluster, HVAC, Rear Radio Control Module, Electronic Traction Control and Fog Lamp Assembly
Headlamps, Headlamp Switch, Headlamp Dimmer Switch and BCM
DLC Schematic
Handling ESD Sensitive Parts Notice