GM Service Manual Online
For 1990-2009 cars only
Makes
🢒
Buick
🢒
2001
🢒
Regal (China)
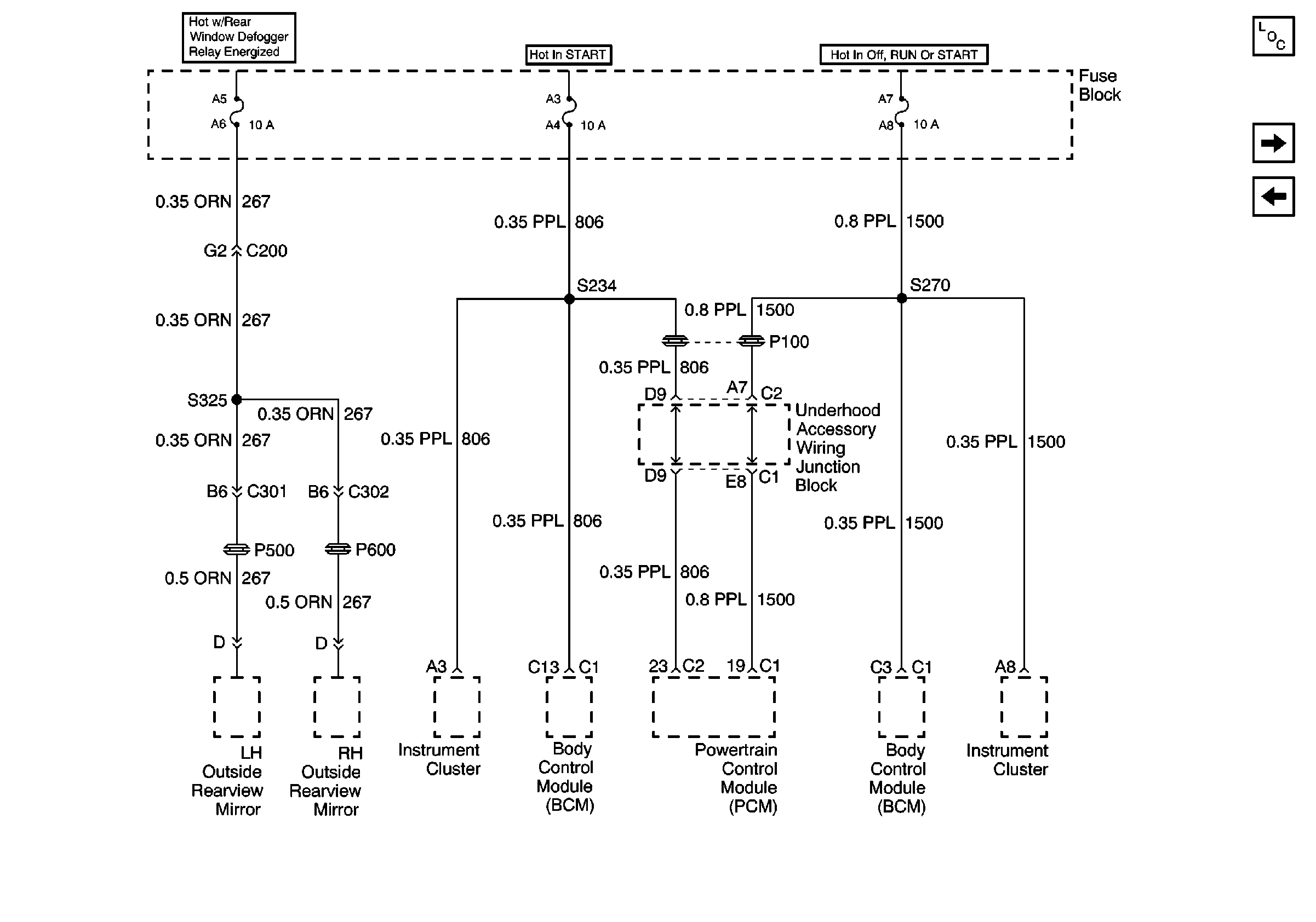
🢒 Fuse Block, Outside Rearview Mirrors and PCM
Fuse Block, Outside Rearview Mirrors and PCM
Fuse Block, Outside Rearview Mirrors and PCM
Power and Grounding Components
Fuse Block and HVAC Components
UAWJB and Fuel Injectors