GM Service Manual Online
For 1990-2009 cars only
Makes
🢒
Buick
🢒
2006
🢒
Rendezvous - FWD
🢒 Ignition Controls-CKP and KS Sensors
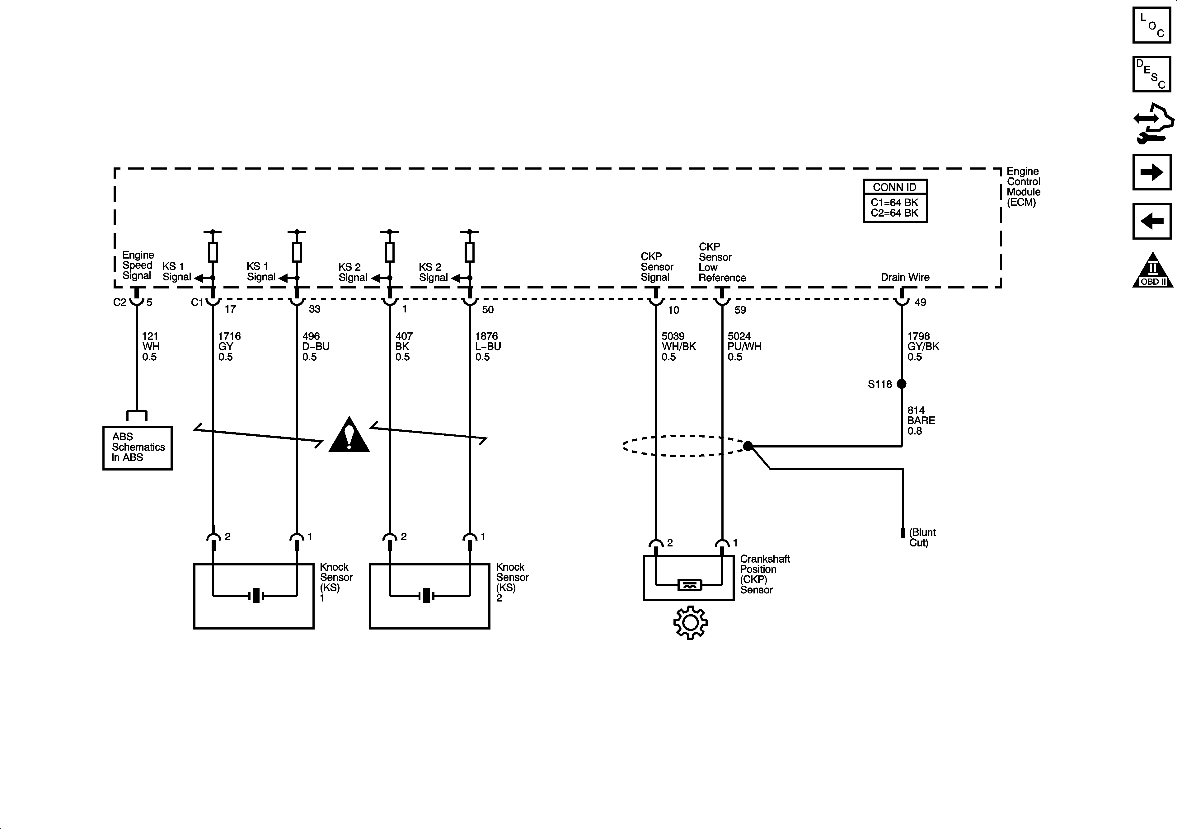
Ignition Controls-CKP and KS Sensors
Ignition Controls - CKP and KS Sensors
Master Electrical Component List
Knock Sensor (KS) System Description
Control Module References
Fuel Controls-Fuel Pump and Fuel Injectors
Ignition Controls-CMP Sensors and Actuator Solenoids
Engine Controls Schematic Icons
DLC, Indicators, and Traction Control Switch-LY7
Engine Controls Schematic Icons