GM Service Manual Online
For 1990-2009 cars only
Makes
🢒
Buick
🢒
1998
🢒
Riviera
🢒 Cell 50: Serial Data UART
Cell 50: Serial Data UART
Cell 50: Serial Data UART
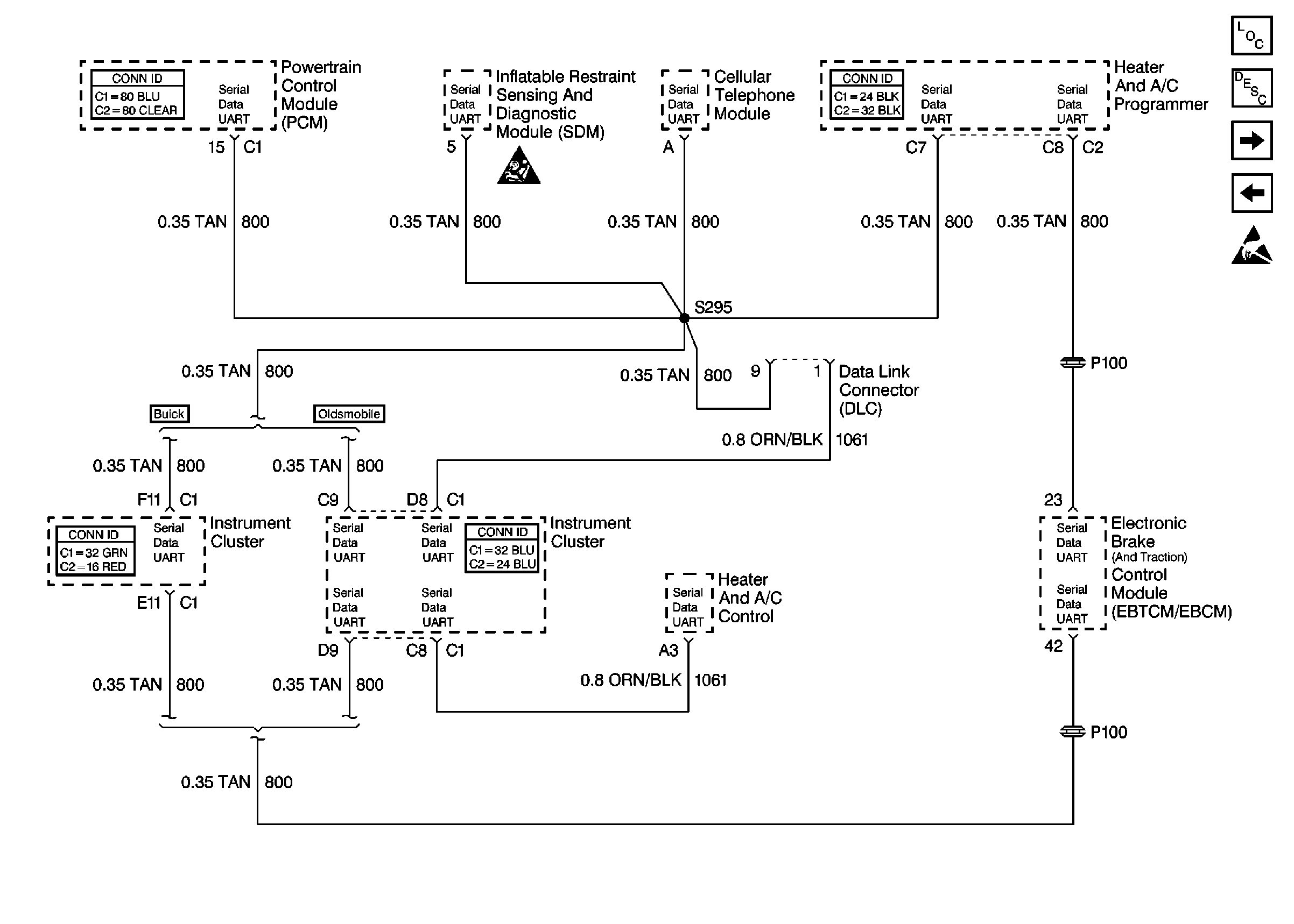
Data Link Communications Components
Data Link Communications Description
Cell 50: Serial Data Line E & C
Cell 50: Power, Ground and Serial Data Class 2
Handling ESD Sensitive Parts Notice
SIR Handling Caution