GM Service Manual Online
For 1990-2009 cars only
Makes
🢒
Buick
🢒
1998
🢒
Riviera
🢒 Cell 76: IP Fuse Block
Cell 76: IP Fuse Block
Cell 76: IP Fuse Block
Instrument Panel, Gages, and Console Component Views
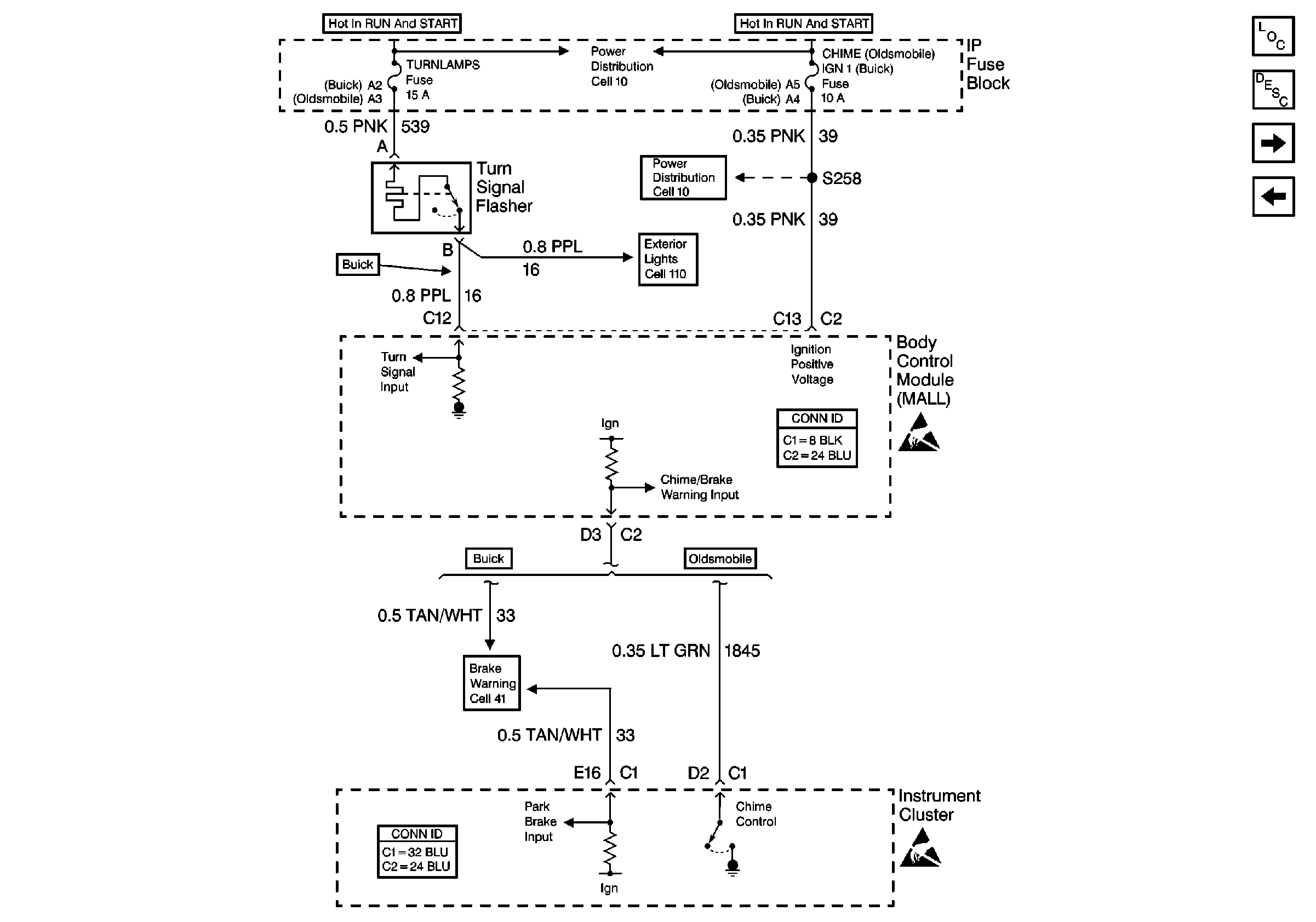
Audible Warnings Circuit Description
Cell 76: Instrument Cluster
Cell 76: RH Rear Junction Block
Power Distribution Schematics
Body Control System Connector End Views
Instrument Panel, Gages, and Console Connector End Views
Power Distribution Schematics
Exterior Lights Schematics Buick
Handling ESD Sensitive Parts Notice
Handling ESD Sensitive Parts Notice