GM Service Manual Online
For 1990-2009 cars only
Makes
🢒
Buick
🢒
1998
🢒
Riviera
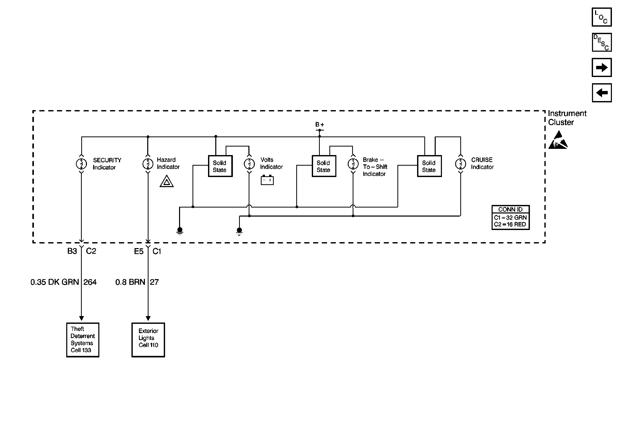
🢒 Cell 81: Security Indicator
Cell 81: Security Indicator
Cell 81: Security Indicator
Instrument Panel, Gages, and Console Component Views
Cell 81: Instrument Cluster Illumination Lamps
Cell 81: Airbag Indicator
Theft Deterrent System Schematics
Exterior Lights Schematics Buick
Handling ESD Sensitive Parts Notice