GM Service Manual Online
For 1990-2009 cars only
Makes
🢒
Buick
🢒
1998
🢒
Riviera
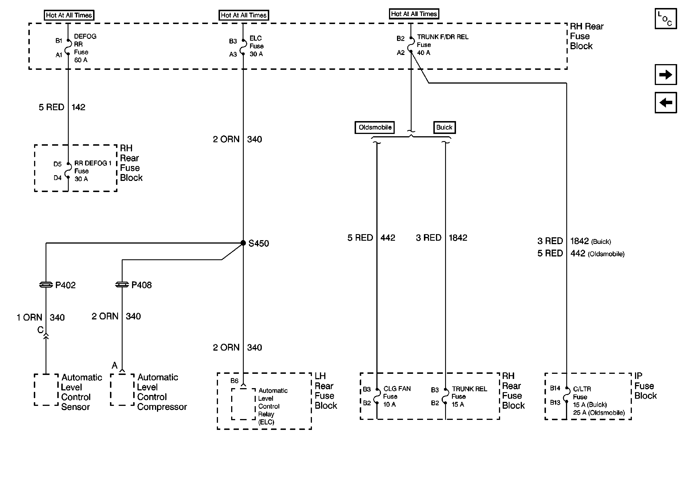
🢒 Cell 10: TRUNK F/DR REL Fuse, ELC Fuse, and DEFOG RR Fuse
Cell 10: TRUNK F/DR REL Fuse, ELC Fuse, and DEFOG RR Fuse
Cell 10: TRUNK F/DR REL Fuse, ELC Fuse, and DEFOG RR Fuse
Power and Grounding Component Views
Cell 10: HTD ST/IP Fuse and EXT LP Fuse
Cell 10: HDLP, HVAC BLO MOT, and PWR ST Circuit Breakers
Cell 10: Battery
Cell 10: Battery