GM Service Manual Online
For 1990-2009 cars only
Makes
🢒
Buick
🢒
1998
🢒
Riviera
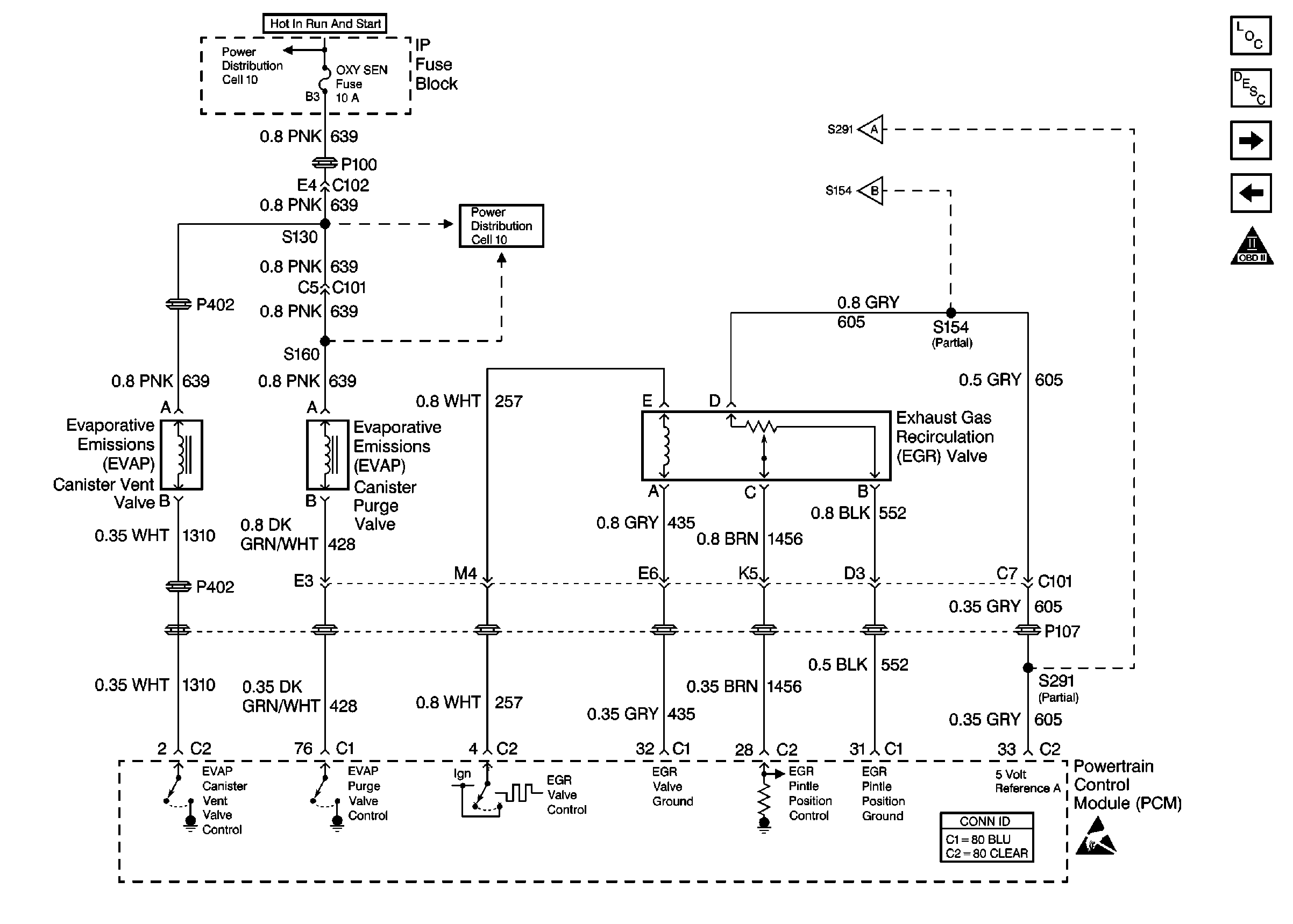
🢒 Cell 20: EVAP Control, EGR Valve
Cell 20: EVAP Control, EGR Valve
Cell 20: EVAP Control, EGR Valve
Engine Controls Components
Powertrain Control Module Description
Cell 20: Generator, Oil Level Switch, EBTCM
Cell 20: Cruise Control Module
OBD II Symbol Description Notice
Cell 10: Battery
Cell 20: Cruise Control Module
Cell 10: OXYGEN SENSORS Fuse (Buick)
Cell 20: Cruise Control Module
Powertrain Control Module Connector End Views
Handling ESD Sensitive Parts Notice