GM Service Manual Online
For 1990-2009 cars only
Makes
🢒
Buick
🢒
1998
🢒
Riviera
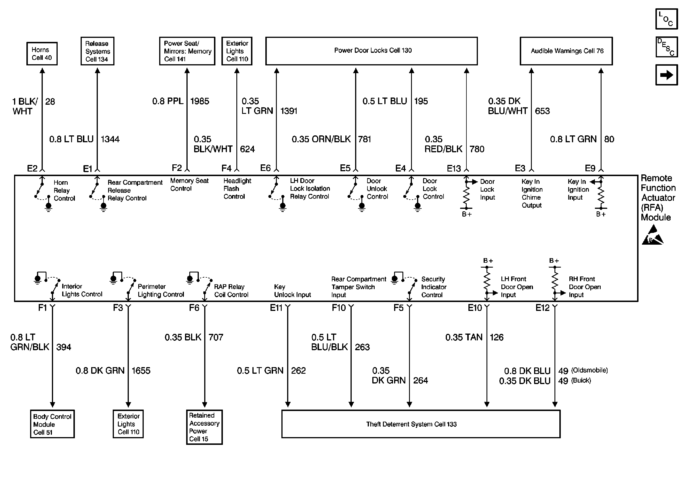
🢒 Cell 132: RFA Module Inputs and Outputs
Cell 132: RFA Module Inputs and Outputs
Cell 132: RFA Module Inputs and Outputs
Keyless Entry Components
Keyless Entry System Circuit Description
Cell 132: RFA Module Power, Ground and DLC
Instrument Cluster: Analog Schematics
Door Lock/Indicator Schematics
Exterior Lights Schematics Buick
Power Seats Schematics Buick
Release Systems Schematics
Horn Schematics
Theft Deterrent System Schematics
Retained Accessory Power (RAP) Schematics
Exterior Lights Schematics Buick
Body Control System Schematics
Handling ESD Sensitive Parts Notice