GM Service Manual Online
For 1990-2009 cars only

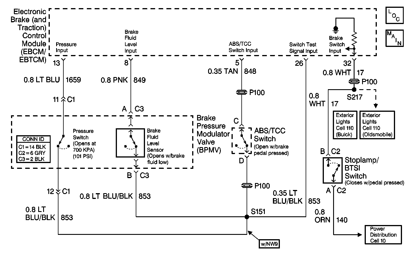
Object Number: 406531  Size: MF
ABS Components
Cell 44: ABS/TCS Switch, Isolation Valve Solenoids, and PCM
Cell 10: F/PMP, HZRD/STOP and INTR LP Fuses
Cell 110: Turn/Hazard Switch and Stoplamp/BTSI Switch
Cell 110: Turn/Hazard Switch and Stoplamp/BTSI Switch

Circuit Description

    • The EBCM/EBTCM monitors the brake pedal position using the brake travel switch. The switch, normally closed, opens when the brake pedal is pressed by 40 percent.
    • During most ABS braking conditions the EBCM/EBTCM turns ON the pump motor, replenishing the BPMV reservoir and applying fluid pressure to the master cylinder. This causes the brake pedal to rise gradually. The EBCM/EBTCM turns OFF the pump motor when the brake pedal height rises sufficiently to close the brake travel switch.

Conditions for Setting the DTC

The DTC C1272 sets when the EBCM/EBTCM detects that the brake travel switch CKT 848 is shorted to ground (with the brake pedal pressed) or open.

Action Taken When the DTC Sets

The following actions are taken when the DTC sets:

    • DTC C1272 is stored.
    • The ABS is disabled.
    • The ANTILOCK indicator lamp is turned on.

Conditions for Clearing the DTC

The DTC will clear under following conditions:

    • Conditions for the malfunction are no longer present. Use the scan tool Clear DTCs function.
    • 100 ignition switch key cycles have passed without detecting any malfunctions

Diagnostic Aids

    • The following conditions are other possible causes of this malfunction:
       - The ABS/TCC switch circuit is open or shorted to ground
       - The BPMV fluid level switch circuit is shorted to ground
       - The ABS Pump Motor Pressure Switch circuit is shorted to ground
    • Perform a thorough inspection of the wiring and the connectors.
    • Failure to carefully inspect wiring may result in a misdiagnosis. A misdiagnosis may result in replacing parts without repairing the malfunction.

Step

Action

Value(s)

Yes

No

1

Was the Diagnostic System Check performed?

--

Go to Step  2

Go to Diagnostic System Check

2

  1. Connect the scan tool.
  2. Using the scan tool, under DATA LIST, check for brake travel switch ON/OFF transition.

Is the brake switch operating properly?

--

Go to Step  10

Go to Step  3

3

  1. Turn the ignition switch to the OFF position.
  2. Disconnect the brake travel switch connector.
  3. Disconnect the EBCM/EBTCM harness connector.
  4. Install the J 38716 pinout box to the EBCM/EBTCM wiring harness connector.
  5. Use the J 39200 in order to measure the resistance between the J 38716 pinout box terminal 1 and a known good ground.

Is the resistance less than the specified value?

2  ohms

Go to Step  4

Go to Step  13

4

Measure the resistance between the J 38716 pinout box terminals 1 and 5.

Is the resistance less than the specified value?

2  ohms

Go to Step  14

Go to Step  5

5

Measure the resistance between the J 38716 pinout box terminals 1 and 26.

Is the resistance less than the specified value?

2 ohms

Go to Step  15

Go to Step  6

6

  1. Disconnect the brake travel switch wiring harness connector.
  2. Measure the resistance between the brake travel switch terminals C and D.

Is the resistance less than the specified value?

2 ohms

Go to Step  7

Go to Step  11

7

  1. Depress the brake pedal over 40% travel and hold.
  2. Measure the resistance between the brake travel switch terminals C and D.
  3. Is the resistance less than the specified value?

2 ohms

Go to Step  11

Go to Step  8

8

  1. Reconnect the brake travel switch harness connector.
  2. Turn the ignition switch to the RUN position.
  3. Measure the voltage between the J 38716 pinout box terminals 1 and 5.

Is the voltage greater than the specified value?

1 V

Go to Step  12

Go to Step  9

9

  1. Turn the ignition switch to the OFF position.
  2. Measure the resistance between the J 38716 pinout box terminals 5 and 26.

Is the resistance less than the specified value?

2  ohms

Go to Step  21

Go to Step  20

10

  1. Check for proper terminal contact at the EBCM/EBTCM and the brake travel switch.
  2. Use the scan tool to clear all DTCs.
  3. Test drive the vehicle.

Does the DTC C1272 reset?

--

Go to Step  21

Go to Diagnostic System Check

11

Check the brake travel switch adjustment. Refer to Brake Release Switch Adjustment in Cruise Control.

Is the brake travel switch properly adjusted.

--

Go to Step  16

Go to Step  17

12

  1. Press the brake pedal over 40% travel and hold.
  2. Measure the voltage between the J 38716 pinout box terminals 1 and 26.

Is the voltage greater than the specified value?

1 V

Go to Step  18

Go to Step  19

13

Repair the short to ground in CKT 1451.

Is the repair complete?

--

Go to Diagnostic System Check

--

14

Perform diagnostics for DTC C1273 and begin Step 3. Refer to DTC C1273 BPMV Fluid Level Switch Circuit Malfunction .

Is the diagnosis complete?

--

--

--

15

Repair the short to ground in CKT 853. Refer to Wiring Repairs in Wiring Systems.

Is the repair complete?

--

Go to Diagnostic System Check

--

16

Replace the brake travel switch. Refer to Brake Release Switch Replacement in Cruise Control.

Is the repair complete?

--

Go to Diagnostic System Check

--

17

Repair the brake travel switch. Refer to Brake Release Switch Replacement in Cruise Control.

Is the repair complete?

--

Go to Diagnostic System Check

--

18

Repair the short to voltage in CKT 853. Refer to Wiring Repairs in Wiring Systems.

Is the repair complete?

--

Go to Diagnostic System Check

--

19

Repair the short to voltage in CKT 848. Refer to Wiring Repairs in Wiring Systems.

Is the repair complete?

--

Go to Diagnostic System Check

--

20

Repair the open or high resistance in CKT 848. Refer to Wiring Repairs in Wiring Systems.

Is the repair complete?

--

Go to Diagnostic System Check

--

21

Replace the EBCM/EBTCM. Refer to Electronic Brake and Traction Control Module Replacement .

Is the repair complete?

--

Go to Diagnostic System Check

--