GM Service Manual Online
For 1990-2009 cars only

Engine Replacement 5L40-E

The following procedure requires the removal of the engine and transmission as an assembly.

Tools Required

    • J 38185 Hose Clamp Pliers
    • J 39456 Universal Engine Tilter
    • J 42098 Crank Hub TORX® Socket

Removal Procedure

  1. Remove the hood. Refer to Hood Replacement in Body Front End.
  2. Remove the wiper motor module. Refer to Windshield Wiper System Module Replacement in Wipers/Washer Systems.
  3. Remove the fasteners securing the front air inlet panel to the battery tray and cowl.
  4. Remove the front air inlet panel from the vehicle.
  5. Disconnect the battery negative cable. Refer to Battery Negative Cable Disconnection and Connection in Engine Electrical.

  6. Object Number: 772418  Size: SH
  7. Remove the bolt (1) securing the battery negative cable to the side rail.
  8. Disconnect the body harness connector (3) from the battery negative cable and secure to the engine.

  9. Object Number: 785724  Size: SH
  10. Depress the tabs in order to remove the underhood fuse block cover from the underhood fuse block.

  11. Object Number: 772415  Size: SH
  12. Remove the nut (1) securing the battery positive cable (2) to the underhood fuse block.
  13. Disconnect the battery positive cable from the battery and secure to the engine.
  14. Disconnect the engine wiring harness electrical connector from the underhood fuse block and secure to the engine.
  15. Disconnect the engine wiring harness connector at the right shock tower and secure to the engine.

  16. Object Number: 796810  Size: SH
  17. Unlock the transmission control module electrical connector by pulling the retainer (2) away from the electrical connector (1).
  18. Important: Twisting or tilting of the transmission control module electrical connector while disconnecting may result in bent or misaligned electrical terminal pins.

  19. Carefully disconnect the electrical connector (1) from the transmission control module and secure to the engine.
  20. Remove the air cleaner assembly. Refer to Air Cleaner Assembly Replacement in Engine Controls-2.6L and 3.2L.
  21. Remove the intake air resonator. Refer to Intake Air Resonator Replacement in Engine Controls-2.6L and 3.2L.

  22. Object Number: 756128  Size: SH
  23. Disconnect the engine wiring harness connector (1) from the coolant bypass solenoid.

  24. Object Number: 785776  Size: SH
  25. Remove the bolt securing the engine wiring harness ground lead to the right body rail.
  26. Drain the cooling system. Refer to Cooling System Draining and Filling in Engine Cooling.

  27. Object Number: 785753  Size: SH
  28. Position the J 38185 to the clamps in order to remove the surge tank inlet hose from the following:
  29. • The radiator
    • The throttle body assembly
  30. Remove the inlet radiator hose. Refer to Radiator Inlet Hose Replacement in Engine Cooling.
  31. Remove the outlet radiator hose. Refer to Radiator Outlet Hose Replacement in Engine Cooling.

  32. Object Number: 789008  Size: SH
  33. Position the J 38185 to the clamp (2) in order to remove the coolant bypass outlet hose from the coolant inlet pipe.

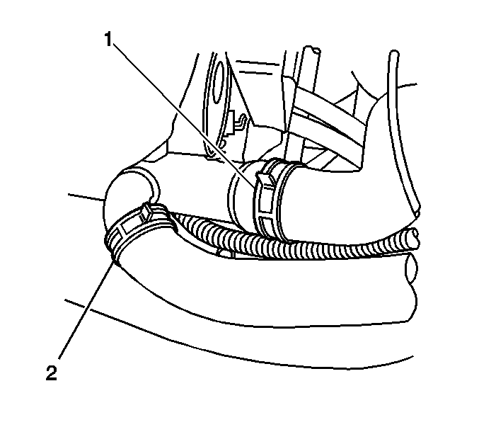
  34. Object Number: 756131  Size: SH
  35. Position the J 38185 to the clamp (1) in order to remove the coolant bypass inlet hose from the afterboil coolant pump pipe.
  36. Relieve the fuel system pressure. Refer to Fuel Pressure Relief in order to disconnect the following quick connect fittings from the fuel rail:.

  37. Object Number: 785815  Size: MH
  38. Refer to Metal Collar Quick Connect Fitting Service .
  39. • The return hose/pipe (1)
    • The feed hose/pipe (2)
    • Plug the open outlet ports to prevent fuel loss and contamination.
  40. Disconnect the evaporative emission (EVAP) quick connect fitting (3). Refer to Plastic Collar Quick Connect Fitting Service .
  41. Open the retainer (4) located at the engine control module (ECM) bracket in order to remove the chassis hose/pipes.

  42. Object Number: 789004  Size: SH
  43. Position the J 38185 to the clamp (1) in order to remove the outlet heater hose from the afterboil coolant pump (2).

  44. Object Number: 760782  Size: SH
  45. Position the J 38185 to the clamp (1) in order to remove the inlet heater hose from the heater core.
  46. Position the J 38185 to the clamp in order to remove the surge tank outlet hose from the surge tank and secure to the engine.

  47. Object Number: 785777  Size: SH
  48. Disconnect the electrical connector (1) from the Air Conditioning (A/C) refrigerant pressure sensor (2).
  49. Disconnect the 2 engine wiring harness connectors from the left body rail connectors.

  50. Object Number: 803176  Size: SH
  51. Remove the power steering return hose nut and retainer from the A/C compressor stud.

  52. Object Number: 785766  Size: SH
  53. Disconnect the retainer (1) securing the engine wiring harness to the A/C pressure hose and secure to the engine.

  54. Object Number: 802720  Size: SH
  55. Remove the power steering pressure hose nut and retainer from the A/C compressor stud.
  56. Remove the drive belt. Refer to Drive Belt Replacement .

  57. Object Number: 785728  Size: SH
  58. Remove the power steering pump mounting bolts ONLY.
  59. Remove the power steering pump from the accessory mounting bracket, and position aside.

  60. Object Number: 785764  Size: SH
  61. Disconnect the following from the remote power steering fluid reservoir (1):
  62. • The vacuum brake booster hose
    • The wiring harness (2)
  63. Disconnect the vacuum brake booster hose from the vacuum source.

  64. Object Number: 785730  Size: SH
  65. Remove the remote power steering fluid reservoir mounting bolts (1,3) ONLY, and position aside.

  66. Object Number: 785773  Size: SH
  67. Disconnect the electrical connector from the A/C compressor.
  68. Important: Evacuation of the A/C refrigerant will not be necessary.

  69. Remove the A/C compressor mounting bolts ONLY, and position aside.
  70. Raise and support the vehicle. Refer to Lifting and Jacking the Vehicle in General Information.
  71. Remove the exhaust system. Refer to Exhaust System Replacement in Engine Exhaust.
  72. Remove the left and right catalytic converters. Refer to Catalytic Converter Replacement - Left Side and Catalytic Converter Replacement - Right Side in Engine Exhaust.
  73. Remove the catalytic converter hanger bracket. Refer to Catalytic Converter Hanger Bracket Replacement in Engine Exhaust.

  74. Object Number: 772830  Size: SH
  75. Remove the Electronic Brake Control Module (EBCM) connector position assurance retainer (4) from the EBCM electrical connector (1).
  76. Rotate the EBCM connector tab (2) up into the unlocked position.
  77. Disconnect the EBCM electrical connector (1) from the EBCM (3).
  78. If equipped, disconnect the electrical connector from the brake fluid pressure sensor.

  79. Object Number: 750896  Size: SH
  80. Disconnect the Antilock Brake System (ABS) wiring harness electrical connectors from the left and right wheel speed sensors.

  81. Object Number: 802031  Size: SH

    Important: Note the routing of the ABS wiring harness.

  82. Remove the ABS wiring harness retainers from the following:
  83. • The lower control arms
    • The electric cooling fan

    Object Number: 818791  Size: SH
  84. Remove the ABS wiring harness retainers (2) from the engine frame.
  85. If equipped, disconnect the variable effort steering electrical connector (1) from the power steering gear pigtail.
  86. Remove the transmission fluid cooler pipes. Refer to Transmission Fluid Cooler Hose/Pipe Replacement in Automatic Transmission-5L40-E.
  87. Drain the engine oil. Refer to Engine Oil and Oil Filter Replacement .
  88. Remove the oil filter adapter. Refer to Oil Filter Adapter Replacement .

  89. Object Number: 816388  Size: SH
  90. Remove the right engine mount upper retaining nut.

  91. Object Number: 785353  Size: SH
  92. Remove the left engine mount upper retaining nut.

  93. Object Number: 785877  Size: SH
  94. Remove the transmission manual shift shaft nut.
  95. Disconnect the shift linkage from the transmission.
  96. Place the transmission in neutral by rotating the transmission shift shaft clockwise.

  97. Object Number: 801931  Size: SH
  98. Disconnect the propeller shaft coupler (1) from the transmission flange ONLY. Refer to Propeller Shaft Replacement in Driveline/Axle.

  99. Object Number: 787650  Size: SH
  100. Secure the front propeller shaft (1) to the shift control lever (3) with a piece of mechanics wire (2).

  101. Object Number: 785397  Size: SH
  102. Remove the transmission mount nuts.

  103. Object Number: 785390  Size: SH
  104. Remove the inner transmission support mounting bolts.
  105. Lower the vehicle.
  106. Using a lift jack support the rear of the transmission.

  107. Object Number: 785394  Size: SH
  108. Remove the outer transmission support mounting bolts.

  109. Object Number: 785386  Size: SH
  110. Remove the transmission support from the vehicle.

  111. Object Number: 861151  Size: SH
  112. Install the J 39456 to the engine lift brackets and attach to an engine lift devise.
  113. Important: Ensure clearance is maintained between the engine/transmission assembly and the following:

       • The A/C compressor
       • The A/C hoses
       • The brake pipes at the BPMV
       • The coolant bypass valve
       • The electric cooling fans
       • The engine wiring electrical harness
       • The fuel hoses
       • The power steering pump
       • The radiator
       • The remote power steering fluid reservoir
       • The vehicles tunnel

  114. Alternate between the following in order to remove the engine/transmission assembly from the engine compartment:
  115. • Carefully raise the engine/transmission assembly using the engine lift devise.
    • Lower the lift jack supporting the rear of the transmission enough to clear the vehicles tunnel.
  116. Lower the engine/transmission assembly to the floor.
  117. Important: The following are on-vehicle procedures, use only the portion of the procedure needed for removal of the component.

  118. Remove the following components from the engine if necessary:
  119. •  Afterboil Coolant Pump Replacement in Engine Cooling
    •  Battery Negative Cable Replacement in Engine Electrical
    •  Battery Positive Cable Replacement in Engine Electrical
    •  Coolant Heater Cord Replacement in Engine Cooling
    •  Engine Coolant Inlet Pipe Replacement in Engine Cooling
    •  Generator Replacement in Engine Electrical
    •  Starter Motor Replacement in Engine Electrical
    •  Radiator Surge Tank Outlet Hose/Pipe Replacement in Engine Cooling
    •  Throttle Body Heater Inlet Hose/Pipe Replacement in Engine Cooling

    Object Number: 785762  Size: SH
  120. Remove the 2 bolts (2-4) securing the engine wiring harness ground leads (1-3) to the left cylinder head.

  121. Object Number: 816392  Size: SH
  122. Remove the right engine mount retaining bolts and bracket.

  123. Object Number: 785355  Size: SH
  124. Remove the left engine mount retaining bolts and bracket.
  125. Disconnect the engine wiring harness retainers.
  126. Disconnect the engine wiring harness connectors from the electrical components.

  127. Object Number: 785771  Size: SH
  128. Disconnect the engine wiring harness retaining clips (1) from the transmission mounting bolts.
  129. Important: Note the routing of the engine wiring harness.

  130. Remove the engine wiring harness from the engine.

  131. Object Number: 785863  Size: SH
  132. Remove the transmission close out plug.
  133. Mark the torque converter to flexplate/flywheel orientation to ensure proper realignment.

  134. Object Number: 785758  Size: SH
  135. Remove the torque converter bolt close out plug from the engine block by pulling outward.

  136. Object Number: 785760  Size: SH

    Important: NEW torque converter bolts will be required each time the torque converter bolts are removed.

  137. Repeat the following steps for all 3 torque converter bolts:
  138. 87.1. Rotate the crankshaft center bolt in the engine rotational direction, clockwise using the J 42098 , in order to align the torque converter bolts with the access hole in the engine block.
    87.2. Remove and discard the torque converter bolt. The bolt is self locking and is NOT reusable.

    Object Number: 785862  Size: SH
  139. Remove the 3 lower transmission mounting bolts (1-2).

  140. Object Number: 785861  Size: SH
  141. Remove the 3 upper transmission mounting bolts (2-3).
  142. Pull the transmission free from the engine dowels (1).
  143. With the aid of an assistant remove the transmission from the engine.
  144. Remove the J 39456 from the engine.

Installation Procedure

  1. Install the J 39456 to the engine lift brackets and attach to the engine lift devise.

  2. Object Number: 785861  Size: SH
  3. With the aid of an assistant complete the following:
  4. 2.1. Position the transmission to the engine.
    2.2. Align the engine dowels (1) with the transmission.

    Notice: Refer to Fastener Notice in the Preface section.

  5. Install the transmission mounting bolts (2-3).
  6. Tighten
    Tighten the M12 transmission mounting bolts to 75 N·m (55 lb ft).


    Object Number: 785862  Size: SH
  7. Install the 3 lower transmission mounting bolts (1-2).
  8. Tighten

        • Tighten the M10 transmission mounting bolt (1) to 50 N·m (44 lb ft).
        • Tighten the M12 transmission mounting bolts (2) to 75 N·m (55 lb ft).

    Object Number: 785760  Size: SH
  9. Align the torque converter to flexplate/flywheel orientation marks made during the removal procedure.
  10. Important: Torque converter bolts are self locking and must be replaced with NEW torque converter bolts every time the bolts are removed.

  11. Repeat the following steps for all 3 torque converter bolts:
  12. 6.1. Rotate the crankshaft center bolt in the engine rotational direction, clockwise using the J 42098 , in order to align the torque converter bolt holes in the flexplate/flywheel with the access hole in the engine block.
    6.2. To aid in alignment of the torque converter to the flexplate/flywheel. Install all 3 NEW torque converter bolts before fully tightening.

    Tighten
    Tighten the torque converter bolts to 63 N·m (46 lb ft).


    Object Number: 785758  Size: SH
  13. Press the torque converter bolt close out plug into the engine block.

  14. Object Number: 785863  Size: SH
  15. Install the transmission close out plug.

  16. Object Number: 785771  Size: SH

    Important: Route the engine wiring harness as noted during removal.

  17. Position the engine wiring harness to the engine.
  18. Connect the engine wiring harness retaining clips (1) to the transmission mounting bolts.
  19. Connect the engine wiring harness retainers.
  20. Connect the engine wiring harness connectors to the electrical components.

  21. Object Number: 785355  Size: SH
  22. Install the left engine mount bracket and retaining bolts.
  23. Tighten
    Tighten the engine mount bracket bolts to 60 N·m (44 lb ft).


    Object Number: 816392  Size: SH
  24. Install the right engine mount bracket and retaining bolts.
  25. Tighten
    Tighten the engine mount bracket bolts to 60 N·m (44 lb ft).


    Object Number: 785762  Size: SH
  26. Install the 2 bolts (2-4) securing the engine wiring harness ground leads (1-3) to the left cylinder head.
  27. Tighten

        • Tighten the engine ground lead to left cylinder head bolt (2) to 30 N·m (22 lb ft).
        • Tighten the coil ground to left cylinder head bolt (4) to 50 N·m (37 lb ft).

    Important: The following are on-vehicle procedures, use only the portion of the procedure needed for installation of the component.

  28. Install the following components if previously removed:
  29. •  Afterboil Coolant Pump Replacement in Engine Cooling
    •  Battery Negative Cable Replacement in Engine Electrical
    •  Battery Positive Cable Replacement in Engine Electrical
    •  Coolant Heater Cord Replacement in Engine Cooling
    •  Engine Coolant Inlet Pipe Replacement in Engine Cooling
    •  Generator Replacement in Engine Electrical
    •  Starter Motor Replacement in Engine Electrical
    •  Radiator Surge Tank Outlet Hose/Pipe Replacement in Engine Cooling
    •  Throttle Body Heater Inlet Hose/Pipe Replacement in Engine Cooling

    Object Number: 861151  Size: SH

    Important: Ensure clearance is maintained between the engine/transmission assembly and the following:

       • The A/C compressor
       • The A/C hoses
       • The brake pipes at the BPMV
       • The coolant bypass valve
       • The electric cooling fans
       • The engine wiring electrical harness
       • The fuel hoses
       • The power steering pump
       • The radiator
       • The remote power steering fluid reservoir
       • The vehicles tunnel

  30. Alternate between the following in order to install the engine/transmission assembly into the engine compartment:
  31. • Carefully lower the engine/transmission assembly using the engine lift devise.
    • Position a lift jack under the rear of the transmission in order to aid in aligning the engine mount brackets with the engine mounts.
  32. Remove the J 39456 from the engine lift brackets.

  33. Object Number: 785386  Size: SH
  34. Install the transmission support to the vehicle.

  35. Object Number: 785394  Size: SH
  36. Install the outer transmission support mounting bolts. Do not tighten at this time
  37. Raise and support the vehicle. Refer to Lifting and Jacking the Vehicle in General Information.

  38. Object Number: 785390  Size: SH
  39. Install the inner transmission support mounting bolts.
  40. Tighten
    Tighten the transmission support mounting bolts to 60 N·m (44 lb ft).


    Object Number: 785397  Size: SH
  41. Install the transmission mount nuts.
  42. Tighten
    Tighten the transmission mount nuts to 60 N·m (44 lb ft).


    Object Number: 787650  Size: SH
  43. Remove the mechanics wire (2) securing front propeller shaft (1) to the shift control lever (3).

  44. Object Number: 801931  Size: SH
  45. Install the propeller shaft coupler (1) to the transmission flange. Refer to Propeller Shaft Replacement in Driveline/Axle.

  46. Object Number: 785877  Size: SH
  47. Place the transmission in the park position by rotating the shift shaft fully counter clockwise.
  48. Connect the shift linkage to the transmission.
  49. Install the transmission manual shift shaft nut.
  50. Tighten
    Tighten the transmission manual shift shaft nut to 9 N·m (80 lb in).


    Object Number: 785353  Size: SH
  51. Install the left engine mount upper retaining nut.
  52. Tighten
    Tighten the engine mount nut to 80 N·m (59 lb ft).


    Object Number: 816388  Size: SH
  53. Install the right engine mount upper retaining nut.
  54. Tighten
    Tighten the engine mount nut to 80 N·m (59 lb ft).

  55. Install the transmission fluid cooler pipes. Refer to Transmission Fluid Cooler Hose/Pipe Replacement in Automatic Transmission-5L40-E.
  56. Install the oil filter adapter. Refer to Oil Filter Adapter Replacement .

  57. Object Number: 818791  Size: SH
  58. Secure the ABS wiring harness retainers (2) to the engine frame.
  59. If equipped, connect the variable effort steering electrical connector (1) to the power steering gear pigtail.

  60. Object Number: 802031  Size: SH

    Important: Route the ABS wiring harness as noted during removal.

  61. Secure the ABS wiring harness retainers to the following:
  62. • The lower control arms
    • The electric cooling fan

    Object Number: 750896  Size: SH
  63. Connect the ABS wiring harness electrical connectors to the left and right wheel speed sensors.

  64. Object Number: 772830  Size: SH
  65. Connect the EBCM electrical connector (1) to the EBCM (3).
  66. Rotate the EBCM connector tab (2) down into the locked position.
  67. Install the EBCM connector position assurance retainer (4) to the EBCM electrical connector (1).
  68. If equipped, connect the electrical connector to the brake fluid pressure sensor.
  69. Install the catalytic converter hanger bracket. Refer to Catalytic Converter Hanger Bracket Replacement in Engine Exhaust.
  70. Install the left and right catalytic converters. Refer to Catalytic Converter Replacement - Left Side and Catalytic Converter Replacement - Right Side in Engine Exhaust.
  71. Install the exhaust system. Refer to Exhaust System Replacement in Engine Exhaust.
  72. Lower the vehicle.

  73. Object Number: 785773  Size: SH
  74. Position the A/C compressor to the accessory mounting bracket.
  75. Install the A/C compressor mounting bolts.
  76. Tighten
    Tighten the A/C compressor mounting bolts to 20 N·m (15 lb ft).

  77. Connect the electrical connector to the A/C compressor.

  78. Object Number: 785730  Size: SH
  79. Install the remote power steering fluid reservoir mounting bolts (1, 3).
  80. Tighten

        • Tighten the remote power steering fluid reservoir to intake plenum mounting bolts (1) to 9 N·m (80 lb in).
        • Tighten the remote power steering fluid reservoir to cylinder head mounting bolt (3) to 25 N·m (18 lb ft).

    Object Number: 785764  Size: SH
  81. Connect the following to the remote power steering fluid reservoir (1):
  82. • The vacuum brake booster hose
    • The wiring harness (2)
  83. Connect the vacuum brake booster hose to the vacuum source.

  84. Object Number: 785728  Size: SH
  85. Position the power steering pump to the accessory mounting bracket.
  86. Install the power steering pump mounting bolts.
  87. Tighten
    Tighten the power steering pump mounting bolts in sequence to 35 N·m (26 lb ft).

  88. Install the drive belt. Refer to Drive Belt Replacement .

  89. Object Number: 802720  Size: SH
  90. Install the power steering pressure hose retainer and nut to the A/C compressor stud.
  91. Tighten
    Tighten the power steering hose retaining nut to 8 N·m (71 lb in).


    Object Number: 785766  Size: SH
  92. Connect the retainer (1) securing the engine wiring harness to the A/C pressure hose.

  93. Object Number: 803176  Size: SH
  94. Install the power steering return hose retainer and nut to the A/C compressor stud.
  95. Tighten
    Tighten the power steering hose retaining nut to 8 N·m (71 lb in).


    Object Number: 785777  Size: SH
  96. Connect the electrical connector (1) to the A/C refrigerant pressure switch (2).
  97. Connect the 2 engine wiring harness connectors to the left body rail connectors.
  98. Position the J 38185 to the clamp in order to connect the surge tank outlet hose to the surge tank.

  99. Object Number: 760782  Size: SH
  100. Position the J 38185 to the clamp (1) in order to connect the inlet heater hose to the heater core.

  101. Object Number: 789004  Size: SH
  102. Position the J 38185 to the clamp (1) in order to connect the outlet heater hose to the afterboil coolant pump (2).

  103. Object Number: 785815  Size: MH
  104. Insert the chassis hose/pipes into the retainer (4) located at the ECM bracket.
  105. Close the retainer (4).
  106. Connect the EVAP quick connect fitting (3). Refer to Plastic Collar Quick Connect Fitting Service .
  107. Refer to Metal Collar Quick Connect Fitting Service in order to connect the following quick connect fittings to the fuel rail:
  108. • The feed hose/pipe (2)
    • The return hose/pipe (1)

    Object Number: 756131  Size: SH
  109. Position the J 38185 to the clamp (1) in order to connect the coolant bypass inlet hose to the afterboil coolant pump pipe.

  110. Object Number: 789008  Size: SH
  111. Position the J 38185 to the clamp (2) in order to connect the coolant bypass outlet hose to the coolant inlet pipe.

  112. Object Number: 785753  Size: SH
  113. Position the J 38185 to the clamps in order to connect the surge tank inlet hose to the following:
  114. • The radiator
    • The throttle body assembly
  115. Install the outlet radiator hose. Refer to Radiator Outlet Hose Replacement in Engine Cooling.
  116. Install the inlet radiator hose. Refer to Radiator Inlet Hose Replacement in Engine Cooling.
  117. Fill the cooling system. Refer to Cooling System Draining and Filling in Engine Cooling.

  118. Object Number: 756128  Size: SH
  119. Connect the engine wiring harness connector (1) to the coolant bypass solenoid.

  120. Object Number: 785776  Size: SH
  121. Install the bolt securing the engine wiring harness ground lead to the right body rail.
  122. Tighten
    Tighten the engine wiring harness ground lead bolt to 9 N·m (80 lb in).

  123. Connect the engine wiring harness connector at the right shock tower.
  124. Install the intake air resonator. Refer to Intake Air Resonator Replacement in Engine Controls-2.6L and 3.2L.
  125. Install the air cleaner assembly. Refer to Air Cleaner Assembly Replacement in Engine Controls-2.6L and 3.2L.

  126. Object Number: 796810  Size: SH

    Important: Twisting or tilting of the transmission control module electrical connector while connecting may result in bent or misaligned electrical terminal pins.

  127. Carefully connect the transmission control module electrical connector (1) to the transmission control module.
  128. Lock the transmission control module electrical connector securely to the transmission control module by pushing the retainer (2) toward the electrical connector (1) until fully seated.

  129. Object Number: 772415  Size: SH
  130. Install the nut (1) securing the battery positive cable (2) to the underhood fuse block.
  131. Tighten
    Tighten the battery positive cable to underhood fuse block nut to 15 N·m (11 lb ft).

  132. Connect the battery positive cable to the battery.
  133. Tighten
    Tighten the battery cable to 17 N·m (13 lb ft).

  134. Connect the engine wiring harness electrical connector to the underhood fuse block.

  135. Object Number: 785724  Size: SH
  136. Install the underhood fuse block cover to the underhood fuse block.

  137. Object Number: 772418  Size: SH
  138. Install the bolt (1) securing the battery negative cable to the side rail.
  139. Tighten
    Tighten the battery negative cable to side rail bolt to 36 N·m (27 lb ft).

  140. Connect the body harness connector (3) to the battery negative cable.
  141. Connect the battery negative cable. Refer to Battery Negative Cable Disconnection and Connection in Engine Electrical.
  142. Position the front air inlet panel to the battery tray and cowl.
  143. Install the fasteners securing the front air inlet panel to the battery tray and cowl.
  144. Tighten
    Tighten the front air inlet panel assembly fasteners to 6 N·m (53 lb in).

  145. Install the wiper motor module. Refer to Windshield Wiper System Module Replacement in Wipers/Washer Systems.
  146. Install the hood. Refer to Hood Replacement in Body Front End.
  147. Fill the engine oil. Refer to Engine Oil and Oil Filter Replacement .

Engine Final Test and Inspection

Complete the following procedure after the engine is installed in the vehicle:

  1. With the ignition OFF or disconnected, crank the engine several times. Listen for any unusual noises or evidence that any parts are binding.
  2. Start the engine and listen for abnormal conditions.
  3. Check the vehicle oil pressure gage or light and confirm that the engine has acceptable oil pressure.
  4. Run the engine at approximately 1000 RPM until the engine reaches normal operating temperature.
  5. While the engine continues to idle raise and support the vehicle. Refer to Lifting and Jacking the Vehicle in General Information.
  6. Inspect for oil, coolant and exhaust leaks while the engine is idling.
  7. Lower the vehicle.
  8. Perform the idle learn procedure. Refer to Idle Learn in Engine Controls-2.6L and 3.2L.
  9. Perform a final inspection for the proper engine oil and coolant levels.
  10. Road test the vehicle.

Engine Replacement M35

The following procedure requires the removal of the engine and transmission as an assembly.

Tools Required

    • J 38185 Hose Clamp Pliers
    • J 39456 Universal Engine Tilter

Removal Procedure

  1. Remove the hood. Refer to Hood Replacement in Body Front End.
  2. Remove the wiper motor module. Refer to Windshield Wiper System Module Replacement in Wipers/Washer Systems.
  3. Remove the fasteners securing the front air inlet panel to the battery tray and cowl.
  4. Remove the front air inlet panel from the vehicle.
  5. Disconnect the battery negative cable. Refer to Battery Negative Cable Disconnection and Connection in Engine Electrical.

  6. Object Number: 772418  Size: SH
  7. Remove the bolt (1) securing the battery negative cable to the side rail.
  8. Disconnect the body harness connector (3) from the battery negative cable and secure to the engine.

  9. Object Number: 785724  Size: SH
  10. Depress the tabs in order to remove the underhood fuse block cover from the underhood fuse block.

  11. Object Number: 772415  Size: SH
  12. Remove the nut (1) securing the battery positive cable (2) to the underhood fuse block.
  13. Disconnect the battery positive cable from the battery and secure to the engine.
  14. Disconnect the engine wiring harness electrical connector from the underhood fuse block and secure to the engine.
  15. Remove the air cleaner assembly. Refer to Air Cleaner Assembly Replacement in Engine Controls-2.6L and 3.2L.
  16. Remove the intake air resonator. Refer to Intake Air Resonator Replacement in Engine Controls-2.6L and 3.2L.
  17. Disconnect the engine wiring harness connector at the right shock tower and secure to the engine.

  18. Object Number: 756128  Size: SH
  19. Disconnect the engine wiring harness connector (1) from the coolant bypass solenoid.

  20. Object Number: 785776  Size: SH
  21. Remove the bolt securing the engine wiring harness ground lead to the right body rail.
  22. Drain the cooling system. Refer to Cooling System Draining and Filling in Engine Cooling.

  23. Object Number: 785753  Size: SH
  24. Position the J 38185 to the clamps in order to remove the surge tank inlet hose from the following:
  25. • The radiator
    • The throttle body assembly
  26. Remove the inlet radiator hose. Refer to Radiator Inlet Hose Replacement in Engine Cooling.
  27. Remove the outlet radiator hose. Refer to Radiator Outlet Hose Replacement in Engine Cooling.

  28. Object Number: 789008  Size: SH
  29. Position the J 38185 to the clamp (2) in order to remove the coolant bypass outlet hose from the coolant inlet pipe.

  30. Object Number: 756131  Size: SH
  31. Position the J 38185 to the clamp (1) in order to remove the coolant bypass inlet hose from the afterboil coolant pump pipe.
  32. Relieve the fuel system pressure. Refer to Fuel Pressure Relief in order to disconnect the following quick connect fittings from the fuel rail:

  33. Object Number: 785815  Size: MH
  34. Refer to Metal Collar Quick Connect Fitting Service .
  35. • The return hose/pipe (1)
    • The feed hose/pipe (2)
    • Plug the open outlet ports to prevent fuel loss and contamination.
  36. Disconnect the evaporative emission (EVAP) quick connect fitting (3). Refer to Plastic Collar Quick Connect Fitting Service .
  37. Open the retainer (4) located at the engine control module (ECM) bracket in order to remove the chassis hose/pipes.

  38. Object Number: 789004  Size: SH
  39. Position the J 38185 to the clamp (1) in order to remove the outlet heater hose from the afterboil coolant pump (2).

  40. Object Number: 760782  Size: SH
  41. Position the J 38185 to the clamp (1) in order to remove the inlet heater hose from the heater core.
  42. Position the J 38185 to the clamp in order to remove the surge tank outlet hose from the surge tank and secure to the engine.

  43. Object Number: 785777  Size: SH
  44. Disconnect the electrical connector (1) from the Air Conditioning (A/C) refrigerant pressure sensor (2).
  45. Disconnect the 2 engine wiring harness connectors from the left body rail connectors.

  46. Object Number: 803176  Size: SH
  47. Remove the power steering return hose nut and retainer from the A/C compressor stud.

  48. Object Number: 785766  Size: SH
  49. Disconnect the retainer (1) securing the engine wiring harness to the A/C pressure hose and secure to the engine.

  50. Object Number: 802720  Size: SH
  51. Remove the power steering pressure hose nut and retainer from the A/C compressor stud.
  52. Remove the drive belt. Refer to Drive Belt Replacement .

  53. Object Number: 785728  Size: SH
  54. Remove the power steering pump mounting bolts (1,2,and 3) ONLY.
  55. Remove the power steering pump from the accessory mounting bracket, and position aside.

  56. Object Number: 785764  Size: SH
  57. Disconnect the following from the remote power steering fluid reservoir (1):
  58. • The vacuum brake booster hose
    • The wiring harness (2)
  59. Disconnect the vacuum brake booster hose from the vacuum source.

  60. Object Number: 785730  Size: SH
  61. Remove the remote power steering fluid reservoir mounting bolts (1,3) ONLY, and position aside.

  62. Object Number: 785773  Size: SH
  63. Disconnect the electrical connector from the A/C compressor.
  64. Important: Evacuation of the A/C refrigerant will not be necessary.

  65. Remove the A/C compressor mounting bolts ONLY, and position aside.
  66. Raise and support the vehicle. Refer to Lifting and Jacking the Vehicle in General Information.
  67. Remove the exhaust system. Refer to Exhaust System Replacement in Engine Exhaust.
  68. Remove the left and right catalytic converters. Refer to Catalytic Converter Replacement - Left Side and Catalytic Converter Replacement - Right Side in Engine Exhaust.
  69. Remove the catalytic converter hanger bracket. Refer to Catalytic Converter Hanger Bracket Replacement in Engine Exhaust.

  70. Object Number: 772830  Size: SH
  71. Remove the Electronic Brake Control Module (EBCM) connector position assurance retainer (4) from the EBCM electrical connector (1).
  72. Rotate the EBCM connector tab (2) up into the unlocked position.
  73. Disconnect the EBCM electrical connector (1) from the EBCM (3).
  74. If equipped, disconnect the electrical connector from the brake fluid pressure sensor.

  75. Object Number: 750896  Size: SH
  76. Disconnect the Antilock Brake System (ABS) wiring harness electrical connectors from the left and right wheel speed sensors.

  77. Object Number: 802031  Size: SH

    Important: Note the routing of the ABS wiring harness.

  78. Remove the ABS wiring harness retainers from the following:
  79. • The lower control arms
    • The electric cooling fan

    Object Number: 818791  Size: SH
  80. Remove the ABS wiring harness retainers (2) from the engine frame.
  81. If equipped, disconnect the variable effort steering electrical connector (1) from the power steering gear pigtail.
  82. Drain the engine oil. Refer to Engine Oil and Oil Filter Replacement .
  83. Remove the oil filter adapter. Refer to Oil Filter Adapter Replacement .

  84. Object Number: 816388  Size: SH
  85. Remove the right engine mount upper retaining nut.

  86. Object Number: 785353  Size: SH
  87. Remove the left engine mount upper retaining nut.

  88. Object Number: 802767  Size: SH
  89. Remove the clutch hydraulic hose retaining clip (1) from the clutch slave cylinder.
  90. Pull the clutch hydraulic hose (2) from the clutch slave cylinder.
  91. It is not necessary to plug the lower hose end or slave cylinder fitting as they are equipped with check valves. Only minimal fluid loss may be experienced.


    Object Number: 803962  Size: SH
  92. Disconnect the propeller shaft coupler (1) from the transmission flange ONLY and secure to the shift reaction arm using mechanics wire. Refer to Propeller Shaft Replacement in Driveline/Axle.
  93. Support the rear of the transmission using a suitable screw jack.
  94. Remove the transmission support. Refer to Transmission Support Replacement in Frame and Underbody.

  95. Object Number: 834520  Size: SH
  96. Carefully lower the transmission only enough to access the shift control pins.
  97. Remove the shift control pin retaining clips (1).
  98. Remove the retaining pin (5) from the transmission and disconnect the shift reaction arm (4).
  99. Remove the retaining pin (3) from the transmission and disconnect the shift control arm (2).

  100. Object Number: 785394  Size: SH

    Important: This will support the transmission while the vehicle is lowered.

  101. Install the transmission support to the vehicle.
  102. Install the outer transmission support mounting bolts. Do not tighten.
  103. Lower the screw jack fully.
  104. Remove the screw jack from under the transmission.
  105. Lower the vehicle.
  106. Using a lift jack support the rear of the transmission.
  107. Remove the outer transmission support mounting bolts.

  108. Object Number: 785386  Size: SH
  109. Remove the transmission support from the vehicle.

  110. Object Number: 861151  Size: SH
  111. Install the J 39456 to the engine lift brackets and attach to an engine lift devise.
  112. Important: Ensure clearance is maintained between the engine/transmission assembly and the following:

       • The A/C compressor
       • The A/C hoses
       • The brake pipes at the BPMV
       • The coolant bypass valve
       • The electric cooling fans
       • The engine wiring electrical harness
       • The fuel hoses
       • The power steering pump
       • The radiator
       • The remote power steering fluid reservoir
       • The vehicles tunnel

  113. Alternate between the following in order to remove the engine/transmission assembly from the engine compartment:
  114. • Carefully raise the engine/transmission assembly using the engine lift devise.
    • Lower the lift jack supporting the rear of the transmission enough to clear the vehicles tunnel.
  115. Lower the engine/transmission assembly to the floor.
  116. Important: The following are on-vehicle procedures, use only the portion of the procedure needed for removal of the component.

  117. Remove the following components from the engine if necessary:
  118. •  Afterboil Coolant Pump Replacement in Engine Cooling
    •  Battery Negative Cable Replacement in Engine Electrical
    •  Battery Positive Cable Replacement in Engine Electrical
    •  Coolant Heater Cord Replacement in Engine Cooling
    •  Engine Coolant Inlet Pipe Replacement in Engine Cooling
    •  Generator Replacement in Engine Electrical
    •  Starter Motor Replacement in Engine Electrical
    •  Radiator Surge Tank Outlet Hose/Pipe Replacement in Engine Cooling
    •  Throttle Body Heater Inlet Hose/Pipe Replacement in Engine Cooling

    Object Number: 785762  Size: SH
  119. Remove the 2 bolts (2-4) securing the engine wiring harness ground leads (1-3) to the left cylinder head.

  120. Object Number: 785772  Size: SH
  121. Remove the bolt securing the engine wiring harness retainer to the oil pan.

  122. Object Number: 816392  Size: SH
  123. Remove the right engine mount retaining bolts and bracket.

  124. Object Number: 785355  Size: SH
  125. Remove the left engine mount retaining bolts and bracket.
  126. Disconnect the engine wiring harness retainers.
  127. Disconnect the engine wiring harness connectors from the electrical components.

  128. Object Number: 785771  Size: SH
  129. Disconnect the engine wiring harness retaining clips (1) from the transmission mounting bolts.
  130. Important: Note the routing of the engine wiring harness.

  131. Remove the engine wiring harness from the engine.

  132. Object Number: 801334  Size: SH
  133. Remove the transmission mounting bolts (1,2 and 4).

  134. Object Number: 801333  Size: SH
  135. Remove the remaining transmission mounting bolts (2-4).
  136. With the aid of an assistant remove the transmission from the engine.
  137. Remove the J 39456 from the engine.

Installation Procedure

  1. Install the J 39456 to the engine lift brackets and attach to the engine lift devise.

  2. Object Number: 801333  Size: SH
  3. With the aid of an assistant complete the following:
  4. 2.1. Place the transmission into gear.
    2.2. Position the transmission to the engine.
    2.3. Rotate the output flange in order to align the transmission input shaft with the pressure plate.
    2.4. Align the engine dowels (1) with the transmission.

    Notice: Refer to Fastener Notice in the Preface section.

  5. Install the transmission mounting bolts (2-4).
  6. Tighten

        • Tighten the M12 transmission mounting bolts (2,3) to 75 N·m (55 lb ft).
        • Tighten the M10 transmission mounting bolts (4) to 50 N·m (37 lb ft).

    Object Number: 801334  Size: SH
  7. Install the remaining transmission mounting bolts (1,2 and 4).
  8. Tighten
    Tighten the M12 transmission mounting bolts to 75 N·m (55 lb ft).


    Object Number: 785771  Size: SH

    Important: Route the engine wiring harness as noted during removal.

  9. Position the engine wiring harness to the engine.
  10. Connect the engine wiring harness retaining clips (1) to the transmission mounting bolts.
  11. Connect the engine wiring harness retainers.
  12. Connect the engine wiring harness connectors to the electrical components.

  13. Object Number: 785355  Size: SH
  14. Install the left engine mount bracket and retaining bolts.
  15. Tighten
    Tighten the engine mount bracket bolts to 60 N·m (44 lb ft).


    Object Number: 816392  Size: SH
  16. Install the right engine mount bracket and retaining bolts.
  17. Tighten
    Tighten the engine mount bracket bolts to 60N·m (44 lb ft).


    Object Number: 785772  Size: SH
  18. Install the bolt securing the engine wiring harness retainer to the oil pan.
  19. Tighten
    Tighten the engine wiring harness retainer to oil pan bolt to 50 N·m (37 lb ft).


    Object Number: 785762  Size: SH
  20. Install the 2 bolts (2-4) securing the engine wiring harness ground leads (1-3) to the left cylinder head.
  21. Tighten

        • Tighten the engine ground lead to left cylinder head bolt (2) to 30 N·m (22 lb ft).
        • Tighten the coil ground to left cylinder head bolt (4) to 50 N·m (37 lb ft).

    Important: The following are on-vehicle procedures, use only the portion of the procedure needed for installation of the component.

  22. Install the following components if previously removed:
  23. •  Afterboil Coolant Pump Replacement in Engine Cooling
    •  Battery Negative Cable Replacement in Engine Electrical
    •  Battery Positive Cable Replacement in Engine Electrical
    •  Coolant Heater Cord Replacement in Engine Cooling
    •  Engine Coolant Inlet Pipe Replacement in Engine Cooling
    •  Generator Replacement in Engine Electrical
    •  Starter Motor Replacement in Engine Electrical
    •  Radiator Surge Tank Outlet Hose/Pipe Replacement in Engine Cooling
    •  Throttle Body Heater Inlet Hose/Pipe Replacement in Engine Cooling

    Object Number: 861151  Size: SH

    Important: Ensure clearance is maintained between the engine/transmission assembly and the following:

       • The A/C compressor
       • The A/C hoses
       • The brake pipes at the BPMV
       • The coolant bypass valve
       • The electric cooling fans
       • The engine wiring electrical harness
       • The fuel hoses
       • The power steering pump
       • The radiator
       • The remote power steering fluid reservoir
       • The vehicles tunnel

  24. Alternate between the following in order to install the engine/transmission assembly into the engine compartment:
  25. • Carefully lower the engine/transmission assembly using the engine lift devise.
    • Position a lift jack under the rear of the transmission in order to aid in aligning the engine mount brackets with the engine mounts.
  26. Remove the J 39456 from the engine lift brackets.

  27. Object Number: 785386  Size: SH

    Important: This will support the transmission while the vehicle is raised.

  28. Install the transmission support to the vehicle.

  29. Object Number: 785394  Size: SH
  30. Install the outer transmission support mounting bolts. Do not tighten.
  31. Raise and support the vehicle. Refer to Lifting and Jacking the Vehicle in General Information.
  32. Position a screw jack under the rear of the transmission.
  33. Remove the outer transmission support mounting bolts.
  34. Lower the screw jack only enough to install the shift control pins.

  35. Object Number: 834520  Size: SH
  36. Connect the shift control rod (2) to the transmission and install the retaining pin (3).
  37. Connect the shift reaction arm (4) to the transmission and install the retaining pin (5).
  38. Install the shift control pin retaining clips (1).
  39. Raise the screw jack fully into position.
  40. Install the transmission support. Refer to Transmission Support Replacement in Frame and Underbody.
  41. Remove the screw jack from under the vehicle.
  42. Remove the mechanics wire securing the front propeller shaft to the shift reaction arm.

  43. Object Number: 803962  Size: SH
  44. Install the propeller shaft coupler (1) to the transmission flange. Refer to Propeller Shaft Replacement in Driveline/Axle.

  45. Object Number: 802767  Size: SH
  46. Install the clutch hydraulic hose retaining clip (1) to the clutch slave cylinder.
  47. Important: Ensure the clutch hydraulic hose is routed in an upward direction above the clutch slave cylinder with no sharp bends, kinks, or downward loops, and does not come in contact with any sharp edges or potentially hot surfaces.

  48. Install the clutch hydraulic hose to the vehicle.
  49. Align the clutch hydraulic hose locating tab with the notch in the slave cylinder hose fitting.
  50. Push the clutch hydraulic hose (2) into the clutch slave cylinder until a "click" is heard.
  51. Tug gently on the clutch hydraulic hose (2) to ensure proper retention to the clutch slave cylinder.

  52. Object Number: 785353  Size: SH
  53. Install the left engine mount upper retaining nut.
  54. Tighten
    Tighten the engine mount nut to 80 N·m (59 lb ft).


    Object Number: 816388  Size: SH
  55. Install the right engine mount upper retaining nut.
  56. Tighten
    Tighten the engine mount nut to 80 N·m (59 lb ft).

  57. Install the oil filter adapter. Refer to Oil Filter Adapter Replacement .

  58. Object Number: 818791  Size: SH
  59. Secure the ABS wiring harness retainers (2) to the engine frame.
  60. If equipped, connect the variable effort steering electrical connector (1) to the power steering gear pigtail.

  61. Object Number: 802031  Size: SH

    Important: Route the ABS wiring harness as noted during removal.

  62. Secure the ABS wiring harness retainers to the following:
  63. • The lower control arms
    • The electric cooling fan

    Object Number: 750896  Size: SH
  64. Connect the ABS wiring harness electrical connectors to the left and right wheel speed sensors.

  65. Object Number: 772830  Size: SH
  66. Connect the EBCM electrical connector (1) to the EBCM (3).
  67. Rotate the EBCM connector tab (2) down into the locked position.
  68. Install the EBCM connector position assurance retainer (4) to the EBCM electrical connector (1).
  69. If equipped, connect the electrical connector to the brake fluid pressure sensor.
  70. Install the catalytic converter hanger bracket. Refer to Catalytic Converter Hanger Bracket Replacement in Engine Exhaust.
  71. Install the left and right catalytic converters. Refer to Catalytic Converter Replacement - Left Side and Catalytic Converter Replacement - Right Side in Engine Exhaust.
  72. Install the exhaust system. Refer to Exhaust System Replacement in Engine Exhaust.
  73. Lower the vehicle.

  74. Object Number: 785773  Size: SH
  75. Position the A/C compressor to the accessory mounting bracket.
  76. Install the A/C compressor mounting bolts.
  77. Tighten
    Tighten the A/C compressor mounting bolts to 20 N·m (15 lb ft).

  78. Connect the electrical connector to the A/C compressor.

  79. Object Number: 785730  Size: SH
  80. Install the remote power steering fluid reservoir mounting bolts (1,3).
  81. Tighten

        • Tighten the remote power steering fluid reservoir to intake plenum mounting bolts (1) to 9 N·m (80 lb in).
        • Tighten the remote power steering fluid reservoir to cylinder head mounting bolt (3) to 25 N·m (18 lb ft).

    Object Number: 785764  Size: SH
  82. Connect the following to the remote power steering fluid reservoir (1):
  83. • The vacuum brake booster hose
    • The wiring harness (2)
  84. Connect the vacuum brake booster hose to the vacuum source.

  85. Object Number: 785728  Size: SH
  86. Position the power steering pump to the accessory mounting bracket.
  87. Install the power steering pump mounting bolts.
  88. Tighten
    Tighten the power steering pump mounting bolts in sequence to 35 N·m (26 lb ft).

  89. Install the drive belt. Refer to Drive Belt Replacement .

  90. Object Number: 802720  Size: SH
  91. Install the power steering pressure hose retainer and nut to the A/C compressor stud.
  92. Tighten
    Tighten the power steering hose retaining nut to 8 N·m (71 lb in).


    Object Number: 785766  Size: SH
  93. Connect the retainer (1) securing the engine wiring harness to the A/C pressure hose.

  94. Object Number: 803176  Size: SH
  95. Install the power steering return hose retainer and nut to the A/C compressor stud.
  96. Tighten
    Tighten the power steering hose retaining nut to 8 N·m (71 lb in).


    Object Number: 785777  Size: SH
  97. Connect the electrical connector (1) to the A/C refrigerant pressure switch (2).
  98. Connect the 2 engine wiring harness connectors to the left body rail connectors.
  99. Position the J 38185 to the clamp in order to connect the surge tank outlet hose to the surge tank.

  100. Object Number: 760782  Size: SH
  101. Position the J 38185 to the clamp (1) in order to connect the inlet heater hose to the heater core.

  102. Object Number: 789004  Size: SH
  103. Position the J 38185 to the clamp (1) in order to connect the outlet heater hose to the afterboil coolant pump (2).

  104. Object Number: 785815  Size: MH
  105. Insert the chassis hose/pipes into the retainer (4) located at the ECM bracket.
  106. Close the retainer (4).
  107. Connect the EVAP quick connect fitting (3). Refer to Plastic Collar Quick Connect Fitting Service .
  108. Refer to Metal Collar Quick Connect Fitting Service in order to connect the following quick connect fittings to the fuel rail:
  109. • The feed hose/pipe (2)
    • The return hose/pipe (1)

    Object Number: 756131  Size: SH
  110. Position the J 38185 to the clamp (1) in order to connect the coolant bypass inlet hose to the afterboil coolant pump pipe.

  111. Object Number: 789008  Size: SH
  112. Position the J 38185 to the clamp (2) in order to connect the coolant bypass outlet hose to the coolant inlet pipe.

  113. Object Number: 785753  Size: SH
  114. Position the J 38185 to the clamps in order to connect the surge tank inlet hose to the following:
  115. • The radiator
    • The throttle body assembly
  116. Install the outlet radiator hose. Refer to Radiator Outlet Hose Replacement in Engine Cooling.
  117. Install the inlet radiator hose. Refer to Radiator Inlet Hose Replacement in Engine Cooling.
  118. Fill the cooling system. Refer to Cooling System Draining and Filling in Engine Cooling.

  119. Object Number: 756128  Size: SH
  120. Connect the engine wiring harness connector (1) to the coolant bypass solenoid.

  121. Object Number: 785776  Size: SH
  122. Install the bolt securing the engine wiring harness ground lead to the right body rail.
  123. Tighten
    Tighten the engine wiring harness ground lead bolt to 9 N·m (80 lb in).

  124. Connect the engine wiring harness connector at the right shock tower.
  125. Install the intake air resonator. Refer to Intake Air Resonator Replacement in Engine Controls-2.6L and 3.2L.
  126. Install the air cleaner assembly. Refer to Air Cleaner Assembly Replacement in Engine Controls-2.6L and 3.2L.

  127. Object Number: 772415  Size: SH
  128. Install the nut (1) securing the battery positive cable (2) to the underhood fuse block.
  129. Tighten
    Tighten the battery positive cable to underhood fuse block nut to 15 N·m (11 lb ft).

  130. Connect the battery positive cable to the battery.
  131. Tighten
    Tighten the battery cable to 17 N·m (13 lb ft).

  132. Connect the engine wiring harness electrical connector to the underhood fuse block.

  133. Object Number: 785724  Size: SH
  134. Install the underhood fuse block cover to the underhood fuse block.

  135. Object Number: 772418  Size: SH
  136. Install the bolt (1) securing the battery negative cable to the side rail.
  137. Tighten
    Tighten the battery negative cable to side rail bolt to 36 N·m (27 lb ft).

  138. Connect the body harness connector (3) to the battery negative cable.
  139. Connect the battery negative cable. Refer to Battery Negative Cable Disconnection and Connection in Engine Electrical.
  140. Position the front air inlet panel to the battery tray and cowl.
  141. Install the fasteners securing the front air inlet panel to the battery tray and cowl.
  142. Tighten
    Tighten the front air inlet panel assembly fasteners to 6 N·m (53 lb in).

  143. Install the wiper motor module. Refer to Windshield Wiper System Module Replacement in Wipers/Washer Systems.
  144. Install the hood. Refer to Hood Replacement in Body Front End.
  145. Fill the engine oil. Refer to Engine Oil and Oil Filter Replacement .

Engine Final Test and Inspection

Complete the following procedure after the engine is installed in the vehicle:

  1. With the ignition OFF or disconnected, crank the engine several times. Listen for any unusual noises or evidence that any parts are binding.
  2. Start the engine and listen for abnormal conditions.
  3. Check the vehicle oil pressure gauge or light and confirm that the engine has acceptable oil pressure.
  4. Run the engine at approximately 1000 RPM until the engine reaches normal operating temperature.
  5. While the engine continues to idle raise and support the vehicle. Refer to Lifting and Jacking the Vehicle in General Information.
  6. Inspect for oil, coolant and exhaust leaks while the engine is idling.
  7. Lower the vehicle.
  8. Perform the idle learn procedure. Refer to Idle Learn in Engine Controls-2.6L and 3.2L.
  9. Perform a final inspection for the proper engine oil and coolant levels.
  10. Road test the vehicle.