GM Service Manual Online
For 1990-2009 cars only
Makes
🢒
Cadillac
🢒
1997
🢒
Catera
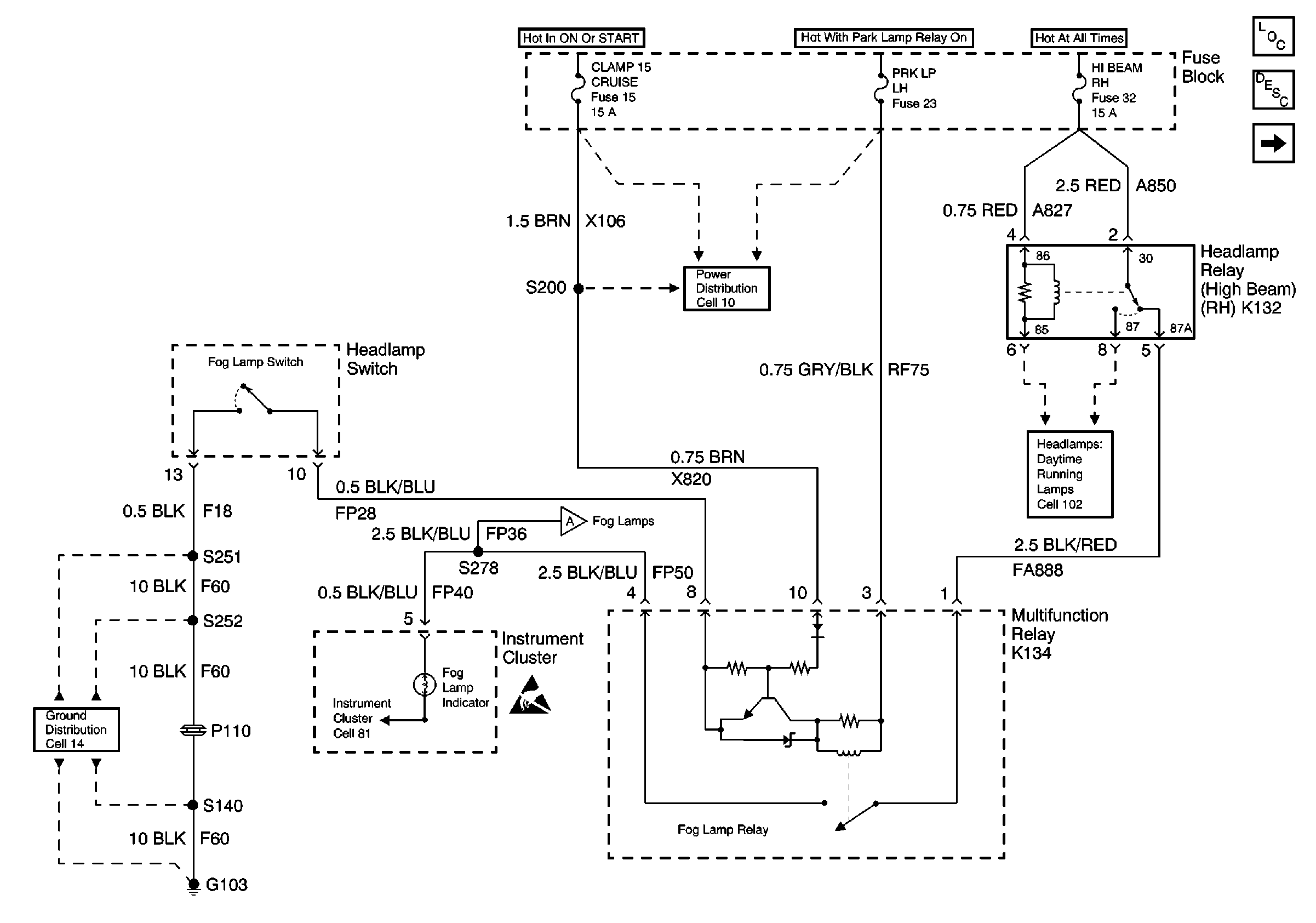
🢒 Cell 103 Fog Lamp Switch and Multifunction Relay K134
Cell 103 Fog Lamp Switch and Multifunction Relay K134
Cell 103 Fog Lamp Switch and Multifunction Relay K134
Lighting Systems Components
Fog Lights Circuit Description
Cell 103 LH and RH Fog Lamps
Cell 103 LH and RH Fog Lamps
Power Distribution Schematics
Cell 102 DRL Relay K133, LH and RH Hi Beam Headlamp Relays, and BCM
Handling Electrostatic Discharge Sensitive Parts Notice
Ground Distribution Schematics
Cell 81: Instrument Cluster Speedometer and Tachometer