GM Service Manual Online
For 1990-2009 cars only

Object Number: 241204  Size: LF
Body Control Module Components
Cell 51: Multifunction Relay K134
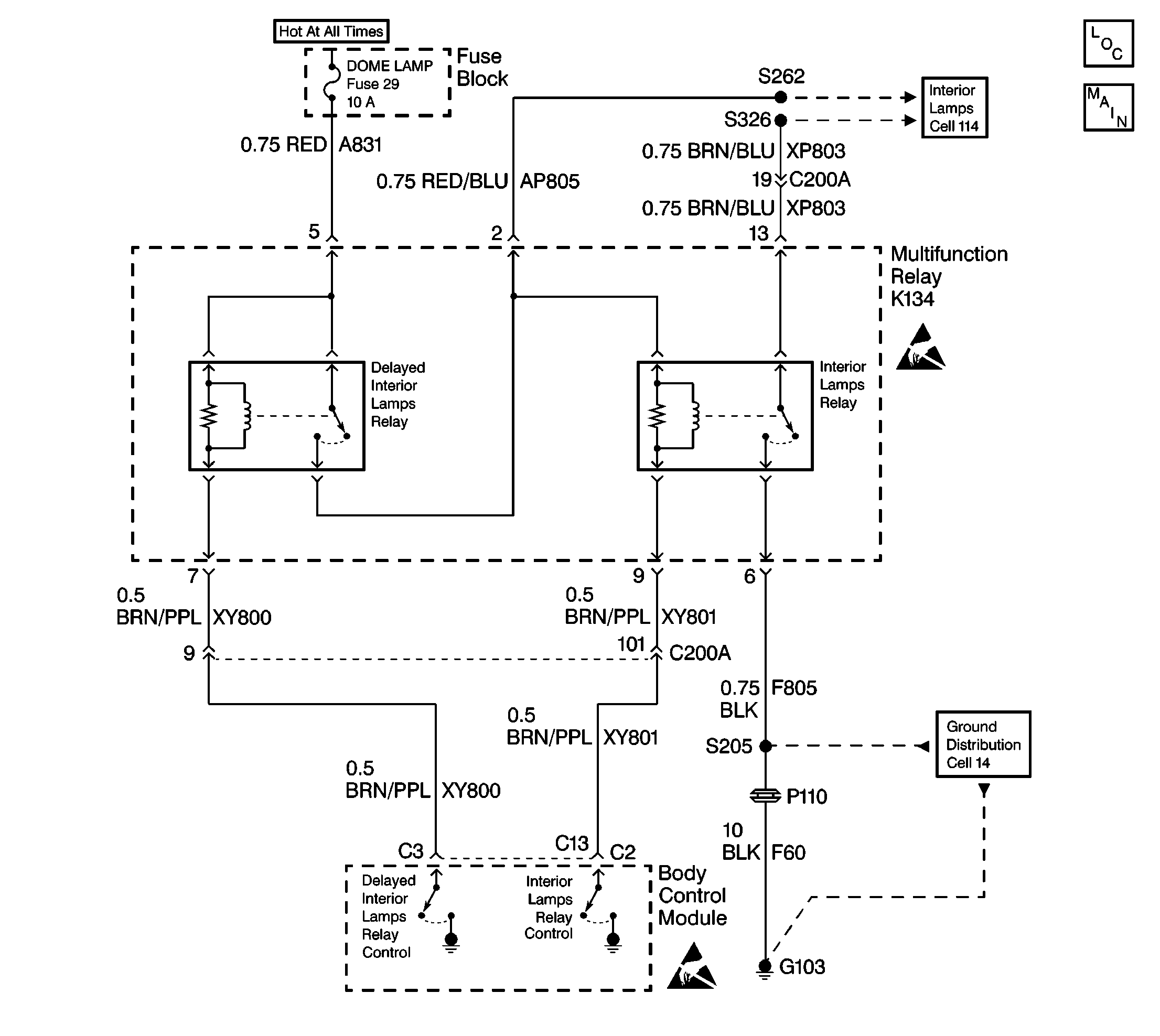
Cell 114 BCM, Multifunction Relay K134, and Front Side Door Jamb Switch
Handling ESD Sensitive Parts Notice
Cell 14 Transmission Control Module, Multifunction Relay, and WSW Motor
Handling ESD Sensitive Parts Notice

Circuit Description

The BCM operates the interior lamps using the delayed interior lamps (DIL) relay and the interior lamp relay. When the DIL relay is energized, the relay provides battery power to the coil of the interior lamp relay. Upon receiving various inputs, the BCM commands the interior lamps ON by energizing the interior lamp relay at terminal C13. When the relay is energized, the relay provides a ground path for the interior lamps.

Conditions for Setting the DTC

The BCM monitors the output to the interior lamps relay every second at terminal C13. The fault code is set only when the DIL relay is active, a DTC B1971 is not set and the feedback doesn't match the commanded state for 2 seconds (open circuit, short to B+ or ground).

Action Taken When the DTC Sets

    • The BCM continues to command the requested state until the state is achieved or until the state changes.
    • Stores a DTC B2471 in the BCM memory. The problem may intermittent if the DTC is a history DTC.

Conditions for Clearing the DTC

    • The conditions for the fault are no longer present.
    • Use a scan tool.
    • A history DTC will clear after 50 ignition cycles if the condition for the fault is no longer present.

Diagnostic Aids

Check for the following conditions if a history DTC is indicated:

    • A damaged wiring harness. Inspect the wiring harness for damage. If the wiring harness appears to be in good condition, observe the display on the DMM while moving the connectors and wiring harnesses related to the circuits. A change in the DMM display during this test will indicate the location of the fault.
    • For additional information, refer to Intermittents and Poor Connections Diagnosis

Test Description

The following numbers refer to the step numbers on the diagnostic table:

  1. This step uses a scan tool to test the interior lamp operation and to verify if the fault is present.

  2. This step tests for an intermittent condition in the circuits that can cause a DTC B2471 to set.

  3. After verifying that no circuit problems exist and the multifunction relay is OK, the BCM is most likely at fault. The BCM needs to be programmed after installation.

Step

Action

Value(s)

Yes

No

1

Did you perform the BCM System Check?

--

Go to Step 2

Go to Diagnostic System Check - Body Control System

2

  1. Connect the scan tool to the data link connector (DLC).
  2. Select INTERIOR LAMPS from the Light Test Menu in Special Functions.
  3. Press the ON button then press the OFF button and monitor interior lamp operation.

Did the interior lamps light when commanded ON?

--

Go to Step 3

Go to Step 4

3

  1. Problem is not current at this time. Test terminal C13 connector C2 of the BCM for a poor connection.
  2. Test CKT XY801 (BRN/PPL) for an intermittent open, short to ground or voltage.

Were any repairs made?

--

Go to Step 12

--

4

  1. With a DMM backprobe BCM connector C2 terminal C13.
  2. Command the interior lamps relay OFF with the scan tool.
  3. Measure the voltage.

Is the measured voltage at the specified value?

B+

Go to Step 5

Go to Step 6

5

  1. Remove the multifunction relay.
  2. Command the interior lamp relay ON.
  3. Measure the voltage.

Is the voltage at terminal C13 less than the specified value?

1 V

Go to Step 11

Go to Step 10

6

  1. Disconnect BCM connector C2.
  2. Measure the resistance from terminal 9 of the multifunction relay to BCM connector C2 terminal C13 (CKT XY801).

Was an open found in CKT™XY801?

--

Go to Step 8

Go to Step 7

7

Measure the resistance from BCM connector C2 terminal C13 (CKT XY801) to a good ground.

Is the measured resistance at the specified value?

OL

Go to Step 13

Go to Step 9

8

Locate and repair the open circuit in CKT XY801.

Is the repair complete?

--

Go to Step 12

--

9

Locate and repair the short to ground in CKT XY801.

Is the repair complete?

--

Go to Step 12

--

10

Locate and repair the short to B+ in CKT XY801.

Is the repair complete?

--

Go to Step 12

--

11

Important:  Perform the set up procedure for the BCM.

Replace the BCM. Refer to Body Control Module Replacement .

Is the replacement complete?

--

Go to Step 12

--

12

  1. Install the scan tool in order to clear any BCM DTCs.
  2. Verify proper Interior lamp operation.
  3. Retest for DTC B2471.

Did a current DTC B2471 set?

--

Go to Step 2

System OK

13

Replace the multifunction relay.

Is the replacement complete?

--

Go to Step 12

--