GM Service Manual Online
For 1990-2009 cars only
Makes
🢒
Cadillac
🢒
1999
🢒
Catera
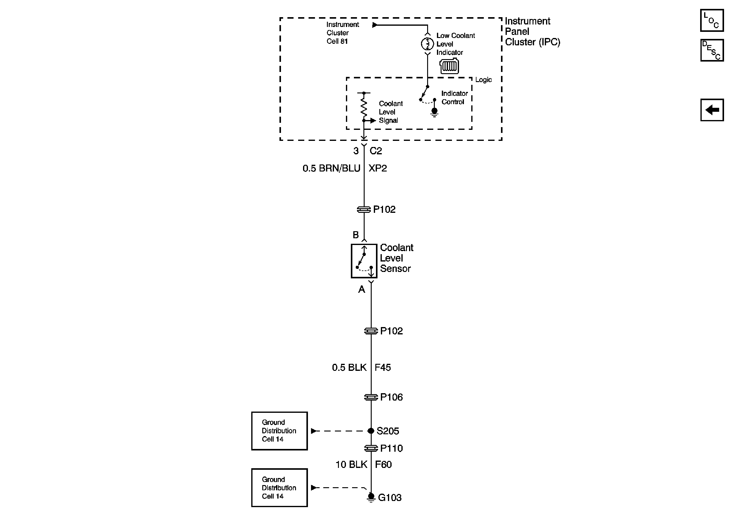
🢒 Coolant Level Indicator
Coolant Level Indicator
Coolant Level Indicator
Cooling System Component Views LH Side of Engine Compartment
V Car Engine Cooling Schematics (Auxiliary Engine Cooling Fan #2
Instrument Cluster: Analog Schematics
Ground Distribution Schematics
Ground Distribution Schematics