GM Service Manual Online
For 1990-2009 cars only

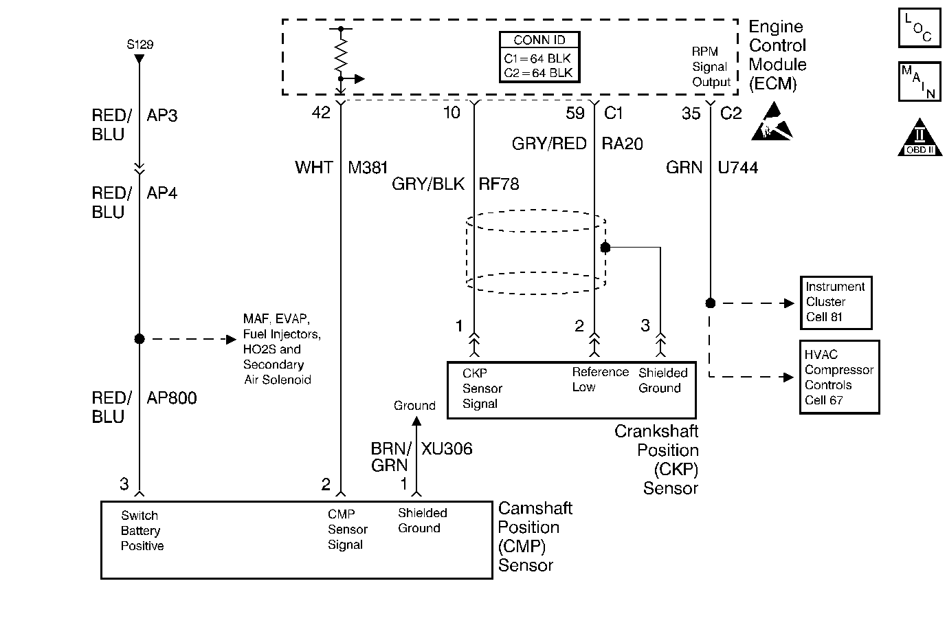
Object Number: 414201  Size: MF
Handling ESD Sensitive Parts Notice
Engine Controls Components
Cell 20: Engine Data Sensors
OBD II Symbol Description Notice

Circuit Description

The crankshaft position (CKP) sensor works in conjunction with a 58 tooth reluctor wheel on the crankshaft. The engine control module (ECM) monitors the voltage between the CKP sensor signal circuits. As each reluctor wheel tooth rotates past the sensor, the sensor creates an analog signal. This analog signal is processed by the ECM. The reluctor wheel teeth are 6 degrees apart. Having only 58 teeth leaves a 12 degree span that is uncut. This creates a signature pattern that enables the ECM to determine the crankshaft position. The ECM can determine which two cylinders are approaching the top center based on the CKP signal alone. The camshaft position (CMP) sensor signal is used in order to determine which of the two cylinders is on a firing stroke. The ECM can then properly synchronize the ignition system, the fuel injectors, and the knock control. This sensor is also used in order to detect misfire. Refer to DTC P0300 for information on misfire detection.

Conditions for Running the DTC

The ECM has detected CMP sensor pulses.

Conditions for Setting the DTC

The ECM has detected no CKP sensor pulses.

Action Taken When the DTC Sets

The ECM illuminates the malfunction indicator lamp (MIL) and records the operating conditions in the Freeze Frame on the second consecutive drive trip that the diagnostic runs and fails.

Conditions for Clearing the MIL/DTC

    • The ECM turns OFF the MIL after three consecutive drive trips that the diagnostic runs and passes.
    • A History DTC clears after forty consecutive warm-up cycles in which no failures are reported by this diagnostic or any other emission related diagnostic.
    • The ECM battery voltage is interrupted.
    • The scan tool clears the MIL/DTC.

Diagnostic Aids

Notice: Using the J 35616-A Connector Test Adapter Kit will prevent damage to the harness connector terminals.

Use the Connector Test Adapter Kit J 35616 for any test that requires probing the ECM harness connector or a component harness connector.

Check for the following conditions:

    • Poor connections at the ECM or at the component--Inspect the harness connectors for any backed out terminals, improper mating, broken locks, improperly formed or damaged terminals, and poor terminal to wire connection. Refer to Wiring Repairs or Engine Control Module Diagnosis , Checking Terminal Contact for the proper procedure.
    • Misrouted harness--Inspect the harness in order to ensure that the harness is not routed too close to any high voltage wires such as spark plug leads, or too close to any high current devices such as the alternator, the motors, the solenoids, etc.
    • Damaged harness--Inspect the wiring harness for any damage. If the harness appears to be OK, observe the scan tool while moving the related connectors and the wiring harnesses. A change in the display may help in order to locate the fault.
        If the sensor signal is only affected when the harness is moved at a component, and there is no problem with the harness or the connections, the component may be damaged.
    •  Check the sensor for a proper installation. A sensor that is loose or not fully seated (causing an excessive air gap between the sensor and the reluctor wheel) may cause this DTC to set.

Refer to Symptoms for the Intermittents.

Test Description

The numbers below refer to the step numbers on the diagnostic table.

  1. This step checks for proper CKP sensor resistance.

  2. This step checks the CKP circuits for a short to ground. The DMM should indicate OL.

  3. This step checks if the cause of incorrect resistance is the sensor or the circuits.

  4. This step checks for a short to voltage.

  5. This step checks for proper CKP voltage output at engine cranking speed.

  6. This step checks if the cause of incorrect resistance is the sensor or the circuits.

DTC P0335 - Crankshaft Position (CKP) Sensor Circuit

Step

Action

Values

Yes

No

1

Did you perform the Powertrain On-Board Diagnostic (OBD) System check?

--

Go to Step 2

Go to Powertrain On Board Diagnostic (OBD) System Check

2

Attempt to start the engine.

Does the engine start and run?

--

Go to Diagnostic Aids

Go to Step 3

3

  1. Turn OFF the ignition.
  2. Disconnect the ECM.
  3. Connect the J 39200 DMM to the two CKP sensor circuit terminals at the ECM connector.
  4. Measure the resistance of the circuit.

Is the resistance within the specified value range?

774-946 ohms @ 20°C (68°F)

Go to Step 4

Go to Step 5

4

  1. Using the J 39200 DMM, individually check the harness for continuity between both of the CKP sensor circuits and the battery ground. The DMM should indicate OL.
  2. Using the J 39200 DMM, individually check the harness for continuity between both of the CKP sensor circuits and the shielded ground circuit terminal at the ECM connector. The DMM should indicate OL.
  3. Refer to the electrical schematic diagrams for a complete wiring view of the shield ground.

Is continuity indicated?

--

Go to Step 8

Go to Step 6

5

  1. Disconnect the CKP sensor.
  2. Inspect both CKP sensor circuits between the CKP sensor connector and the ECM connector for continuity. The DMM should indicate very low resistance.
  3. Inspect for a short between the two CKP sensor circuits. The DMM should indicate OL.
  4. Inspect for proper terminal contact at the CKP sensor and ECM connectors.
  5. Repair the wiring as necessary. Refer to Wiring Repairs in Wiring Systems.

Was a problem found and corrected?

--

Go to Step 15

Go to Step 12

6

  1. Turn ON the ignition.
  2. Using the J 39200 DMM, individually check the harness for voltage between both of the CKP sensor circuits and the battery ground.

Does the digital multimeter (DMM) indicate voltage?

--

Go to Step 9

Go to Step 7

7

  1. Turn OFF the ignition.
  2. Connect the J 39200 DMM to the two CKP sensor circuit terminals at the ECM connector.
  3. Set the DMM to measure AC voltage on the 4 volt scale.
  4. Observe the AC voltage while cranking the engine.

Does the digital multimeter (DMM) indicate greater than the specified voltage?

2 V

Go to Step 13

Go to Step 11

8

  1. Disconnect the CKP sensor.
  2. Inspect both CKP sensor circuits for continuity between the ECM harness connector terminals and the battery ground.

Does the digital multimeter (DMM) indicate continuity to battery ground?

--

Go to Step 10

Go to Step 11

9

Repair the short to voltage in the effected CKP circuit. Refer to Wiring Repairs in Wiring Systems.

Is the action complete?

--

Go to Step 15

--

10

Repair the short to ground in the effected CKP circuit. Refer to Wiring Repairs in Wiring Systems.

Is the action complete?

--

Go to Step 15

--

11

Check the CKP sensor for the following conditions:

    • Poor connections/terminal tension at the CKP sensor harness connector. Refer to Wiring Repairs in Wiring Systems.
    • Check the sensor for proper installation. A sensor that is loose or not fully seated could cause an excessive air gap between the sensor and the reluctor wheel.

Did you find and correct a problem?

--

Go to Step 15

Go to Step 12

12

Replace the CKP sensor. Refer to Crankshaft Position Sensor Replacement .

Is the action complete?

--

Go to Step 15

--

13

Check for a poor connection or poor terminal tension at the ECM connector. Refer to Wiring Repairs in Wiring Systems.

Did you find and correct a problem?

--

Go to Step 15

Go to Step 14

14

Important: 

   • Perform the Idle Learn Procedure when replacing the ECM or throttle body.
   • This vehicle is equipped with a theft deterrent system which interfaces with the Engine Control Module. Program the new ECM with the frequency code of the theft deterrent module that is currently on the vehicle.

Replace the ECM. Refer to Engine Control Module Replacement/Programming .

Is the action complete?

--

Go to Step 15

--

15

  1. Use a scan tool in order to clear the DTCs.
  2. Start the engine.
  3. Allow the engine to idle until the engine reaches the normal operating temperature.
  4. Select the DTC and the Specific DTC function.
  5. Enter the DTC number that was set.
  6. Operate the engine within the Conditions for Running this DTC until the scan tool indicates the diagnostic Ran.

Does the scan tool indicate the diagnostic Passed?

--

Go to Step 16

Go to Step 2

16

Does the scan tool display any additional, undiagnosed DTCs?

--

Go to the applicable DTC table

System OK