GM Service Manual Online
For 1990-2009 cars only

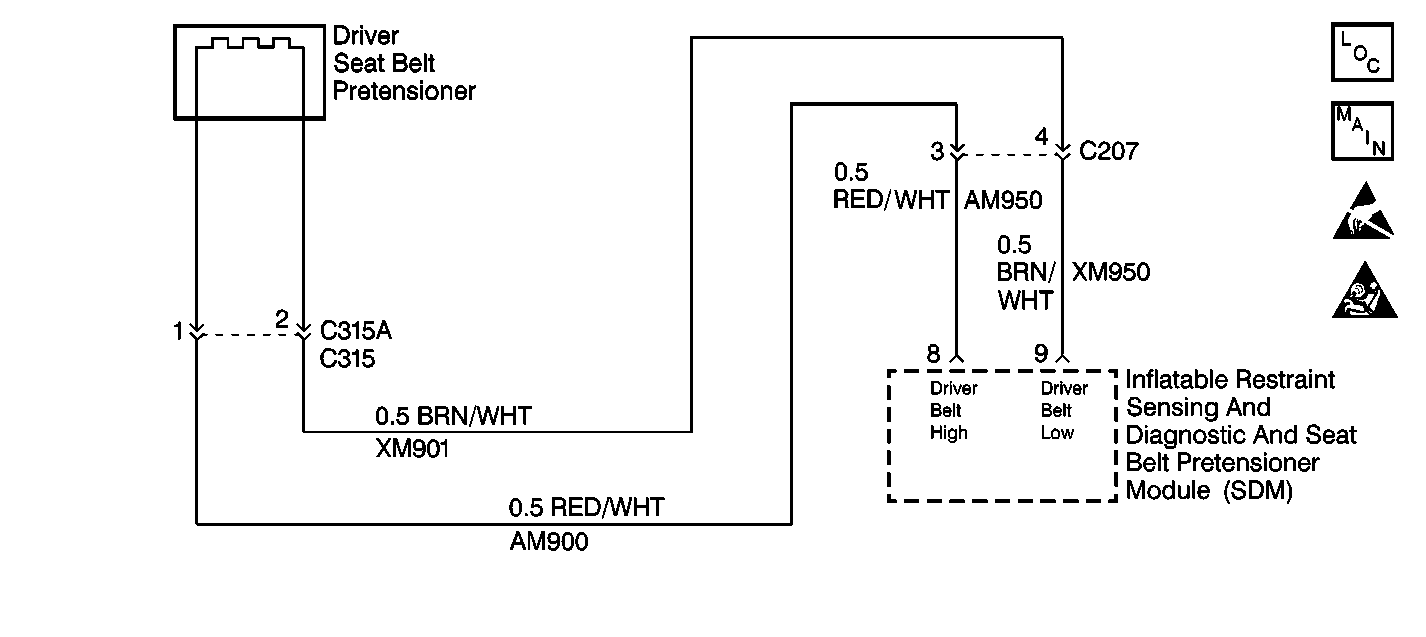
Object Number: 450968  Size: SF
SIR Components
SIR Schematics
SIR Caution
Handling ESD Sensitive Parts Notice

Circuit Description

When the ignition switch is turned to the ON position, the inflatable restraint sensing and diagnostic and seat belt pretensioner module (SDM) performs tests to diagnose critical malfunctions within itself. The SDM monitors the six deployment loops to detect leakage currents to B+ in the frontal air bag deployment loops, the side air bag deployment loops and the seat belt pretensioner deployment loops. Then, the SDM proceeds with the RESISTANCE MEASUREMENT test to measure the deployment loop resistances to ensure they are within their respective normal resistance ranges. Upon passing these tests, the energy reserve is charged and the firing transistors are tested. The SDM then goes into CONTINUOUS MONITORING mode. The SDM service wait time is 1 minute. Refer to ENABLE/DISABLE procedures.

Conditions for Setting the DTC

    • The ignition is within normal operating voltage range.
    • The measured leakage currents to voltage are above a specified value caused by a short to voltage in the driver seat belt pretensioner deployment loop.

Action Taken When the DTC Sets

    • The SDM sets a DTC 16.
    • The SDM turns ON the AIR BAG warning lamp.

Conditions for Clearing the DTC

Current and History DTC codes must be cleared using a scan tool Clear DTC Information command. If the circuit fault has been successfully repaired and the conditions which caused the Current DTC 16 to set are no longer present, History DTC 16 will set. History DTC 16 may be cleared using the scan tool.

Diagnostic Aids

A short to voltage in the driver seat belt pretensioner deployment loop can cause an intermittent condition. Inspect CKT AM950, CKT AM900, CKT XM950, and CKT XM901 carefully for cutting and/or chafing. A careful inspection of the circuits and components indicated on the DTC 16 Table is essential to make sure that the replacement SDM will not be damaged.

Test Description

The numbers below refer to step numbers on the diagnostic table.

  1. This step checks to see if the driver seat belt pretensioner is defective.

  2. This step checks to see if terminal 8 or terminal 9 of the SDM wiring harness connector is damaged or corroded.

  3. This step checks for a short to B+ in CKT AM950 or CKT AM900.

  4. This step determines if there is a short to B+ in CKT XM950 or CKT XM901 or if there is a malfunctioning SDM.

DTC 16 Driver Seat Belt Pretensioner Deployment Loop Short to Voltage

Step

Action

Value(s)

Yes

No

1

Was the SIR Diagnostic System Check performed?

--

Go to Step 2

Go to SIR Diagnostic System Check

2

  1. Turn the ignition switch to the OFF position.
  2. Remove the ignition key from the ignition switch.
  3. Wait 1 minute for the SDM energy reserve capacitors to discharge.
  4. Disconnect the driver seat belt pretensioner 2-way connector from inline connector C315. Refer to Seat Belt Buckle Pretensioner Replacement - LH .
  5. Use the J 38715-40 adaptor to connect the J 38715-A SIR Driver/Passenger Load Tool BASE OF COLUMN connector to inline connector C315.
  6. Turn the ignition switch to the ON position.
  7. Install the scan tool.
  8. Use the scan tool to request the SIR DTC display.

Is DTC 16 current?

--

Go to Step 4

Go to Step 3

3

  1. Turn the ignition switch to the OFF position.
  2. Remove the ignition key from the ignition switch.
  3. Wait 1 minute for the SDM energy reserve capacitors to discharge.
  4. Replace the driver seat belt pretensioner. Refer to Seat Belt Buckle Pretensioner Replacement - LH .

Is the repair complete?

--

Go to Step 13

--

4

  1. Turn the ignition switch to the OFF position.
  2. Remove the ignition key from the ignition switch.
  3. Wait 1 minute for the SDM energy reserve capacitors to discharge.
  4. Remove the J 38715-A SIR Driver/Passenger Load Tool.
  5. Disconnect the inflatable restraint sensing and diagnostic and seat belt pretensioner module (SDM). Refer to Inflatable Restraint Sensing and Diagnostic and Seat Belt Pretensioner Module Replacement .
  6. Check terminal 8 and terminal 9 of the SDM wiring harness connector for damaged terminals or corrosion.

Are the SDM wiring harness connector terminals damaged or corroded?

--

Go to Step 5

Go to Step 7

5

Use the J 42250 Catera Terminal Repair Kit to repair the SDM wiring harness connector.

Is the repair complete?

--

Go to Step 6

--

6

Check for a proper connection at terminal 8 and terminal 9 of the SDM.

Are the SDM terminals damaged or corroded?

--

Go to Step 8

Go to Step 13

7

Check for a proper connection at terminal 8 and terminal 9 of the SDM.

Are the SDM terminals damaged or corroded?

--

Go to Step 8

Go to Step 9

8

Replace the SDM. Refer to Inflatable Restraint Sensing and Diagnostic and Seat Belt Pretensioner Module Replacement .

Is the repair complete?

--

Go to Step 13

--

9

  1. Install the J 42113 SIR Shorting Bar Tool into the SDM wiring harness connector above terminal 8 and terminal 9.
  2. Turn the ignition switch to the ON position.
  3. Use the J 39200 Digital Multimeter (DMM) to measure the voltage between terminal 8 of the SDM wiring harness connector and a known good ground.

Is the measured voltage more than the specified value?

1 V

Go to Step 10

Go to Step 11

10

  1. Locate a short to B+ in CKT AM950 or CKT AM900.
  2. Repair the short to B+ in CKT AM950 or CKT AM900.

Is the repair complete?

--

Go to Step 13

--

11

Use the J 39200 Digital Multimeter (DMM) to measure the voltage between terminal 9 of the SDM wiring harness connector and a known good ground.

Is the measured voltage more than the specified value?

1 V

Go to Step 12

Go to Sensing and Diagnostic Module Integrity Check

12

  1. Locate a short to B+ in CKT XM950 or CKT XM901.
  2. Repair the short to B+ in CKT XM950 or CKT XM901.

Is the repair complete?

--

Go to Step 13

--

13

Reconnect all the SIR components, making sure all the components are properly mounted.

Have all SIR components been reconnected and properly mounted?

--

Go to Step 14

--

14

Use the scan tool to clear all current and history SIR DTCs.

Have all current and history SIR DTCs been cleared?

--

Go to SIR Diagnostic System Check

--