GM Service Manual Online
For 1990-2009 cars only

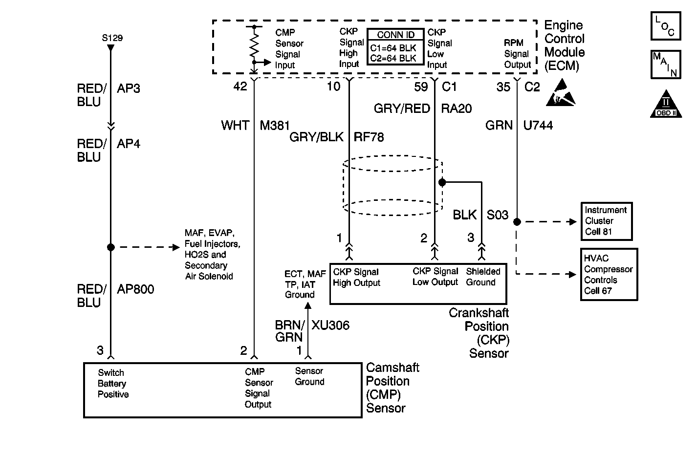
Object Number: 667805  Size: MF
Handling ESD Sensitive Parts Notice
Engine Controls Components
Engine Data Sensors
OBD II Symbol Description Notice

Circuit Description

The camshaft position (CMP) sensor works in conjunction with a single tooth reluctor wheel on the bank 2 intake camshaft. The engine control module (ECM) pulls up the CMP sensor signal circuit to 5 volts and monitors this voltage. As the reluctor wheel tooth rotates past the sensor, the sensors internal circuitry pulls the signal circuit to ground, creating a square wave signal that is used by the ECM. The reluctor wheel tooth covers 180 degrees of the camshaft circumference. This causes the CMP signal voltage to transition once per crankshaft revolution. This signal, when combined with the crankshaft position (CKP) sensor signal, enables the ECM to determine exactly which cylinder is on a firing stroke. The ECM can then properly synchronize the ignition system, the fuel injectors, and the knock control. Note: that as long as the CKP signal is available, the engine can start and run, even if there is no CMP sensor signal the ECM will default to a non-sequential fuel injector operation.

Conditions for Running the DTC

Engine running

Conditions for Setting the DTC

The CMP signal is not rational.

Action Taken When the DTC Sets

The ECM illuminates the malfunction indicator lamp (MIL) and records the operating conditions in the Freeze Frame on the second consecutive drive trip that the diagnostic runs and fails.

Conditions for Clearing the MIL/DTC

    • The ECM turns OFF the MIL after 3 consecutive drive trips that the diagnostic runs and passes.
    • A History DTC clears after forty consecutive warm-up cycles in which no failures are reported by this diagnostic or any other emissions related diagnostic.
    • The scan tool clears the MIL/DTC.

Diagnostic Aids

Use the J 35616 connector test adapter kit for any test that requires probing the ECM harness connector or a component harness connector. Using this kit prevents damage to the harness or component terminals. Refer to Using Connector Test Adapters in Wiring Systems. For an intermittent, refer to Symptoms .

This DTC will set with an intermittent failure of the switched battery positive feed, the CMP sensor signal circuit, or the sensor ground. A hard failure of any one of these circuits should set DTC P0340.

Check for the following conditions:

    • Poor connections at the ECM or at the component--Inspect the harness connectors for any backed out terminals, improper mating, broken locks, improperly formed or damaged terminals, and poor terminal to wire connection.
    • A damaged harness--Inspect the wiring harness for any damage.

If a repair is necessary refer to Wiring Repairs or Connector Repairs in Wiring Systems.

Test Description

The numbers below refer to the step numbers on the diagnostic table.

  1. This step tests for an intermittent open or high resistance in the CMP sensor signal and ground circuits.

  2. This step tests for an intermittent short between the CMP signal and ground circuits.

  3. This step tests for an intermittent short to voltage or short to ground on the CMP signal circuit.

DTC P0341 - Camshaft Position (CMP) Sensor Circuit Performance

Step

Action

Values

Yes

No

1

Did you perform the Powertrain On-Board Diagnostic (OBD) System Check?

--

Go to Step 2

Go to Powertrain On Board Diagnostic (OBD) System Check

2

  1. Disconnect the ECM and CMP sensor connectors.
  2. Test for poor connections, poor terminal tension or signs of corrosion. Refer to Testing for Intermittent Conditions and Poor Connections and in Wiring Systems.
  3. Repair the condition as necessary. Refer to Connector Repairs in Wiring Systems.

Did you find and correct the condition?

--

Go to Step 9

Go to Step 3

3

Using a DMM, test the resistance of the CMP sensor signal and ground circuits individually while moving the harness in various locations, refer to Testing for Intermittent Conditions and Poor Connections in Wiring Systems. Both of the circuits should measure low resistance. A fluctuation in the resistance will indicate the area of a possible concern, refer to Wiring Repairs in Wiring Systems.

Did you find and correct the condition?

--

Go to Step 9

Go to Step 4

4

Using a DMM, test the CMP sensor signal and ground circuits for continuity between them while moving the harness in various locations, refer to Testing for Intermittent Conditions and Poor Connections and Wiring Repairs in Wiring Systems. The DMM should indicate OL.

Did you find and correct the condition?

--

Go to Step 9

Go to Step 5

5

  1. Connect the ECM.
  2. Start the engine.
  3. Measure the voltage on the signal circuit at the CMP sensor connector while moving the harness in various locations.

Does the voltage go outside of the specified range?

4.5-4.9 V

Go to Step 7

Go to Step 6

6

  1. Inspect the camshaft position sensor wiring harness routing. The harness should not be routed near any high voltage sources.
  2. Reroute or remove the cause of the interference.

Did you find and correct the condition?

--

Go to Step 9

Go to Step 8

7

Repair the circuit as necessary, refer to Wiring Repairs in Wiring Systems.

Is the action complete?

--

Go to Step 9

--

8

Replace the camshaft position sensor. Refer to Camshaft Position Sensor Replacement .

Is the action complete?

--

Go to Step 9

--

9

  1. Using the scan tool, clear the DTCs.
  2. Start the engine.
  3. Allow the engine to idle until the engine reaches the normal operating temperature.
  4. Select DTC and the Specific DTC function.
  5. Enter the DTC number that was set.
  6. Operate the vehicle within the Conditions for Running this DTC until the scan tool indicates that the diagnostic Ran.

Does the scan tool indicate that the diagnostic Passed?

--

Go to Step 10

Go to Step 2

10

Does the scan tool display any additional undiagnosed DTCs?

--

Go to the applicable DTC table

System OK