GM Service Manual Online
For 1990-2009 cars only

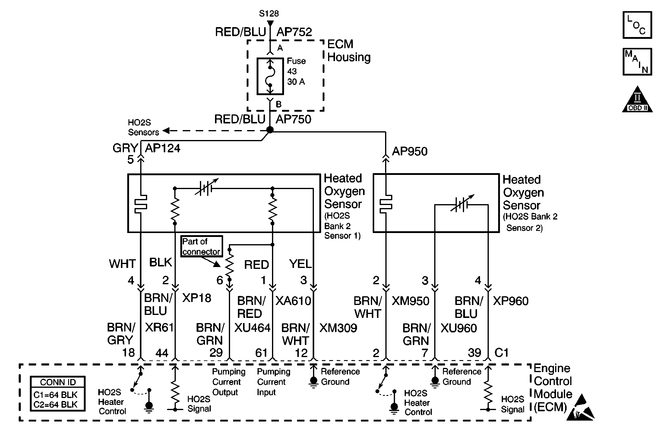
Object Number: 414172  Size: MF
Engine Controls Components
Heated Oxygen Sensors
OBD II Symbol Description Notice
Handling ESD Sensitive Parts Notice

Circuit Description

The heated oxygen sensor (HO2S) produces a voltage that varies between 100 mV and 900 mV under normal operating conditions. The engine control module (ECM) produces a bias voltage on the HO2S signal circuit of 420 to 480 mv. The reference ground for the sensor is provided through the ECM. The ECM monitors the signal voltage to determine if the exhaust is lean or rich. The oxygen sensor voltage is high when the exhaust is rich, and low when the exhaust is lean. The ECM constantly monitors the HO2S signal during the Closed Loop operation.

Conditions for Running the DTC

    • The engine is running.
    • The battery voltage is more than 11 volts.
    • The catalytic converter temperature is less than 800°C (1472°F).

Conditions for Setting the DTC

The HO2S voltage is more than 1080 mv (1.08 volts) for more than 5.1 seconds.

Action Taken When the DTC Sets

The ECM illuminates the malfunction indicator lamp (MIL) and records the operating conditions in the Freeze Frame on the second consecutive drive trip that the diagnostic runs and fails.

Conditions for Clearing the MIL/DTC

    • The ECM turns OFF the MIL after three consecutive drive trips that the diagnostic runs and passes.
    • A History DTC clears after forty consecutive warm-up cycles in which no failures are reported by this diagnostic or any other emission related diagnostic.
    • The scan tool clears the MIL/DTC.

Diagnostic Aids

Use the J 35616 connector test adapter kit for any test that requires probing the ECM harness connector or a component harness connector.

If the condition that set this DTC is not present, check for the following conditions:

    • Heated oxygen sensor wiring--Check for the following conditions:
       - A signal wire intermittently shorted to voltage
       - A reference ground wire with high resistance or intermittently open
       - Corrosion and water intrusion at the HO2S connector or the ECM connector
       - An oxygen supply inside of the HO2S is necessary for a proper operation. This supply of oxygen is provided through the HO2S wires. All of the HO2S wires and connections should be inspected for any breaks or any contamination. If any wiring repairs need to be made, refer to Wiring Repairs in Wiring Systems.
    • An intermittent rich engine condition such as the following:
       - evaporative emission (EVAP) canister purge system malfunction
       - Fuel contaminated engine oil
       - Incorrect fuel pressure
       - Rich fuel injectors
       - An inaccurate mass air flow (MAF) sensor
       - A rich condition during decel fuel cutoff operation
    • A silicon contaminated HO2S
    • Poor ECM grounds

Test Description

The numbers below refer to the step numbers on the diagnostic table.

  1. The engine must be at the normal operating temperature before performing this test.

  2. Using the Freeze Frame data may aid in locating an intermittent condition. If the DTC cannot be duplicated, review the information in the Freeze Frame. Try to operate the vehicle within the same Freeze Frame conditions, the RPM, the MAF, the vehicle speed, the temperature etc., that were noted. This process may help in recreating the condition that set the DTC.

  3. The ECM provides the reference ground for the oxygen sensor. A small amount of current will appear on this circuit when the ECM is operational. The measured resistance of the circuit will increase when the ECM is operational. This is considered normal.

  4. Monitor the HO2S voltage of the opposite bank sensor. If the voltage activity of the opposite bank sensor is similar to the voltage activity of the suspect sensor, check for rich conditions that would affect both cylinders. An opposite bank sensor with normal HO2S activity indicates a rich condition exists only on the suspect HO2S cylinder bank or a fault in the circuit.

  5. An HO2S contaminated by silicon will have a white, powdery deposit on the portion of the HO2S that is exposed to the exhaust stream. The usual cause of silica contamination is the use of unapproved silicon RTV sealer or the use of silicon based sprays or fluids within the engine. If the cause of this contamination is not corrected, the replacement HO2S will also get contaminated.

Step

Action

Values

Yes

No

1

Did you perform the Powertrain On-Board Diagnostic (OBD) System check?

--

Go to Step 2

Go to Powertrain On Board Diagnostic (OBD) System Check

2

  1. Install the scan tool.
  2. Allow the engine to run at the normal operating temperature.
  3. Operate the vehicle within the conditions required for this diagnostic to run. Refer to Conditions for Running the DTC.
  4. Using a scan tool, monitor the HO2S voltage for this sensor.

Does the HO2S voltage remain above the specified value?

1080 mV

Go to Step 4

Go to Step 3

3

  1. Turn ON the ignition with the engine OFF.
  2. Review the Freeze Frame data for this DTC and note the parameters.
  3. Clear the DTCs.
  4. Turn OFF the ignition for 15 seconds.
  5. Start the engine.
  6. Operate the vehicle within the conditions required for this diagnostic to run, and as close to the conditions recorded in the Freeze Frame as possible. Refer to Conditions for Running the DTC.
  7. Check for any DTCs.

Is this DTC set?

--

Go to Step 4

Go to Diagnostic Aids

4

  1. Turn OFF the ignition.
  2. Disconnect the HO2S.
  3. Turn ON the ignition leaving the engine OFF.
  4. Using a scan tool, monitor the HO2S Voltage for the sensor that applies to this DTC.

Does the scan tool indicate that the HO2S voltage is within the specified range?

420-480 mV

Go to Step 6

Go to Step 5

5

  1. Turn OFF the ignition.
  2. Disconnect the engine control module (ECM) connector (C1).
  3. Turn ON the ignition.
  4. Using a DMM, measure the voltage from the HO2S signal circuit in the ECM harness connector to the battery ground.

Is there any voltage present?

--

Go to Step 10

Go to Step 13

6

    Important: Make sure the ECM has shut down prior to measuring the reference ground circuit resistance. This can be verified by the loss of communication on the scan tool.

  1. Turn OFF the ignition for 30 seconds.
  2. Important: Do not use a test lamp to test the continuity of the reference ground circuit. Damage to the ECM will result.

  3. Using the DMM, measure the resistance of the HO2S reference ground circuit to battery ground.

Is the resistance of the circuit less than the specified value?

5 ohms

Go to Step 9

Go to Step 7

7

  1. Disconnect the ECM connector (C1).
  2. Test the HO2S reference ground circuit for an open or high resistance.
  3. Repair as necessary. Refer to Wiring Repairs in Wiring Systems.

Did you find and repair a problem?

--

Go to Step 15

Go to Step 8

8

Measure the resistance from the ground stud at the ECM bracket to battery ground.

Is the resistance less than the specified value?

5 ohms

Go to Step 13

Go to Step 11

9

  1. Inspect for any of the following conditions:
  2. • HO2S connector for water intrusion
    • Silicon contaminated HO2S
    • Fuel contaminated engine oil
    • EVAP canister purge system malfunction
    • Incorrect fuel pressure
    • Leaking fuel pressure regulator
    • Rich fuel injectors
    • An inaccurate MAF sensor
  3. Repair any of the above or similar conditions as necessary.

Did you find and correct a problem?

--

Go to Step 15

Go to Step 12

10

Repair the signal circuit that is shorted to voltage. Refer to Wiring Repairs in Wiring Systems.

Is the repair complete?

--

Go to Step 15

--

11

Repair the high resistance in the ECM ground circuit. Refer to Wiring Repairs in Wiring Systems.

Is the repair complete?

--

Go to Step 15

--

12

Important: Before replacing a contaminated HO2S, determine and repair the cause of the contamination.

Replace the HO2S. Refer to Heated Oxygen Sensor Replacement .

Is the replacement complete?

--

Go to Step 15

--

13

  1. Check for a poor connection or poor terminal tension at the ECM harness connector. Refer to Testing for Intermittent Conditions and Poor Connections in Wiring Systems.
  2. Repair as necessary. Refer to Connector Repairs in Wiring Systems.

Did you find and correct a problem?

--

Go to Step 15

Go to Step 14

14

Important: This vehicle is equipped with a Theft Deterrent System that interfaces with the engine control module (ECM). Program the new ECM with the frequency code of the theft deterrent module that is currently on the vehicle.

Replace the ECM. Refer to Engine Control Module Replacement/Programming .

Is the action complete?

--

Go to Step 15

--

15

  1. Using the scan tool, clear the DTCs.
  2. Start the engine.
  3. Allow the engine to idle until the engine reaches the normal operating temperature.
  4. Select DTC and the Specific DTC function.
  5. Enter the DTC number that was set.
  6. Operate the vehicle within the Conditions for Running this DTC until the scan tool indicates that the diagnostic Ran.

Does the scan tool indicate that the diagnostic Passed?

 

Go to Step 16

Go to Step 2

16

Does the scan tool display any additional undiagnosed DTCs?

--

Go to the applicable DTC table

System OK