GM Service Manual Online
For 1990-2009 cars only

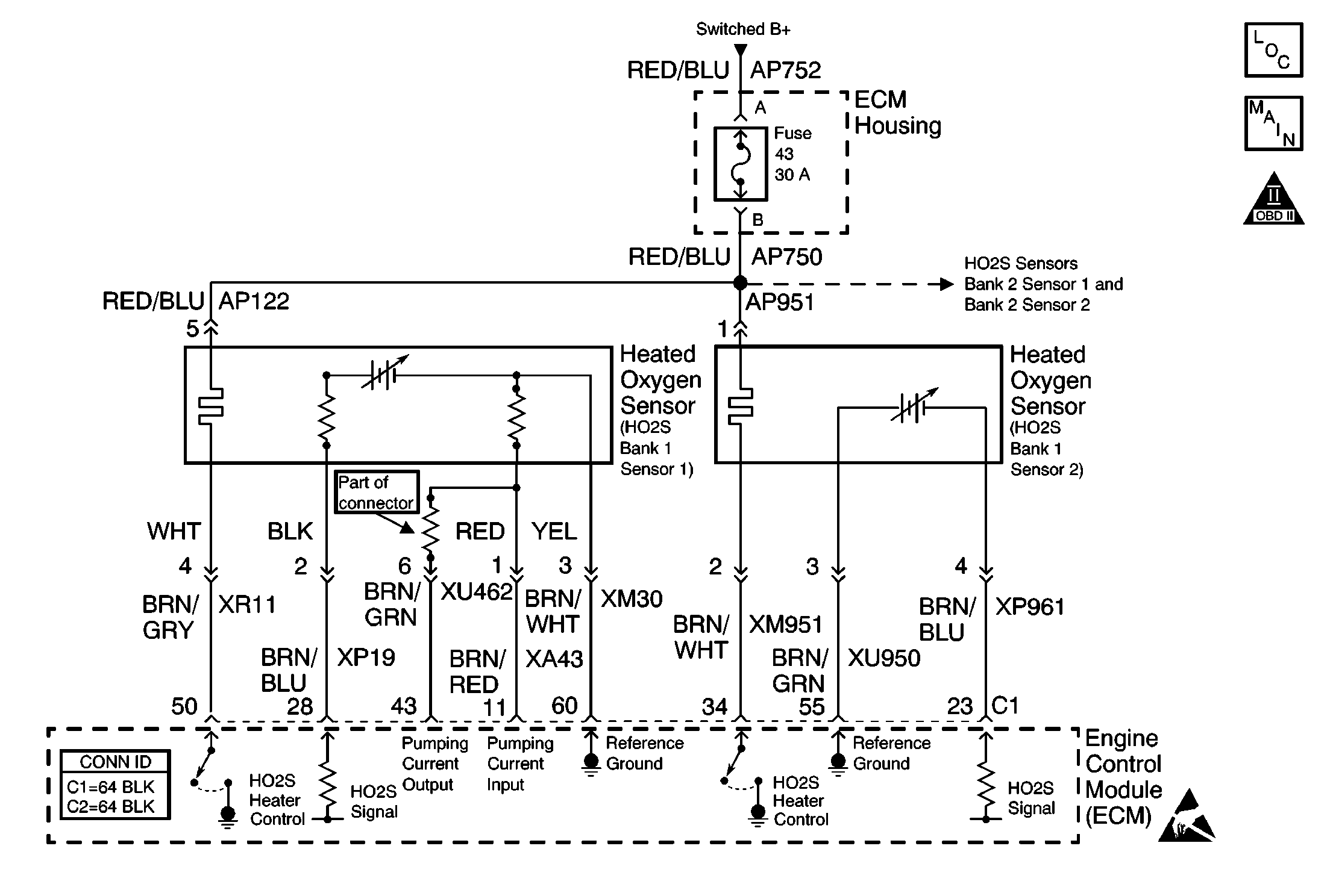
Object Number: 414183  Size: MF
Engine Controls Components
Heated Oxygen Sensors
OBD II Symbol Description Notice
Handling ESD Sensitive Parts Notice

Circuit Description

The heated oxygen sensor (HO2S) produces a voltage that varies between 100 mV and 900 mV under normal operating conditions. The engine control module (ECM) produces a bias voltage on the HO2S signal circuit of 420 to 480 mv. The reference ground for the sensor is provided through the ECM. The ECM monitors the signal voltage to determine if the exhaust is lean or rich. The oxygen sensor voltage is high when the exhaust is rich, and low when the exhaust is lean. The ECM constantly monitors the HO2S signal during the Closed Loop operation.

Conditions for Running the DTC

    • The engine is running.
    • The battery voltage is more than 11 volts.
    • The catalytic converter temperature is less than 800°C (1472°F).

Conditions for Setting the DTC

    • The HO2S voltage is between 401 and 519 millivolts.
    • The above conditions are met for more than 60 seconds.

Action Taken When the DTC Sets

The ECM illuminates the malfunction indicator lamp (MIL) and records the operating conditions in the Freeze Frame on the second consecutive drive trip that the diagnostic runs and fails.

Conditions for Clearing the MIL/DTC

    • The ECM turns OFF the MIL after three consecutive drive trips that the diagnostic runs and passes.
    • A History DTC clears after forty consecutive warm-up cycles in which no failures are reported by this diagnostic or any other emission related diagnostic.
    • The scan tool clears the MIL/DTC.

Diagnostic Aids

Use the J 35616 connector test adapter kit for any test that requires probing the ECM harness connector or a component harness connector.

If the conditions to set this DTC are not present, check for the following conditions:

    • Heated oxygen sensor wiring--Check for the following conditions:
       - A signal wire intermittently open or with excessive circuit resistance
       - A reference ground wire intermittently open, shorted to ground, or with excessive circuit resistance
       - The sensor pigtail or the harness may be mis-positioned and contacting the exhaust system.
       - An oxygen supply inside of the HO2S is necessary for a proper operation. This supply of oxygen is provided through the HO2S wires. All of the HO2S wires and connections should be inspected for breaks or contamination. If any wiring requires repair, refer to Wiring Repairs in Wiring Systems.
       - Inspect the connectors for the following conditions:
   • Proper mating
   • Broken locks
   • Improperly formed or damaged terminals
   • Corrosion and water intrusion
    • A contaminated HO2S--Contamination can include the following:
       - Fuel contamination
       - Use of incorrect RTV sealant
       - Excessive oil or coolant consumption
    • Exhaust leaks--An exhaust leak may cause the outside air to be pulled into the exhaust gas stream past the HO2S, causing this DTC to set. Check for any exhaust leaks near the HO2S.
    • Improperly torqued HO2S
    • Inoperative HO2S heater
    • Poor ECM grounds

Test Description

The numbers below refer to the step numbers on the diagnostic table.

  1. The engine must be at the normal operating temperature before performing this test.

  2. Using the Freeze Frame data may aid in locating an intermittent condition. If the DTC cannot be duplicated, review the information in the Freeze Frame. Try to operate the vehicle within the same Freeze Frame conditions, the RPM, the MAF, the vehicle speed, the temperature etc., that were noted. This process may help in order to recreate the condition that set the DTC.

  3. The ECM provides the reference ground for the oxygen sensor. A small amount of current will appear on this circuit when the ECM is operational. The measured resistance of the circuit will increase when the ECM is operational. This is considered normal.

  4. The ECM provides the reference ground for the oxygen sensor. A short to ground on this circuit will cause the signal voltage to shift.

  5. An oxygen supply inside the HO2S is necessary for proper operation. This supply of oxygen is provided through the HO2S wires. Inspect all HO2S wires and connections for any breaks or contamination.

  6. Perform the Idle Learn Procedure when replacing the ECM or the throttle body.

Step

Action

Values

Yes

No

1

Did you perform the Powertrain On-Board Diagnostic (OBD) System check?

--

Go to Step 2

Go to Powertrain On Board Diagnostic (OBD) System Check

2

  1. Install a scan tool and start the engine.
  2. Allow the engine to run at normal operating temperature.
  3. Operate the vehicle within the conditions required for this diagnostic to run.
  4. Using the scan tool, monitor the voltage for the HO2S that applies to this DTC.

Is the voltage within the specified value?

401-519 mv

Go to Step 4

Go to Step 3

3

  1. Turn ON the ignition leaving the engine OFF.
  2. Review the Freeze Frame data for this DTC and note the parameters.
  3. Clear the DTC information.
  4. Turn OFF the ignition for 15 seconds.
  5. Start the engine.
  6. Operate the vehicle within the conditions required for this diagnostic to run, and as close to the conditions recorded in the Freeze Frame as possible.
  7. Using the scan tool, check for any DTCs.

Did this DTC set?

--

Go to Step 4

Go to Diagnostic Aids

4

  1. Inspect the exhaust system for leaks upstream from the affected oxygen sensor including the AIR distribution system.
  2. Repair the exhaust leak as necessary.

Did you find and repair an exhaust leak?

--

Go to Step 19

Go to Step 5

5

  1. Turn the ignition OFF.
  2. Disconnect the HO2S connector.
  3. Important: Do not use the HO2S reference ground for this test. The use of the reference ground circuit may produce inaccurate results.

  4. Jumper the HO2S signal circuit to a known good ground.
  5. Turn ON the ignition leaving the engine OFF.
  6. Using the scan tool, monitor the HO2S voltage for the sensor that applies to this DTC.

Is the voltage at the specified value?

0 mv

Go to Step 6

Go to Step 10

6

  1. Remove the jumper from the HO2S signal circuit.
  2. Connect a test lamp between the switched B+ circuit and the heater control circuit.
  3. Start the engine and allow it to idle.
  4. Observe the test lamp.

Does the test lamp illuminate or flash?

--

Go to Step 7

Go to Step 12

7

    Important: Make sure the ECM has shut down prior to measuring the reference ground circuit resistance. This can be verified by the loss of communication on the scan tool.

  1. Turn OFF the ignition for 30 seconds.
  2. Important: Do not use a test lamp to test the continuity of the ground circuit. Damage to the ECM will result.

  3. Using the DMM, measure the resistance of the HO2S reference ground circuit to battery ground.

Is the resistance of the circuit less than the specified value?

5 ohms

Go to Step 9

Go to Step 8

8

  1. Disconnect the ECM connector (C1).
  2. Test the HO2S reference ground circuit for an open or high resistance.
  3. Repair as necessary. Refer to Wiring Repairs in Wiring Systems.

Did you find and repair a problem?

--

Go to Step 19

Go to Step 11

9

  1. Disconnect the ECM connector (C1).
  2. Using the DMM, measure the resistance of the HO2S reference ground circuit to battery ground.

Is the resistance at the specified value?

Go to Step 13

Go to Step 14

10

  1. Turn OFF the ignition.
  2. Remove the jumper from the HO2S signal circuit.
  3. Disconnect the ECM connector (C1).
  4. Test the HO2S signal circuit for an open or high resistance.
  5. Repair as necessary. Refer to Wiring Repairs in Wiring Systems.

Did you find and repair a problem?

--

Go to Step 19

Go to Step 17

11

Measure the resistance from the ground stud at the ECM bracket to battery ground.

Is the resistance less than the specified value?

5 ohms

Go to Step 17

Go to Step 15

12

Diagnose and repair the inoperative heater control circuit. Refer to DTC P1141 HO2S Heater Control Circuit Bank 1 Sensor 2 or DTC P1161 HO2S Heater Control Circuit Bank 2 Sensor 2 .

Is the repair complete?

--

Go to Step 19

--

13

Visually and physically inspect the following items:

    • Ensure that the HO2S is securely installed.
    • Check for terminal corrosion or water intrusion.
    • Check the terminal tension (at the HO2S and at the ECM). Refer to Testing for Intermittent Conditions and Poor Connections in Wiring Systems.
    • Check for damaged wiring.
    • Repair as necessary. Refer to Wiring Repairs and Connector Repairs in Wiring Systems.

Did you find and correct a problem?

--

Go to Step 19

Go to Step 16

14

Repair the short to ground in the HO2S reference ground circuit. Refer to Wiring Repairs in Wiring Systems.

Is the repair complete?

--

Go to Step 19

--

15

Repair the high resistance in the ECM ground circuit. Refer to Wiring Repairs in Wiring Systems.

Is the repair complete?

--

Go to Step 19

--

16

Replace the HO2S. Refer to Heated Oxygen Sensor Replacement .

Is the replacement complete?

--

Go to Step 19

--

17

  1. Check for a poor connection or poor terminal tension at the ECM harness connector. Refer to Testing for Intermittent Conditions and Poor Connections in Wiring Systems.
  2. Repair as necessary. Refer to Connector Repairs in Wiring Systems.

Did you find and correct a problem?

--

Go to Step 19

Go to Step 18

18

Important: This vehicle is equipped with a Theft Deterrent System that interfaces with the Engine Control Module (ECM). Program the new ECM with the frequency code of the theft deterrent module that is currently on the vehicle.

Replace the ECM. Refer to Engine Control Module Replacement/Programming .

Is the action complete?

--

Go to Step 19

--

19

  1. Using the scan tool, clear the DTCs.
  2. Start the engine.
  3. Allow the engine to idle until the engine reaches the normal operating temperature.
  4. Select DTC and the Specific DTC function.
  5. Enter the DTC number that was set.
  6. Operate the vehicle within the Conditions for Running this DTC until the scan tool indicates that the diagnostic Ran.

Does the scan tool indicate that the diagnostic Passed?

 

Go to Step 20

Go to Step 2

20

Does the scan tool display any additional, undiagnosed DTCs?

--

Go to the applicable DTC table

System OK