GM Service Manual Online
For 1990-2009 cars only

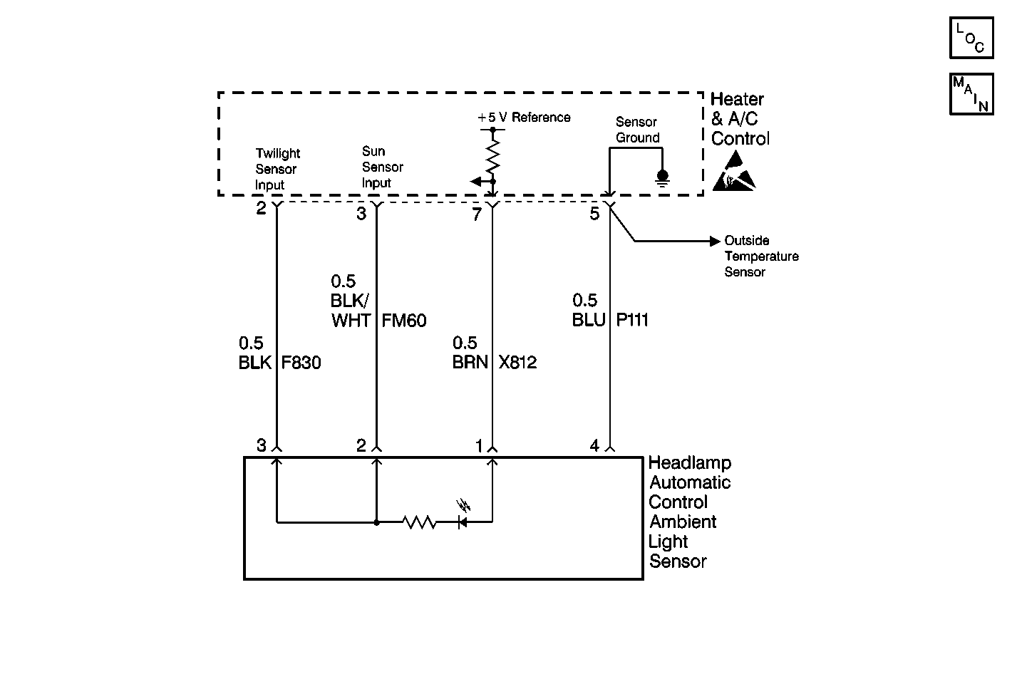
Object Number: 373821  Size: MF
HVAC Components
Temperature Sensors

Circuit Description

The solar/twilight sensor is a photo-electric cell that provides two inputs to the heater and A/C control system. The input for the sunload is at terminal 3 of the heater and A/C control. This is used by the controller for temperature control compensation based on additional heat from the sun (sunload.) The input for the twilight sentinel is at terminal 2. The twilight sentinel input is then processed by the controller and sent to the Body Control Module (BCM).

Conditions for Setting the DTC

The voltage on circuits P11 or P111 significantly rises above 400 mV for 200 ms.

Action Taken When the DTC Sets

    • Stores a DTC 40 in the heater and A/C control memory.
    • The system will default to a assumed value of no solar heat (darkness).
    • DTCs 10, 12, 14, 26, 39, 55, and 169 may also appear when DTC 40 sets.

Conditions for Clearing the DTC

    • The conditions for the fault are no longer present.
    • Using a scan tool.
    • A history DTC will clear after 20 consecutive ignition cycles if the condition for the fault is no longer present.

Diagnostic Aids

    • In the event that the multiple DTCs set, first follow the repair procedures in the diagnostic table for DTC 40. If some or all of the multiple DTCs reappear after repairing the cause of DTC 40, follow the repair procedures given for the appropriate DTC.
    • If the DTC is a history or intermittent. Try performing the tests shown while moving the wiring harnesses and connectors, this can often cause the malfunction to appear.
    • Visually inspect sensor connector and harness for damage, corrosion or water intrusion.
    • Check for adequate terminal tension, mis-routed harness, rubbed through wire insulation, and broken wire(s) inside the insulation.

Test Description

The number(s) below refer to the step number(s) on the diagnostic table.

  1. This step tests the solar twilight sensor ground circuit to the heater and A/C control.

Step

Action

Value(s)

Yes

No

1

Did you perform the HVAC Systems Diagnostic System Check?

--

Go to Step 2

Go to Diagnostic System Check

2

  1. Disconnect the solar/twilight sensor connector.
  2. Measure the voltage at harness connector terminal 4.

Does the voltage measure greater than the specified value?

400 mV

Go to Step 3

Go to Diagnostic Aids

3

  1. Disconnect the heater and A/C control connector C1.
  2. Test the solar/twilight sensor ground circuit for a short to voltage. Refer to Testing for a Short to Voltage in Wiring Systems.

Did you find and correct the condition?

--

Go to Step 4

Go to Step 5

4

  1. Install a scan tool in order to clear DTCs.
  2. Operate the system within the Conditions for Setting the DTC as specified in the supporting text.

Does the DTC reset?

--

Go to Step 6

System OK

5

Inspect for poor connections at the harness connector of the heater and A/C control. Refer to Testing for Intermittent Conditions and Poor Connections in Wiring Systems.

Did you find and correct the condition?

--

Go to Step 4

Go to Step 6

6

Replace and program the heater and A/C control.

Did you complete the replacement?

--

Go to Step 4

--