GM Service Manual Online
For 1990-2009 cars only

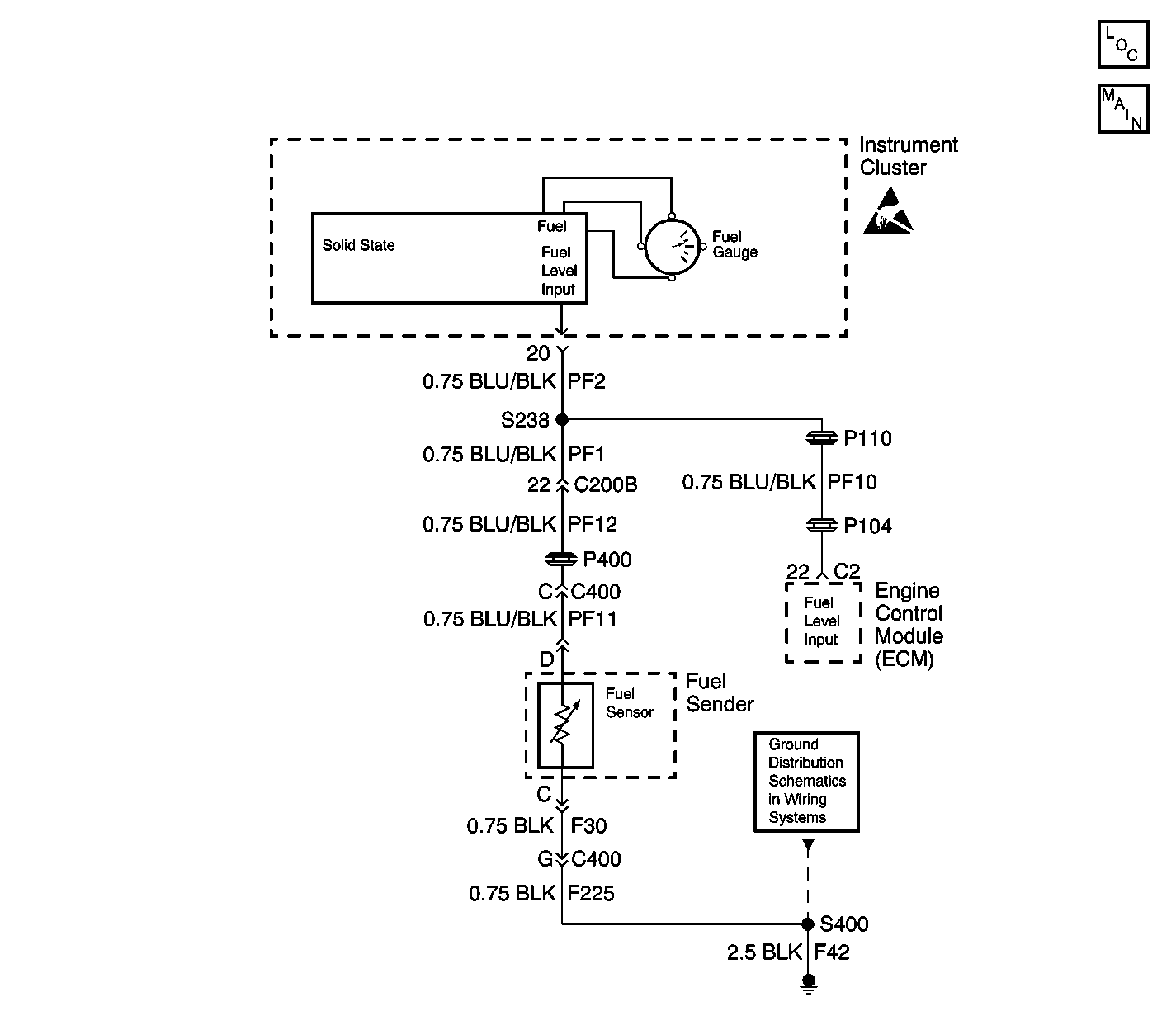
Object Number: 607328  Size: LF
Instrument Cluster Components
Engine Coolant Temperature Gauge Sensor and Fuel Sender
Ground Distribution Schematics

Circuit Description

A microprocessor in the instrument cluster sends voltage to the fuel tank sensor contained inside the fuel tank. A float arm attached to the sensor changes position with the fuel level in the tank. The fuel sensor is a variable resistor, as the fuel level changes the resistance of the fuel sensor changes. The instrument cluster monitors changes in the voltage caused by the changes in the resistance of the sensor to determine fuel level.

Conditions for Setting the DTC

The fuel gauge circuit is tested every 100 ms. DTC 167 will set in the following ways:

    • When the circuit is shorted to ground.
    • The resistance of the fuel sensor is out of range (less than 30 ohms) for more than 8 seconds.

Action Taken When the DTC Sets

    • Stores a DTC 167 in memory.
    • The fuel gauge pointer will return to the zero position.

Conditions for Clearing the DTC

    • The resistance must be greater than 30 ohms for 4 seconds to clear the fault in the next monitoring cycle.
    • Conditions for the fault are no longer present.
    • Using a scan tool.

Diagnostic Aids

    • If the DTC is a history or intermittent DTC try performing the tests shown while moving related wiring harnesses and connectors. This can often cause the malfunction to appear. Refer to Inducing Intermittent Fault Conditions in Wiring Systems.
    • Visually inspect the harness and the harness connectors for the following conditions:
       - Damage
       - Corrosion
       - Water intrusion
       - Adequate terminal tension
       - Mis-routed harness
       - Rubbed through wire insulation
       - Broken wire inside the insulation
    • Before replacing the instrument cluster check all power and ground circuits to the cluster.

Test Description

The number(s) below refer to the step number(s) on the diagnostic table.

  1. This test determines if the fuel tank sensor is shorted.

  2. This test determines if system voltage is present. No voltage indicates that a short to ground exists in the circuit.

  3. After a circuit repair is made, the system is checked again to see if the DTC resets. If the DTC resets, the instrument cluster most likely has an internal failure.

  4. This step removes the ECM from the circuit. If the ECM has an internal short, voltage supplied by the instrument cluster would be pulled to ground.

Step

Action

Value(s)

Yes

No

1

Was the Instrument Cluster Diagnostic System Check performed?

--

Go to Step 2

Go to Diagnostic System Check - Instrument Cluster

2

  1. Disconnect connector C400.
  2. Use a DMM to measure the resistance from terminal C (sensor side) and a good ground.

Is the resistance reading 30 ohms or less?

--

Go to Step 3

Go to Step 4

3

Replace the fuel tank sender.

Is the replacement complete?

--

Go to Step 7

--

4

  1. Turn the ignition switch to the ON position. Do not start the engine.
  2. Test for voltage from the instrument cluster at harness connector C400 terminal C (BLU/BLK wire).

Is the voltage reading within the specified range?

B+

Go to Step 5

Go to Step 6

5

Move related harnesses and harness connectors while monitoring the DMM.

Was a circuit problem found and repaired?

--

Go to Step 7

Go to Diagnostic Aids

6

  1. Disconnect connector C200A.
  2. Test the voltage at C200A terminal 2 (BLU/BLK wire).

Is the voltage reading within the specified range?

B+

Go to Step 8

Go to Step 9

7

  1. Install the scan tool in order to clear codes.
  2. Retest for a current DTC 167.

Is a current DTC 167 set?

--

Go to Step 10

System OK

8

Repair the short to ground between C200A terminal 2 and C400 terminal C (CKT PF12).

Is the repair complete?

--

Go to Step 7

--

9

  1. Turn the ignition switch to the OFF position.
  2. Disconnect ECM connector C2.
  3. Turn the ignition switch to the ON position.
  4. Retest the voltage at C200A terminal 2.

Is the voltage reading within the specified range?

B+

Go to Step 12

Go to Step 11

10

Replace the instrument cluster.

Is the replacement complete?

--

System OK

--

11

  1. Remove the instrument cluster.
  2. Disconnect the instrument cluster connector.
  3. Test for a short to ground in CKTs PF1 and PF10.

Did you locate a short to ground in the circuits?

--

Go to Step 13

--

12

Replace the ECM. Refer to ECM Replacement in Engine Controls.

Is the replacement complete?

--

Go to Step 7

--

13

Repair the short to ground in CKT PF1 (BLU/BLK) or CKT PF10 (BLU/BLK).

Is the repair complete?

--

Go to Step 7

--