GM Service Manual Online
For 1990-2009 cars only

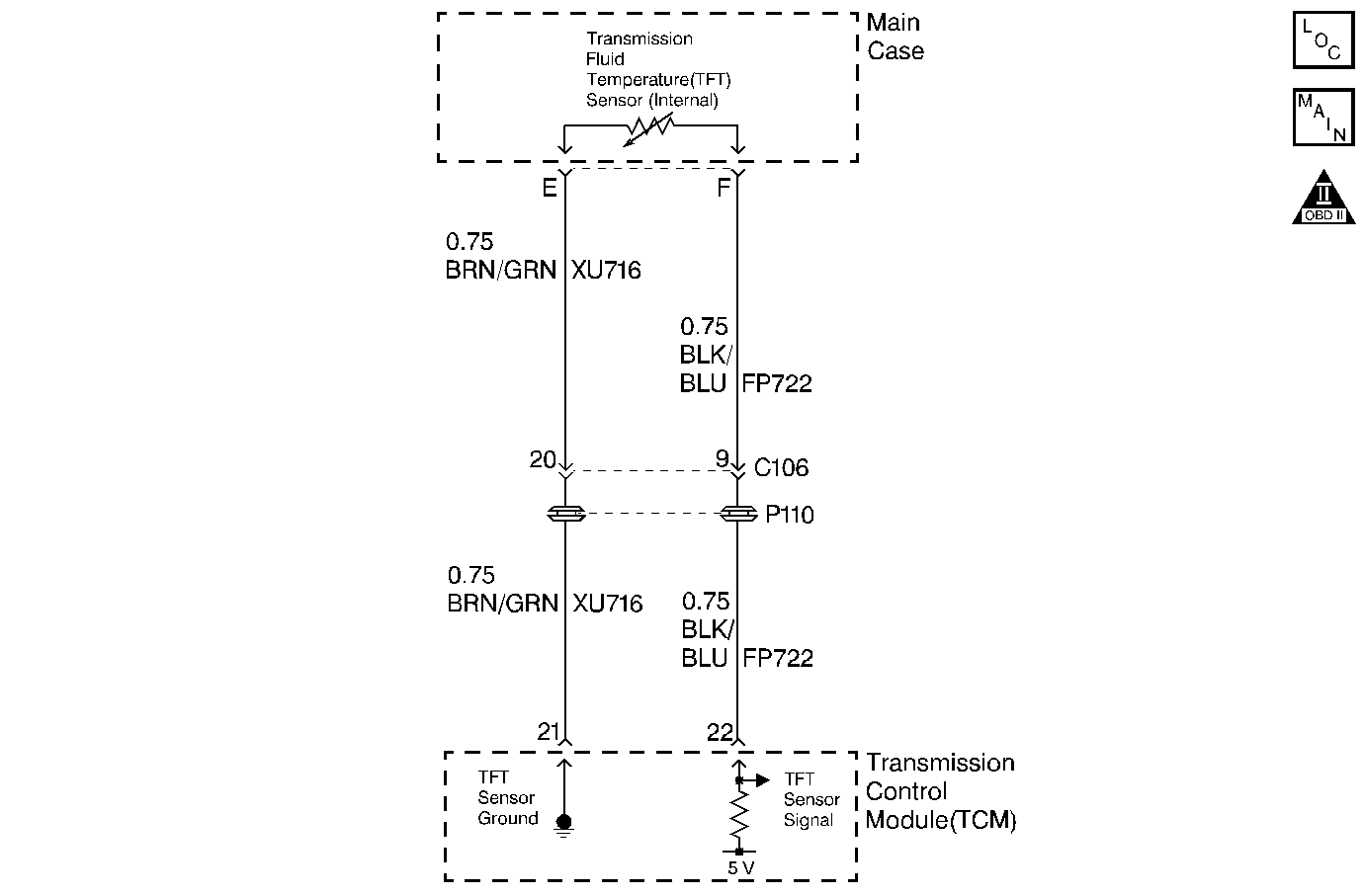
Object Number: 398652  Size: MF
Automatic Transmission Components
Automatic Transmission Controls Schematics
OBD II Symbol Description Notice

Circuit Description

The automatic transmission fluid temperature (TFT) sensor is part of the 4L30-E automatic transmission wiring harness assembly. The TFT sensor is a resistor, or thermistor, which changes value based on temperature. The sensor has a negative-temperature coefficient. This means that as the temperature increases, the resistance decreases, and as the temperature decreases, the resistance increases. The transmission control module (TCM) supplies a 5-volt reference signal to the sensor on circuit FP722 and measures the voltage drop in the circuit. When the transmission fluid is cold, the sensor resistance is high and the TCM detects high signal voltage. As the fluid temperature warms to a normal operating temperature, the resistance becomes less and the signal voltage decreases.

If the TCM detects an open or a short to ground in the TFT sensor or signal circuit, then DTC P0712 sets. DTC P0712 is a type C DTC.

Condition For Running The DTC

The ignition switch is in the RUN position.

Conditions For Setting The DTC

    • The TFT is less than 98 mV.
    • Condition present for 20 seconds.

Action Taken When the DTC Sets

    • The TCM flashes the sport mode lamp.
    • The ECM records the operating conditions in the Failure Records at the time of the request from the TCM.
    • The TCM memory stores the DTC at the time of the first failure.
    • The transmission temperature defaults to 130°C (266°F).
    • The TCM will freeze shift adapts.

Conditions For Clearing the MIL/DTC

    • The TCM stops flashing the sport mode lamp as soon as the fault is no longer present.
    • A History DTC clears after forty consecutive warm-up cycles, if no failures are present by this diagnostic or any other emission related diagnostic.
    • The scan tool clears the MIL/DTC.
    • The TCM cancels the DTC default mode actions when the fault no longer exists.

Diagnostic Aids

Use the J 35616 connector test adapter kit for any test that requires probing the TCM harness connector or a component harness connector. Using this kit will prevent damage to the harness connector terminals.

Check for the following conditions:

    • Poor connections at the TCM or at the component. Inspect the harness connectors for any backed out terminals, improper mating, broken locks, improperly formed or damaged terminals, and poor terminal to wire connection.
        Refer to General Electrical Diagnosis in Wiring Systems for proper procedure.
    • Damaged harness. Inspect the wiring harness for damage. If the harness appears to be OK, observe the scan tool while moving any related connectors and any wiring harnesses. A change in the display may help to locate the fault.

Test Description

The numbers below refer to the step numbers on the Diagnostic Table.

  1. This step tests the TCMs ability to detect an open circuit. If the TCM recognizes the open, this eliminates the TCM and the wiring up to the transmission connector from having the fault. The fault must be internal to the transmission.

  2. This step inspects for the two TFT circuits for being shorted together.

  3. Since the TFT is an integral part of the transmission wiring, the entire harness must be replaced.

DTC P0712 TFT Sensor Circuit Low

Step

Action

Value(s)

Yes

No

1

Did you perform the Transmission On-Board Diagnostic (OBD) System Check ?

--

Go to Step 2

Go to Transmission On Board Diagnostic (OBD) System Check

2

  1. Install the Scan Tool .
  2. With the engine OFF, turn the ignition switch to the RUN position.
  3. Important:  Before clearing the DTC, use the Scan Tool in order to record the Failure Records. Using the Clear Info function erases the Failure Records from the ECM/TCM.

  4. Record the DTC Failure Records.
  5. Clear the DTC.
  6. Observe the Scan Tool TFT sensor voltage.

Does the Scan Tool display a TFT Sensor voltage less than the specified value?

0.09 volts

Go to Step 3

Go to Diagnostic Aids

3

  1. Turn the ignition switch to the OFF position.
  2. Disconnect the transmission 7-way harness connector.
  3. Observe the Scan Tool TFT sensor voltage.

Does the Scan Tool display a TFT sensor voltage greater than the specified value?

4.35 volts

Go to Step 7

Go to Step 4

4

Using the J 39200 digital multimeter (DMM) and the J 35616 connector test adapter kit, measure terminal F voltage on the TCM side of the transmission harness.

Is the voltage within the specified value?

5.3-4.7 volts

Go to Diagnostic Aids

Go to Step 5

5

Check circuits FP 722 and XU 716 for being short together.

Did you find the condition?

--

Go to Step 8

Go to Step 6

6

Check circuit XU 716 for a short to ground.

Did you find the condition?

--

Go to Step 8

Go to Step 10

7

Check the transmission internal wiring circuit FP 722 (green wire) or the TFT for being shorted to:

    • Circuit XU 716 (yellow wire)
    • Circuit PB 743 (white wire)
    • Circuit PM 748 (black wire)
    • Circuit RF 745 (blue wire)
    •  Valve body

Did you find a condition?

--

Go to Step 9

--

8

Make the necessary wiring repairs.

Refer to Wiring Repairs in Wiring Systems.

Did you complete the repair?

--

Go to Step 11

--

9

Replace the main case harness assembly.

Refer to Control Valve Body .

Did you complete the replacement?

--

Go to Step 11

--

10

Replace the TCM

Refer to Transmission Control Module Replacement .

Did you complete the repair?

--

Go to Step 11

--

11

Perform the following procedure in order to verify the repair:

  1. Select DTC.
  2. Select Clear Info.
  3. With the engine OFF, turn the ignition switch to the RUN position for at least 4 seconds.
  4. Observe the Scan Tool TFT Sensor voltage.

Does the Scan Tool display a TFT Sensor voltage greater than the specified value?

0.15 volts

System OK

Go to Step 1