GM Service Manual Online
For 1990-2009 cars only

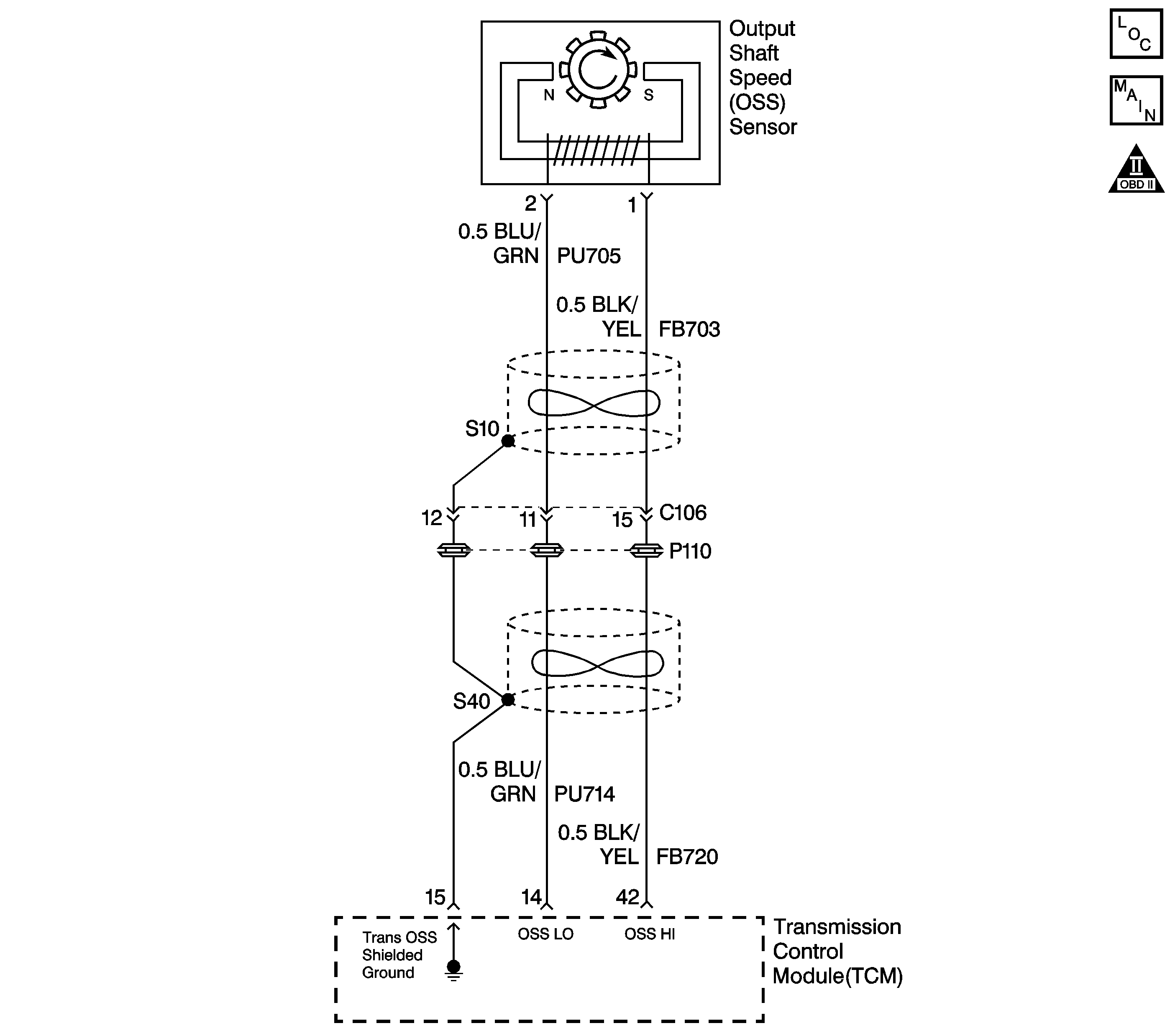
Object Number: 647016  Size: LF
Automatic Transmission Components
Automatic Transmission Controls Schematics
OBD II Symbol Description Notice

Circuit Description

The vehicle speed sensor assembly (VSS assembly) provides vehicle speed information to the transmission control module (TCM). The VSS assembly is a permanent magnet (PM) generator consisting of a toothed rotor mounted on the output shaft and the VSS. The PM generator produces a pulsing AC voltage as the rotor teeth pass through the sensor's magnetic field. The AC voltage level and the number of pulses increase as the speed of the vehicle increases. The TCM converts the pulsing voltage to vehicle speed. The TCM uses the vehicle speed signal to determine shift timing and torque converter clutch (TCC) scheduling.

If the TCM detects no vehicle speed when there is engine speed in a drive gear range, then DTC P0722 sets. DTC P0722 is a type B DTC.

The title of this DTC contains a generic part name. The specific 4L30-E part the title refers to is named the Vehicle Speed Sensor.

Conditions for Running the DTC

    • The transmission is not in Park, Reverse or Neutral.
    • The engine speed is greater than 3008 RPM.

Condition for Setting the DTC

The transmission output speed is 0 RPM.

Action Taken When the DTC Sets

    • The TCM flashes the sport mode lamp and sends a MIL request to the ECM on the second consecutive drive trip that the diagnostic runs and fails. The ECM then illuminates the MIL.
    • The ECM records the operating conditions in the Freeze Frame at the time of the MIL request from the TCM.
    • The transmission operates in the default mode (maximum line pressure, command 4th gear, inhibit TCC, freeze shift adapts).

Conditions For Clearing the MIL/DTC

    • The ECM turns off the MIL after three consecutive drive trips during which the TCM sends no MIL request.
    • A History DTC clears after forty consecutive warm-up cycles, if no failures are present by this diagnostic or any other emission related diagnostic.
    • The scan tool clears the MIL/DTC.
    • The TCM cancels the DTC default mode actions when the ignition switch is Off long enough in order to power down the TCM.

Diagnostic Aids

Use the J 35616 connector test adapter kit for any test that requires probing the TCM harness connector or a component harness connector. Using this kit will prevent damage to the harness connector terminals.

Check for the following conditions:

    • Poor connections at the TCM or at the component. Inspect the harness connectors for any backed out terminals, improper mating, broken locks, improperly formed or damaged terminals, and poor terminal to wire connection.
        Refer to General Electrical Diagnosis in Wiring Systems for proper procedure.
    • Damaged harness. Inspect the wiring harness for damage. If the harness appears to be OK, observe the scan tool while moving any related connectors and any wiring harnesses. A change in the display may help to locate the fault.

Test Description

The numbers below refer to the step numbers on the diagnostic table.

  1. Disable the traction control system when performing this step.

  2. This step tests the VSS assembly circuit.

  3. This step tests the integrity of the VSS assembly.

DTC P0722 Output Speed Sensor Circuit-Low Input

Step

Action

Value(s)

Yes

No

1

Did you perform the Transmission On-Board Diagnostic (OBD) System Check ?

--

Go to Step 2

Go to Transmission On Board Diagnostic (OBD) System Check

2

  1. Install the Scan Tool .
  2. With the engine OFF, turn the ignition switch to the RUN position.
  3. Important: Before clearing the DTC, use the Scan Tool in order to record the Freeze Frame and Failure Records. Using the Clear Info function erases the freeze frame and Failure Records from the ECM/TCM.

  4. Record the DTC Freeze Frame and Failure Records.
  5. Clear the DTC.
  6. Notice: Support the lower control arms in the normal horizontal position in order to avoid damage to the drive axles. Do not operate the vehicle in gear with the wheels hanging down at full travel.

  7. Raise and support the rear axle assembly.
  8. Start the engine.
  9. Disable the traction control system.
  10. Place the transmission in any drive range.

With the drive wheels rotating, does the Scan Tool Transmission OSS increase with the drive wheel speed?

--

Go to Diagnostic Aids

Go to Step 3

3

  1. Turn the ignition switch to the OFF position.
  2. Disconnect the TCM connector.
  3. Using the J 39200 digital multimeter (DMM) and the J 35616 connector test adapter kit, measure the resistance between TCM harness connector terminals 14 and 42.

Is the resistance within the specified range?

2750-3770 ohms

Go to Step 4

Go to Step 6

4

Measure the resistance from terminal 42 to a known good ground.

Is the resistance greater than the specified value?

50 K ohms

Go to Step 5

Go to Step 7

5

  1. Place the transmission in NEUTRAL.
  2. Select AC volts.
  3. Prevent the left rear wheel from turning.
  4. Rotate the other rear wheel by hand, ensuring that the driveshaft is turning.

By vigorously rotating the wheel by hand can a voltage greater than the specified value be obtained?

0.5 volts AC

Go to Step 13

Go to Step 11

6

  1. Disconnect the VSS assembly connector.
  2. Measure the resistance of the VSS assembly.

Is the resistance within the specified range?

2750-3770 ohms

Go to Step 8

Go to Step 12

7

Inspect circuits FB 703 (BLK/YEL) and PU 705  (BLU/GRN) for a short to ground.

Refer to General Electrical Diagnosis in Wiring Systems.

Did you find a short to ground?

--

Go to Step 9

Go to Diagnostic Aids

8

Inspect circuits FB 703 (BLK/YEL) and PU 705  (BLU/GRN) for an open.

Refer to General Electrical Diagnosis in Wiring Systems.

Did you find an open?

--

Go to Step 9

Go to Diagnostic Aids

9

Make the necessary wiring repairs.

Refer to Wiring Repairs in Wiring Systems.

Did you complete the repair?

--

Go to Step 13

--

10

Repair or replace the VSS Reluctor Wheel.

Refer to Case Extension and Gasket Replacement .

Did you complete the repair?

--

Go to Step 14

--

11

  1. Remove the VSS assembly.
  2. Inspect the Planetary Carrier shaft Reluctor Wheel for loose mounting or damage.

Did you find a condition?

--

Go to Step 10

Go to Step 12

12

Replace the VSS.

Refer to Vehicle Speed Sensor .

Did you complete the replacement?

--

Go to Step 14

--

13

Replace the TCM.

Refer to Transmission Control Module Replacement .

Did you complete the replacement?

--

Go to Step 14

--

14

Perform the following procedure in order to verify the repair:

  1. Select DTC.
  2. Select Clear Info.
  3. Operate the vehicle in DRIVE with the engine speed greater than 3008 RPM, so that the transmission output speed is detected for 4 seconds.

Does the Scan Tool display transmission output speed?

--

System OK

Go to Step 1