GM Service Manual Online
For 1990-2009 cars only

Object Number: 647013  Size: MF
Automatic Transmission Components
Automatic Transmission Controls Schematics
OBD II Symbol Description Notice
Handling ESD Sensitive Parts Notice
Handling ESD Sensitive Parts Notice

Circuit Description

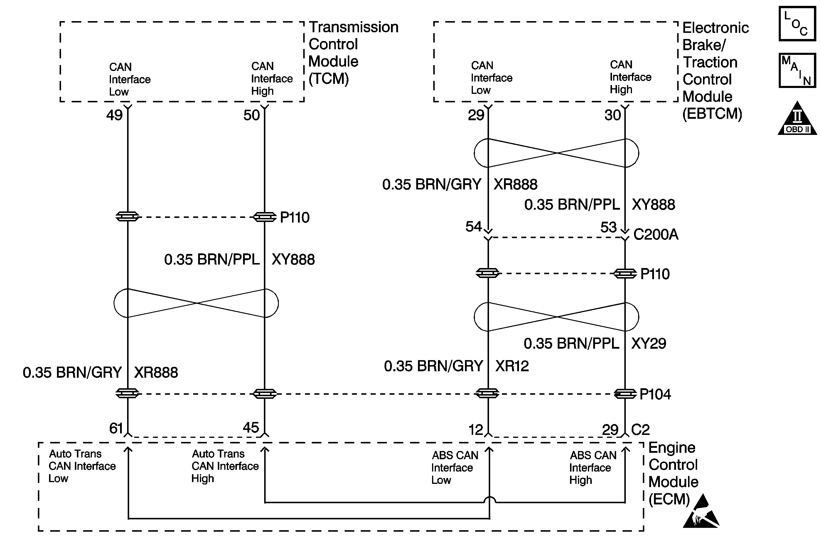
Engine temperature information (signal) is sent to the transmission control module (TCM) by the engine control module (ECM) through a communication network called the controller area network (CAN). Circuits XR888 and XY888 are used to communicate CAN data between the ECM and TCM control modules.

When the ECM sends the TCM an engine coolant temperature signal that is below the lower limit, above the upper limit, or is an unreliable value, then DTC P1792 will set. DTC P1792 is a type C DTC.

Condition for Running the DTC

The ignition switch is in the RUN position.

Condition for Setting the DTC

Engine coolant signal is below the lower limit, above the upper limit, or is an unreliable value.

Action Taken When the DTC Sets

    • The MIL will not illuminate.
    • The ECM records the operating conditions in the failure records at the time of the request from the TCM.
    • The TCM memory stores the DTC at the time of the first failure.

Conditions for Clearing the DTC

    • A History DTC clears after forty consecutive warm-up cycles, if no failures are present by this diagnostic or any other emission related diagnostic.
    • The scan tool clears the DTC.

Diagnostic Aids

Use the J 35616 connector test adapter kit for any test that requires probing the TCM harness connector or a component harness connector. Using this kit will prevent damage to the harness connector terminals.

Check for the following conditions:

    • Poor connections at the TCM or at the component. Inspect the harness connectors for any backed out terminals, improper mating, broken locks, improperly formed or damaged terminals, and poor terminal to wire connection.
        Refer to General Electrical Diagnosis in Wiring Systems for proper procedure.
    • Damaged harness. Inspect the wiring harness for damage. If the harness appears to be OK, observe the scan tool while moving any related connectors and any wiring harnesses. A change in the display may help to locate the fault.

Test Description

The numbers below refer to the step numbers on the diagnostic table.

  1. This step verifies the ECT is present.

  2. This step checks for engine DTCs that would normally set if engine coolant conditions were detected by the ECM.

DTC P1792 ECM to TCM Engine Coolant Signal

Step

Action

Value(s)

Yes

No

1

Did you perform the Transmission On-Board Diagnostic (OBD) System Check?

--

Go to Step 2

Go to Transmission On Board Diagnostic (OBD) System Check

2

  1. Install the Scan Tool .
  2. With the engine OFF, turn the ignition switch to the RUN position.
  3. Important:  Before clearing the DTC, use the Scan Tool in order to record the Failure Records. Using the Clear Info function erases the Failure Records from the ECM/TCM.

  4. Record the DTC Failure Records.
  5. Clear the DTC.
  6. Start the engine.
  7. Observe the Scan Tool Engine Coolant Temperature.

Does the Scan Tool display an ECT value that is unrealistic for the current engine operating condition and/or the ambient temperature?

--

Go to Step 3

Go to Diagnostic Aids

3

Are any of the following DTCs also set?

    • P0115
    • P0116
    • P0117
    • P0118

--

Go to Step 4

--

4

Go to Engine Controls.

Make the necessary repairs. Refer to Engine Controls.

Are the DTC repairs complete?

--

Go to Step 6

--

6

Perform the following procedure in order to verify the repair:

  1. Select DTC.
  2. Select Clear Info.
  3. Start the engine and observe the Scan Tool ECT.

Does the Scan Tool display an ECT value that is now realistic for the current engine operating condition and/or the ambient temperature?

--

System OK

Go to Step 1