GM Service Manual Online
For 1990-2009 cars only
Makes
🢒
Cadillac
🢒
2001
🢒
Catera
🢒 Engine Data Sensors - HO2S
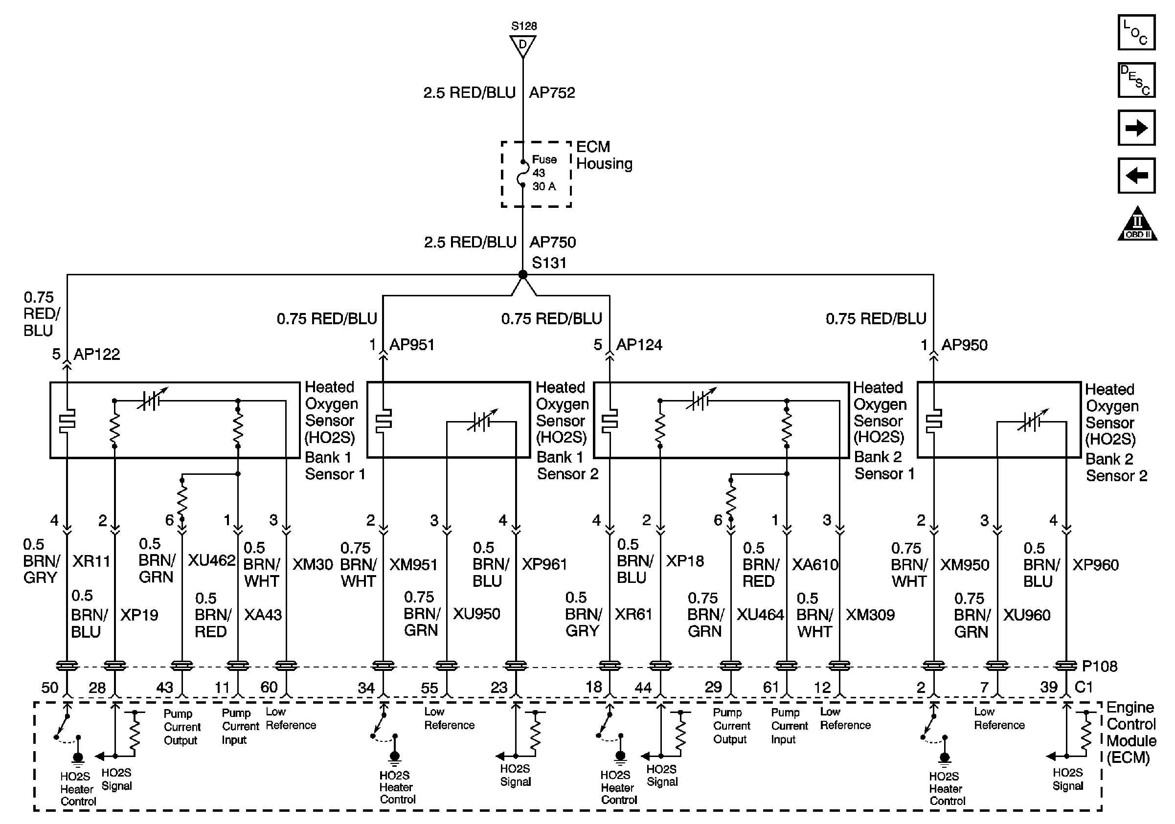
Engine Data Sensors - HO2S
Heated Oxygen Sensors (HO2S)
Master Electrical Component List
Electronic Ignition (EI) System Description
Engine Data Sensors - APP Sensor
Engine Data Sensors - Pressure and Temperature
Engine Controls Schematic Icons
Engine Controls Power Relay