GM Service Manual Online
For 1990-2009 cars only
Makes
🢒
Cadillac
🢒
2001
🢒
Catera
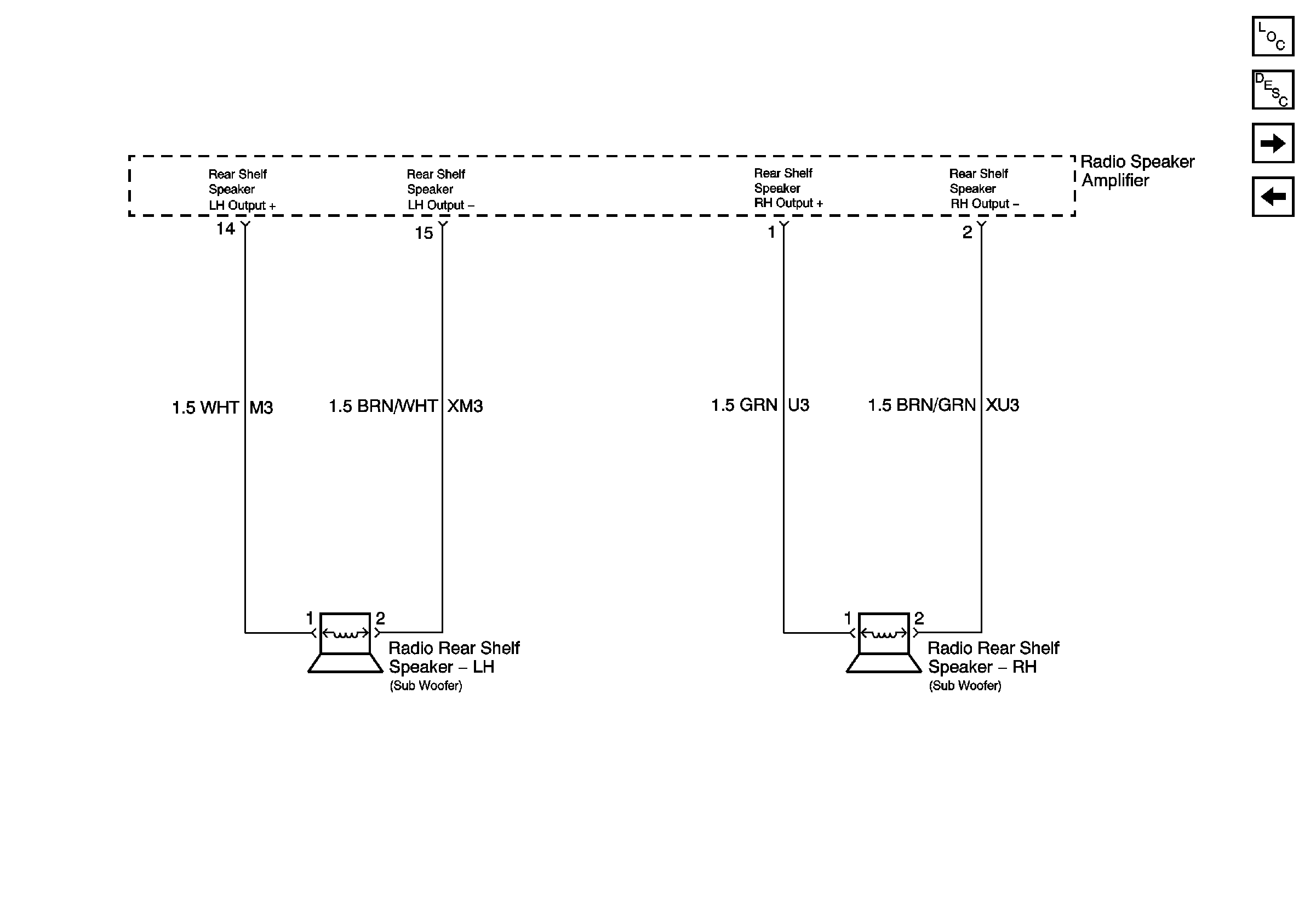
🢒 Subwoofers (Bose)
Subwoofers (Bose)
Sub Woofers - Bose®
Master Electrical Component List
Radio/Audio System Description and Operation
Radio to Radio Antenna Amplifier
Amplifier to Door Speakers (Bose)