GM Service Manual Online
For 1990-2009 cars only
Makes
🢒
Cadillac
🢒
2001
🢒
Catera
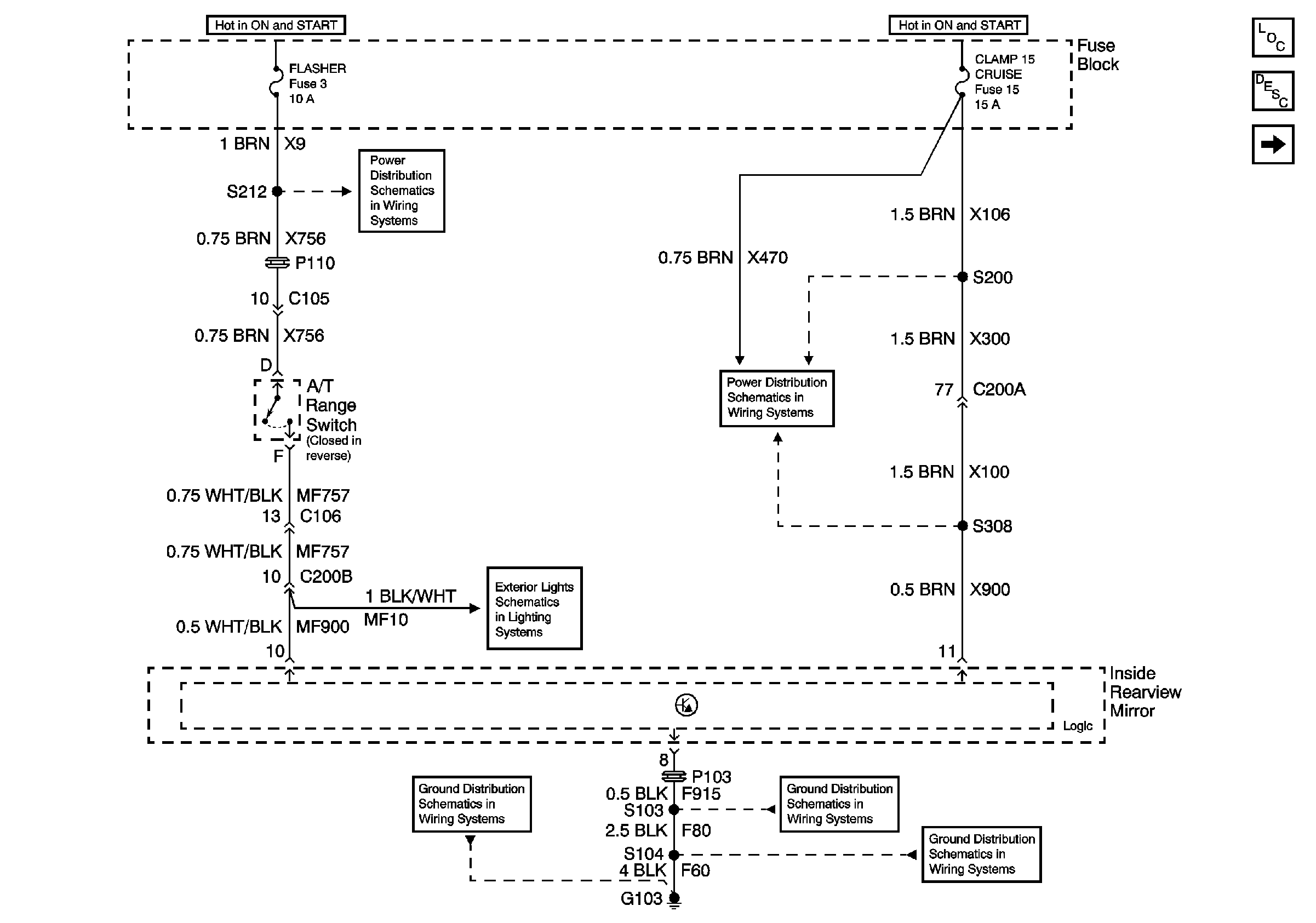
🢒 Power, Ground and Dimming
Power, Ground and Dimming
Power, Ground, and Dimming
Master Electrical Component List
Inside Rearview Mirror Description and Operation
Mirror Position Memory Controls
Underhood Fuse Block Fuses V1 and V4, and Ignition Switch
Underhood Fuse Block Fuses V1 and V4, and Ignition Switch
Fuse Block Fuses 3, 13, and 19
Fuse Block Fuse 15
Stop and Backup Lamps
G103 (1 of 8)
G103 (4 of 8)
G103 (3 of 8)