GM Service Manual Online
For 1990-2009 cars only
Makes
🢒
Cadillac
🢒
1997
🢒
Concours
🢒 A/C Sensors
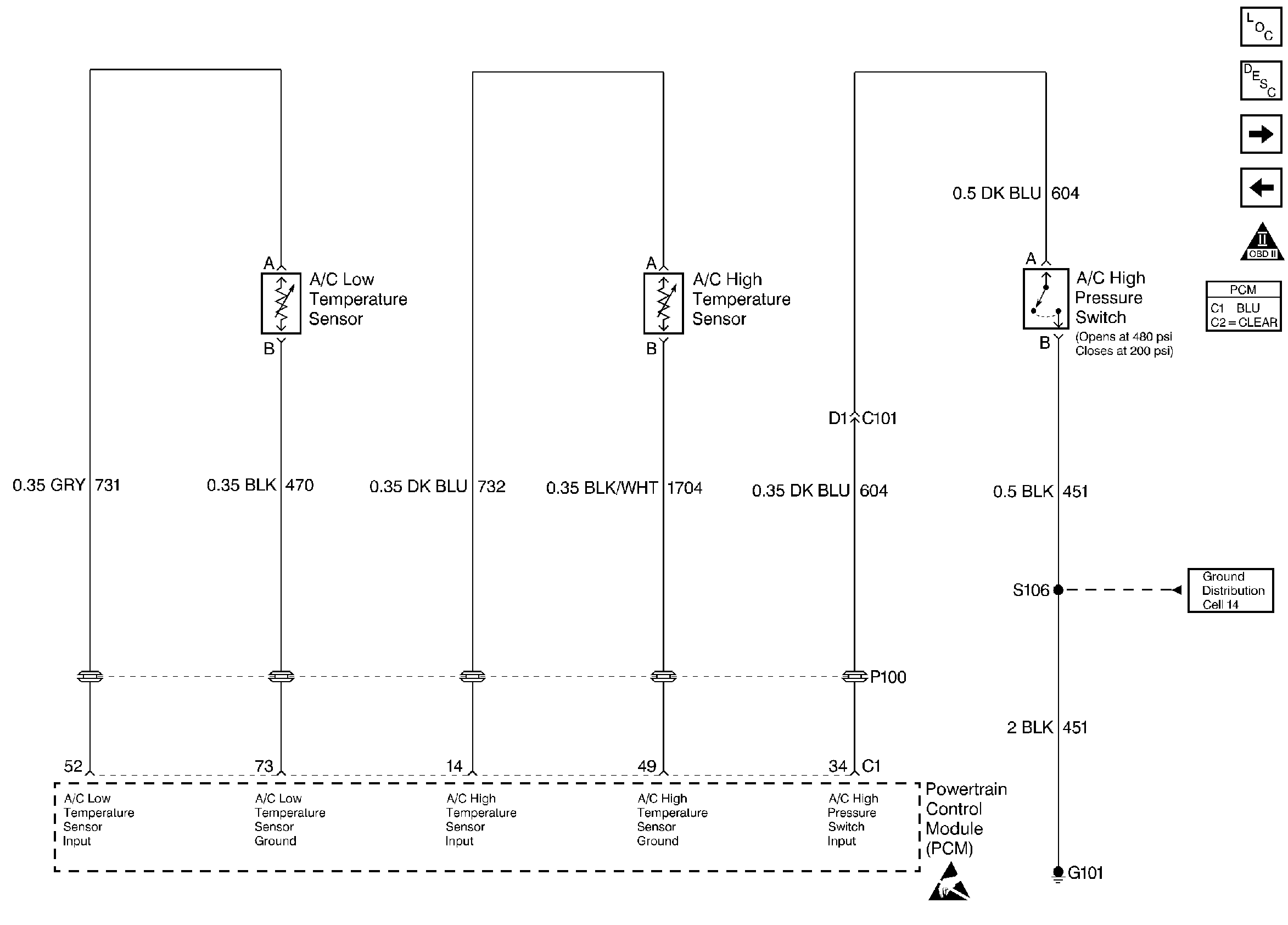
A/C Sensors
A/C Sensors
Coolant Fans/Relays
A/C Compressor Controls
Engine Controls Components
OBD II Symbol Description Notice
ESD Notice