GM Service Manual Online
For 1990-2009 cars only

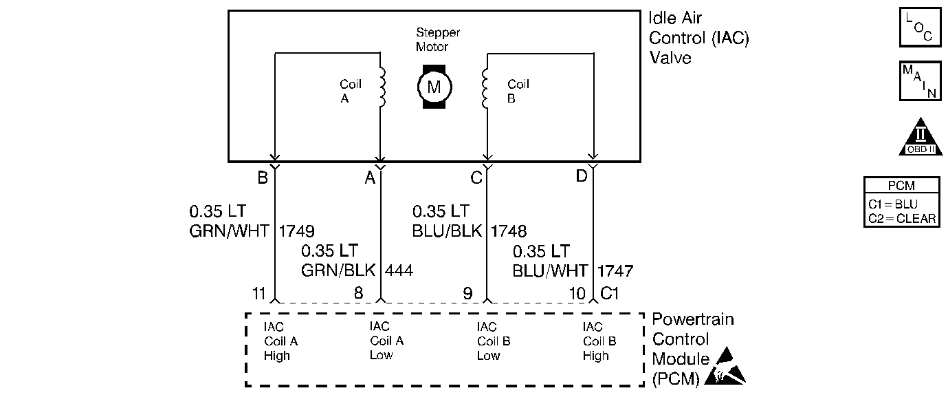
Object Number: 13020  Size: SF
Engine Controls Components
IAC Valve and PSP/ Oil Level/ TR Switches
OBD II Symbol Description Notice
ESD Notice

Circuit Description

This diagnostic test is used to determine if the Idle Air Control (IAC) system is maintaining the proper idle speed. The IAC system controls idle speed by allowing a certain amount of air to bypass the throttle body, the throttle plate is closed during idle, through the IAC valve. The PCM controlled IAC motor moves a pintle in and out of the IAC valve, thus varying the amount air entering the intake manifold. By varying the amount of air intake, different idle speeds can be achieved. When the pintle is in, the valve is closed and low idle speeds result. When the pintle is out, the valve is open and high idle speeds occur. If the engine idle speed is less than the desired idle speed and all test conditions are met, the PCM will cycle the IAC valve and expect to see a change in the MAF sensor reading. If no change occurs DTC P1508 is set.

Conditions for Setting the DTC

Test Conditions

    •  DTCs P0101, P0102, P0103, P0106, P0107, P0108, P0112, P0113, P0117, P0118, P0121, P0122, P0123, P0201, P0202, P0203, P0204, P0205, P0206, P0207, P0208 or P502 not set.
    •  P1370, P1371, P1406 or P1441not testing.
    •  PCM not checking EGR operation.
    •  Ignition voltage between 10.5 and 15 volts.
    •  BARO at least 65 kPa.
    •  ECT is between -20°C (-4°F) and 110°C (230°F).
    •  Engine running for at least 10 seconds.
    •  PCM in Closed Loop fuel control.
    •  MAF between 2 and 35 grams per second
    •  Actual idle speed less than desired idle speed by at least 80 RPM.
    •  Vehicle speed between 30 and 45 MPH.
    •  Commanded IAC position between 100 and 205 counts.
    •  Throttle position varies less than 1 degree throughout the test.
    •  Engine speed varies less than 75 RPM throughout the test.
    • A P/N to D/R or a D/R to P/N transition has not occured within the last 60 seconds.

Failure Condition

MAF changes less than 1.5 grams per second during the 2 seconds that the IAC position was increased.

Action Taken When the DTC Sets

    •  The PCM will illuminate the malfunction indicator lamp (MIL) when the diagnostic runs and fails.
    •  The PCM will record operating conditions at the time the diagnostic fails. This information will be stored in the Freeze Frame and Failure Records.

Conditions for Clearing the MIL/DTC

    •  The PCM will turn the MIL OFF after three consecutive drive trips that the diagnostic runs and does not fail.
    •  A Last Test Failed (current) DTC will clear when the diagnostic runs and does not fail.
    •  A History DTC will clear after forty consecutive warm-up cycles with no failures of any emission related diagnostic test.
    • Use a scan tool to clear DTCs.
    • Interrupting PCM battery voltage may or may not clear DTCs. This practice is not recommended. Refer to Clearing Diagnostic Trouble Codes in PCM Description and Operation.

Test Description

Number(s) below refer to the step number(s) on the Diagnostic Table.

  1. Checking if fault is present.

  2. Checking for a circuit fault.

  3. Checking for deposits, blockage, etc.

Step

Action

Value(s)

Yes

No

1

Was the Powertrain On-Board Diagnostic (OBD) System Check performed?

--

Go to Step 2

Go to A Powertrain On Board Diagnostic (OBD) System Check

2

  1. Start and idle the engine.
  2. Turn all accessories OFF.
  3. Using a scan tool select Misc Tests select IAC System.
  4. Command the engine speed up to 1500 RPM, down to 500 RPM then back to 1500 RPM while monitoring the Engine Speed display.

Does the Engine Speed remain within the specified value of Desired Idle for each RPM command?

50 RPM

Fault not present. Refer to Diagnostic Aids

Go to Step 3

3

  1. Disconnect the IAC valve.
  2. Install IAC Node Light J 37027 or equivalent.
  3. With the engine running, command the engine speed up to 1500 RPM, down to 500 RPM then back to 1500 RPM while monitoring the node light.

Does each node light cycle red and green (never OFF)?

--

Go to Step 5

Go to Step 4

4

  1. Check circuits 444, 1747, 1748 and 1749 (IAC CKTs) for opens shorts to ground and shorts to voltage.
  2. If a problem is found repair as necessary.

Was a problem found and repaired?

--

Go to Powertrain Control Module Diagnosis for Verify Repair

Go to Step 8

5

Visually/physically inspect for the following conditions:

    • Throttle body tampering (adjustment screw).
    • Restricted air intake system. Check for a possible collapsed air intake duct, restricted air filter, or foreign objects blocking the air intake system.
    • Throttle body. Check for objects blocking the IAC passage or throttle bore, excessive deposits in the IAC passage and on the pintle, and excessive deposits in the throttle bore and on the throttle plate.

Do any of the above require a repair?

--

Refer to appropriate section for on-vehicle service.

Go to Step 6

6

Check for poor terminal contact at the IAC harness connector.

Was a problem found and repaired?

--

Go to Powertrain Control Module Diagnosis for Verify Repair

Go to Step 7

7

Replace the IAC valve. Refer to IAC Valve Replacement .

Is the repair complete?

--

Go to Powertrain Control Module Diagnosis for Verify Repair

--

8

  1. Check terminal contact at the PCM connector C1 terminals 8, 9, 10 and 11.
  2. Repair terminal contact if needed.

Was terminal contact repaired?

--

Go to Powertrain Control Module Diagnosis for Verify Repair

Go to Step 9

9

Replace the PCM. Refer to PCM Replacement/Programming .

Is the repair complete?

--

Go to Powertrain Control Module Diagnosis for Verify Repair

--