GM Service Manual Online
For 1990-2009 cars only

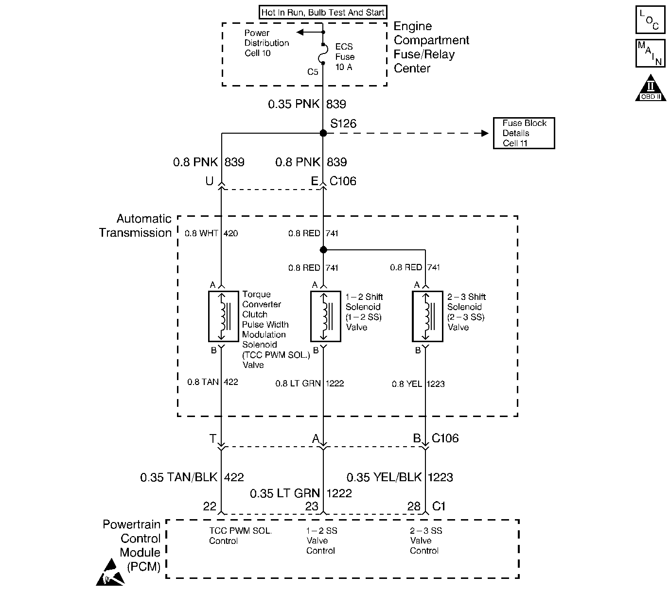
Object Number: 15695  Size: LF
Automatic Transmission Components
Brake Switch, Solenoids, and VSS
Handling ESD Sensitive Parts Notice
OBD II Symbol Description Notice

System Operation

Ignition voltage is provided to the Torque Converter Clutch Pulse Width Modulation Solenoid Valve (TCC PWM Sol. Valve). The Powertrain Control Module (PCM) controls the ON and OFF time of the solenoid by providing a ground through the Output Driver Module (ODM) B. The PCM uses a PWM duty cycle, in order to control application and release of the TCC. When the solenoid is commanded OFF, the PCM senses high volts. When the solenoid is commanded ON, the PCM senses low volts.

If the PCM detects voltage limits that do not meet the calibration, then DTC P1860 sets. DTC P1860 is a Type A DTC.

Conditions for Setting the DTC

    • No ODM DTC P1650.
    • The engine has been running for 5 seconds.
    • The TCC PWM Sol. Valve duty cycle is less than 10% or greater than 85%.
    • The PCM detects an open, a short to ground, or a short to power on the TCC PWM Sol. Valve circuit within 5 seconds.

Action Taken When the DTC Sets

    • The PCM illuminates the Malfunction Indicator Lamp (MIL).
    • SERVICE ENGINE SOON, SERVICE TRANSMISSION displays on the Driver Information Center (DIC).
    • The PCM inhibits Torque Converter Clutch.
    • The PCM inhibits 4th gear when the transmission is in hot mode.
    • DTC P1860 is stored in the PCM history.

Conditions for Clearing the MIL/DTC

    • The PCM turns OFF the MIL after three consecutive trips without a failure reported.
    • A scan tool can clear the DTC from the PCM history. The PCM clears the DTC from the PCM history if the vehicle completes 40 warm-up cycles without a failure reported.
    • The PCM cancels the DTC default actions when the fault no longer exists and the ignition is OFF long enough in order to power down the PCM.

Diagnostic Aids

    • Inspect the wiring for poor electrical connections at the PCM. Inspect the wiring for poor electrical connections at the transmission 20-way connector. Inspect the wiring for poor electrical connections at the 2-way TCC Sol. Valve connector. Look for the following problems:
       - A bent terminal
       - A backed out terminal
       - A damaged terminal
       - Poor terminal tension
       - A chafed wire
       - A broken wire inside the insulation
       - Moisture intrusion
    • Ensure that the transmission fluid is at the proper level.
    • When diagnosing for an intermittent short or open, massage the wiring harness while watching the test equipment for a change.

Test Description

The numbers below refer to the step numbers on the diagnostic table.

  1. This step verifies power to terminal U of the Engine Wiring Harness. If the test lamp lights, inspect circuit 422 for a short to ground.

  2. This step uses the scan tool in order to cycle the TCC Sol. Valve ON and OFF.

  3. This step verifies that the TCC PWM Sol. Valve is within resistance specifications.

DTC P1860 Torque Converter Clutch Pulse Width Modulation Solenoid Circuit Electrical

Step

Action

Value(s)

Yes

No

1

Was the Powertrain On-Board Diagnostic (OBD) System Check performed?

--

Go to Step 2

Go to A Powertrain On Board Diagnostic (OBD) System Check

2

Have you performed the transmission fluid checking procedure?

--

Go to Step 3

Go to Transmission Fluid Check

3

  1. Install the Scan Tool ®.
  2. With the engine OFF, turn the ignition switch to the RUN position.
  3. Important: Before clearing the DTCs, use the scan tool in order to record the Freeze Frame and Failure Records for reference. Using the Clear Info function will erase the stored Freeze Frame and Failure Records from the PCM.

  4. Record the DTC Freeze Frame and Failure Records, then clear the DTC.
  5. Disconnect the transmission 20-way connector.
  6. Install the J 39775 Jumper Harness to the engine side of the 20-way connector.
  7. Using the J 35616-A Connector Test Adapter Kit, connect a test light from terminal U to terminal T.

Is the test lamp ON?

--

Go to Step 4

Go to Step 5

4

Inspect circuit 422 for a short to ground.

Refer to Electrical Diagnosis, Section 8.

Did you find and correct the condition?

--

Go to Step 18

Go to Step 17

5

  1. Enter Special Functions, then enter TCC Enable.
  2. Cycle the TCC Sol. Valve ON and OFF three times.
  3. The test lamp should pulse.

Does the test lamp cycle ON and OFF as commanded?

--

Go to Step 10

Go to Step 6

6

Is the test lamp always OFF?

--

Go to Step 7

Go to Step 8

7

  1. Inspect circuit 839 and circuit 422 for an open.

Refer to Electrical Diagnosis, Section 8.

Did you find and correct the condition?

--

Go to Step 18

Go to Step 17

8

Is the test lamp always ON?

--

Go to Step 9

--

9

Inspect circuit 422 for a short to power.

Refer to Electrical Diagnosis, Section 8.

Did you find and correct the condition?

--

Go to Step 18

Go to Step 17

10

  1. Disconnect the J 39775 Jumper Harness from the engine side of the 20-way connector.
  2. Install the J 39775 Jumper Harness transmission side of the 20-way connector.
  3. Using the J 35616-A Connector Test Adapter Kit, connect the J 39200 DMM from terminal U to terminal T and measure the resistance.

Is the resistance value within the specified range?

10-15 ohms

Go to Step 17

Go to Step 11

11

Is the resistance greater than the specified value?

15 ohms

Go to Step 12

Go to Step 13

12

  1. Inspect circuit 420 of the Automatic Transmission Wiring Harness for an open.
  2. Inspect circuit 422 for an open.

Refer to Electrical Diagnosis, Section 8.

Did you find the condition?

--

Go to Step 15

Go to Step 16

13

Measure the resistance from terminal T to the transmission case.

Is the resistance less than the specified value?

100 ohms

Go to Step 14

Go to Step 16

14

Inspect circuit 422 of the Automatic Transmission Wiring Harness for a short to ground.

Refer to Electrical Diagnosis, Section 8.

Did you find the condition?

--

Go to Step 15

Go to Step 16

15

Replace the Automatic Transmission Wiring Harness.

Refer to Automatic Transmission Wiring Harness Replacement, in On-Vehicle Service.

Is the replacement complete?

--

Go to Step 18

--

16

Replace the TCC PWM Sol. Valve.

Refer to TCC PWM Sol. Valve Replacement, in On-Vehicle Service.

Is the replacement complete?

--

Go to Step 18

--

17

Replace the PCM.

Refer to PCM Replacement/Programming , Section 6.

Is the replacement complete?

--

Go to Step 18

--

18

In order to verify your repair, perform the following procedure:

  1. Select DTC.
  2. Select Clear Info.
  3. Operate the vehicle under the following conditions:
  4. 3.1. Road test the vehicle with the gear select lever in D4.
    3.2. Increase the vehicle speed until TCC Enable turns ON.
    3.3. Ensure that the TCC duty cycle is 10-85% for more than 5 seconds.
  5. Select Specific DTC. Enter DTC P1860.

Has the test run and passed?

--

System OK

Begin the diagnosis again. Go to Step 1