GM Service Manual Online
For 1990-2009 cars only
Makes
🢒
Cadillac
🢒
1998
🢒
DeVille
🢒 Cell 42: Automatic Level Control - Rear Sensors (With F45)
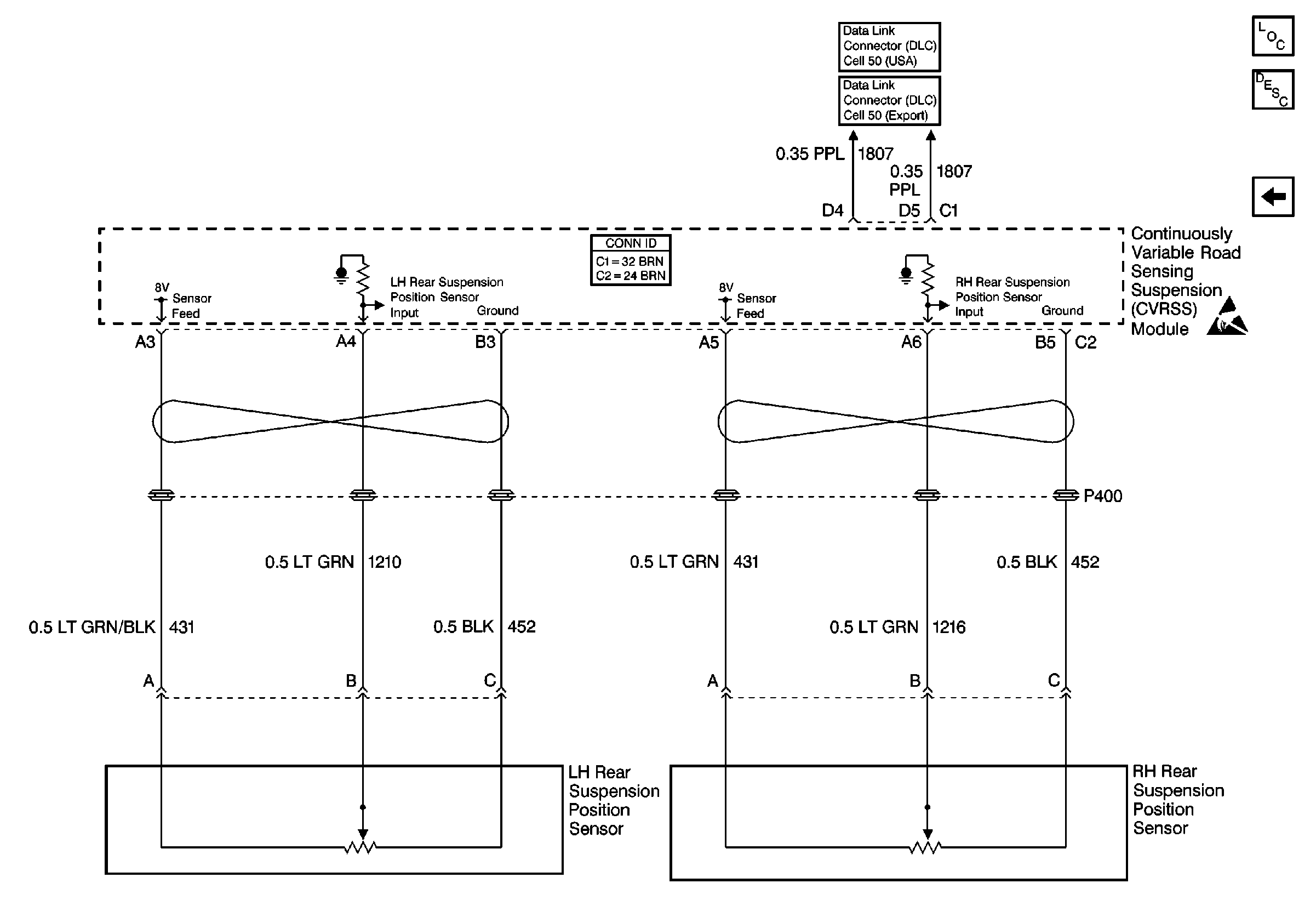
Cell 42: Automatic Level Control - Rear Sensors (With F45)
Cell 42: Automatic Level Control -- Rear Sensors (With F45)
Automatic Level Control Suspension Components
Automatic Level Control General Description
Cell 42: Automatic Level Control - Compressor (With F45)
Handling ESD Sensitive Parts Notice
Data Link Connector Schematics
Data Link Connector Schematics
Suspension Controls Connector End Views