GM Service Manual Online
For 1990-2009 cars only

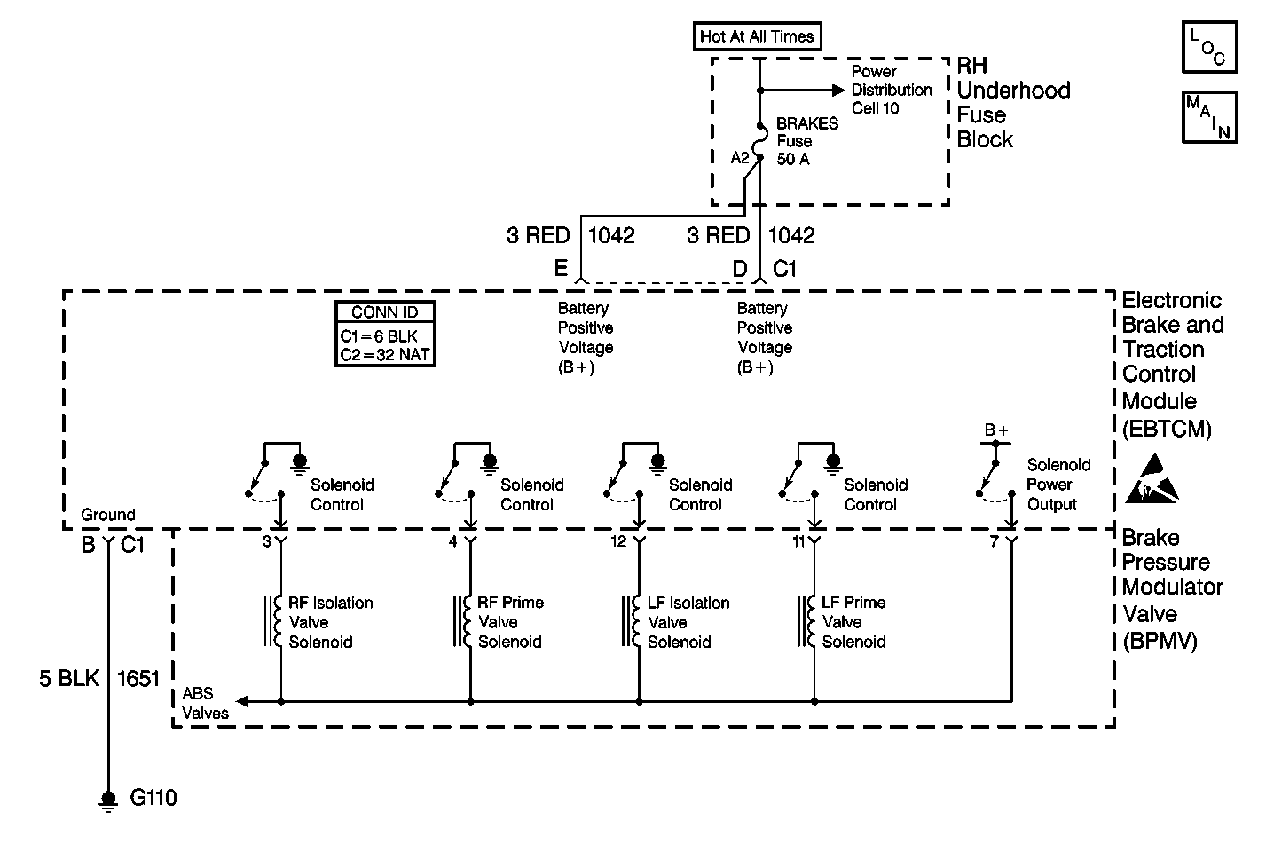
Object Number: 413321  Size: MF
ABS Components
Cell 44: Power, Ground, and ANTILOCK Indicator
Handling ESD Sensitive Parts Notice
Cell 10: Battery
Cell 44: Power, Ground, and ANTILOCK Indicator

Circuit Description

The valve solenoid circuits are supplied with battery power when the ignition is ON. The EBTCM controls the valve functions by grounding the circuit when necessary.

Conditions for Setting the DTC

The EBTCM senses a discrepancy such as an open, short to ground, or short to voltage in the circuit.

Action Taken When the DTC Sets

    • A malfunction DTC is stored.
    • The ABS/TCS/Stabilitrak® is disabled.
    • The ABS indicator is turned ON.
    • The TRACTION CONTROL indicator is turned ON.
    • The DIC displays the SERVICE STABILITY SYS message.

Conditions for Clearing the DTC

    • The condition for DTC is no longer present and you used scan tool Clear DTCs function.
    • The condition for DTC is no longer present and you used the On-Board Clear DTCs function.
    • The EBTCM does not detect the DTC in 50 drive cycles.

Diagnostic Aids

Make sure the integrity of the connection between the EBTCM and the BPMV is secure, tight, and free from corrosion.

Test Description

The numbers below refer to step numbers on the diagnostic table.

  1. Checks the resistance value of the solenoid.

  2. Checks for a short to ground in the BPMV.

  3. Checks for an internal short to voltage.

DTC C1271 LF TCS Master Cylinder Isolation Valve Malfunction

Step

Action

Value(s)

Yes

No

1

Was the Diagnostic System Check performed?

--

Go to Step 2

Go to Diagnostic System Check

2

  1. Turn the ignition switch to the OFF position.
  2. Disconnect the electronic brake traction control module (EBTCM) connector.
  3. Remove the EBTCM from the brake pressure modulator valve (BPMV).
  4. Inspect the EBTCM to BPMV connector for conditions which could cause intermittents such as damage, corrosion, or poor terminal contact.

Are the internal connectors OK and the cavity free of brake fluid?

--

Go to Step 3

Go to Step 6

3

  1. Install a J 41247 BPMV pinout box to the BPMV connector.
  2. Use a J 39200 digital multimeter (DMM) in order to measure the resistance between the J 41247 terminal 12 and terminal 7.

Is the resistance within the specified range?

8-12 ohms

Go to Step 4

Go to Step 8

4

Use the DMM in order to measure the resistance between the J 41247 terminal 12 and the BPMV case.

Is the resistance equal to the specified value?

OL (infinite)

Go to Step 5

Go to Step 8

5

  1. Remove the J 41247 .
  2. Reinstall the EBTCM to the BPMV.
  3. Reconnect the EBTCM connector.
  4. Turn the ignition switch to the RUN position, leaving the engine off.

Does the DTC reset as a current DTC?

--

Go to Step 9

Go to Step 7

6

  1. If connector corrosion or damage are present, replace the BPMV and/or the EBTCM as necessary.
  2. If brake fluid is present, replace both the BPMV and the EBTCM. Refer to the following procedures:

Did you complete the repair?

--

Go to Diagnostic System Check

--

7

Using a scan tool set to ABS/TCS Special Functions in order to run the AUTOMATED Test.

Does the DTC reset as a current DTC?

--

Go to Step 8

Go to Diagnostic System Check

8

Replace the BPMV. Refer to Brake Pressure Modulator Valve Replacement .

Did you complete the repair?

--

Go to Diagnostic System Check

--

9

Replace the EBTCM. Refer to Electronic Brake Control Module Replacement .

Did you complete the repair?

--

Go to Diagnostic System Check

--