GM Service Manual Online
For 1990-2009 cars only

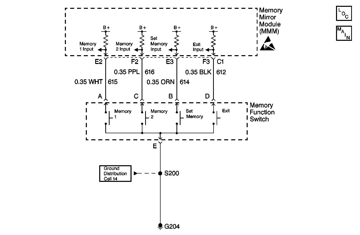
Object Number: 493523  Size: MF
Power Door Systems Components
Outside Rearview Mirror Schematics
Handling ESD Sensitive Parts Notice
Ground Distribution Schematics

Circuit Description

The memory mirror module (MMM) receives inputs from the Memory 1 switch. When the Memory 1 switch is operated, the switch grounds and the MMM recognizes the input. The MMM performs the action requested and sends a class 2 message to the memory seat module (MSM). The MSM then performs the action requested.

Conditions for Setting the DTC

The MMM sets the appropriate DTC any time the MMM detects a switch failure.

Action Taken When the DTC Sets

    • The motor outputs being driven in response to the suspect switch are deactivated.
    • The MMM continues responding to valid inputs from the other positioning switches.
    • All of the memory recall commands are ignored.

Conditions for Clearing the DTC

    • The MMM does not detect the switch failure during the last monitoring cycle.
    • A history DTC will clear after 50 consecutive ignition cycles if the condition for the malfunction is no longer present.
    • Use the On-Board Clearing DTCs feature.
    • Use a scan tool.

Diagnostic Aids

This diagnostic determines if the switch is stuck or if the input wiring to the memory mirror module (MMM) has a short to ground. If CKT 615 (WHT) has a short to ground, the DTC will set again. If the switch is stuck, the DTC will not set again with the memory function switch disconnected.

Test Description

The numbers below refer to the step numbers on the diagnostic table.

  1. Perform the Power Door Systems Diagnostic System Check

  2. This step determines if the malfunction is in CKT 615 (WHT) or in the memory function switch.

  3. Clear all of the DTCs after the repair procedure is complete.

Step

Action

Value(s)

Yes

No

1

Did you perform the Power Door Systems Diagnostic System Check?

--

Go to Step 2

Go to Diagnostic System Check - Power Door Systems

2

  1. Connect a scan tool.
  2. Turn ON the ignition.
  3. Disconnect the memory function switch.
  4. Use the Scan Tool in order to clear all of the DTCs. Refer to Diagnostic Trouble Code (DTC) Clearing in HVAC System - Automatic.

After 30 seconds, does the DTC reset?

--

Go to Step 3

Go to Step 4

3

Repair the short to ground in CKT 615 (WHT). Refer to Wiring Repairs in Wiring Systems.

Is the repair complete?

--

Go to Step 5

--

4

Replace the memory function switch.

Is the repair complete?

--

Go to Step 5

--

5

  1. Turn OFF the ignition.
  2. Connect or install any connectors or components that were disconnected or removed.
  3. Turn ON the ignition.
  4. Clear all of the DTCs. Refer to Diagnostic Trouble Code (DTC) Clearing in HVAC System - Automatic.

Are all of the DTCs cleared?

--

Go to Diagnostic System Check - Power Door Systems

--