GM Service Manual Online
For 1990-2009 cars only

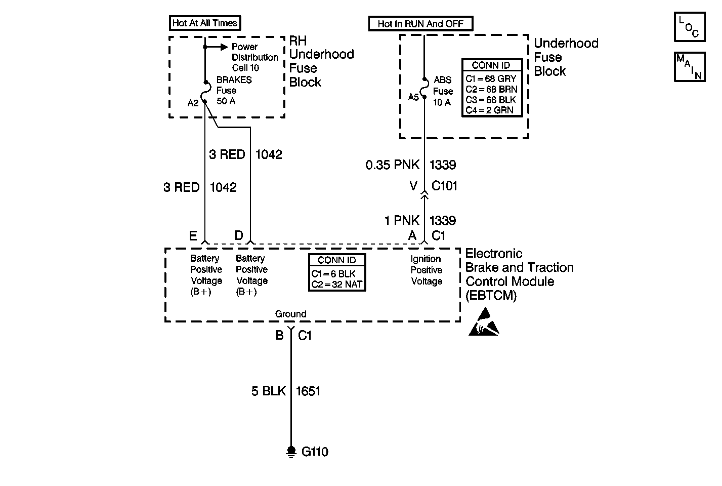
Object Number: 413305  Size: MF
ABS Components
Cell 44: Power, Ground, and ANTILOCK Indicator
Handling ESD Sensitive Parts Notice
Cell 10: Battery

Circuit Description

The solenoid valve relay supplies power to the solenoid valves. The solenoid valve relay activates when the ignition is ON and when no DTCs are present. Power is supplied to the valve solenoids through the solenoid valve relay via CKT 1042. Power is supplied to the pump motor via CKT 1042. The ignition input is supplied via CKT 1339.

Conditions for Setting the DTC

    • The ignition voltage is greater than 10.5 volts.
    • The solenoid relay is commanded ON.
    • The solenoid relay voltage is less than 8.0 volts.

Action Taken When the DTC Sets

    • A malfunction DTC is stored.
    • The ABS/TCS/Stabilitrak® is disabled.
    • The ABS indicator is turned ON.
    • The TRACTION CONTROL indicator is turned ON.
    • The DIC displays the SERVICE STABILITY SYS message.

Conditions for Clearing the DTC

    • The condition for DTC is no longer present and you used scan tool Clear DTCs function.
    • The condition for DTC is no longer present and you used the On-Board Clear DTCs function.
    • The EBTCM does not detect the DTC in 50 drive cycles.

Diagnostic Aids

    • Perform a thorough inspection of the wiring and the connectors. Failure to carefully and fully inspect wiring and connectors may result in misdiagnosis, causing part replacement with reappearance of the malfunction.
    • An intermittent malfunction may be caused by poor connections, broken insulation, or a wire that is broken inside the insulation.
    • If an intermittent malfunction exists, refer to Intermittents and Poor Connections .

Test Description

The numbers below refer to step numbers on the diagnostic table.

  1. Checks for a short to ground in CKT 1042.

  2. Checks for an internal short in the BPMV.

  3. Checks for an open in CKT 1042.

DTC C1217 Pump Motor Relay Contact Circuit Open

Step

Action

Value(s)

Yes

No

1

Was the Diagnostic System Check performed?

--

Go to Step 2

Go to Diagnostic System Check

2

Inspect the 50 A BRAKES fuse, in the RH underhood fuse block.

Is the fuse OK?

--

Go to Step 7

Go to Step 3

3

  1. Install a new 50 A BRAKES fuse.
  2. Cycle the ignition switch from the OFF to the ON position, leaving the engine off.
  3. Use a scan tool set to ABS/ICCS Special Functions in order to attempt to run the AUTOMATED test.
  4. Reinspect the 50 A BRAKES fuse.

Is the fuse OK?

--

Go to Diagnostic System Check

Go to Step 4

4

  1. Turn the Ignition switch to the OFF position.
  2. Remove the 50 A BRAKES fuse.
  3. Disconnect the electronic brake traction control module (EBTCM).
  4. Disconnect the brake pressure modulator valve (BPMV) ground.
  5. Use the J 39700-25 cable adapter in order to connect the J 39700 universal pinout box to the EBTCM harness connector only.
  6. Use a J 39200 digital multimeter (DMM) in order to measure the resistance between terminal E and terminal  B of the J 39700 .

Is the resistance equal to the specified value?

OL (infinite)

Go to Step 5

Go to Step 10

5

  1. Remove the EBTCM from the BPMV.
  2. Connect the J 41247 pinout box to the BPMV.
  3. Measure the resistance between the J 41247 terminal 8 and the BPMV case.

Is the resistance equal to the specified value?

OL (infinite)

Go to Step 9

Go to Step 6

6

Replace the BPMV. Refer to Brake Pressure Modulator Valve Replacement

Did you complete the repair?

--

Go to Diagnostic System Check

--

7

  1. Install the BRAKES fuse, if removed.
  2. Use the DMM in order to measure the voltage at the 50 A BRAKES fuse by probing between the fuse test terminals and ground.

Is the voltage within the specified range?

Battery Voltage

Go to Step 8

Go to Wiring Repairs in Wiring Systems

8

  1. Turn the Ignition switch to the OFF position.
  2. Disconnect the EBTCM.
  3. Use the J 39700-25 cable adaptor in order to connect the J 39700 universal pinout box to the EBTCM harness connector only.
  4. Use the DMM in order to measure the voltage at terminal E of the J 39700 .

Is the voltage within the specified range?

Battery Voltage

Go to Step 9

Go to Step 11

9

Replace the EBTCM. Refer to Electronic Brake Control Module Replacement .

Did you complete the repair?

--

Go to Diagnostic System Check

--

10

Repair a short to ground in CKT 1042. Refer to Wiring Repairs in Wiring Systems.

Did you complete the repair?

--

Go to Diagnostic System Check

--

11

Repair an open in CKT 1042. Refer to Wiring Repairs in Wiring Systems.

Did you complete the repair?

--

Go to Diagnostic System Check

--