GM Service Manual Online
For 1990-2009 cars only
Makes
🢒
Cadillac
🢒
1999
🢒
DeVille
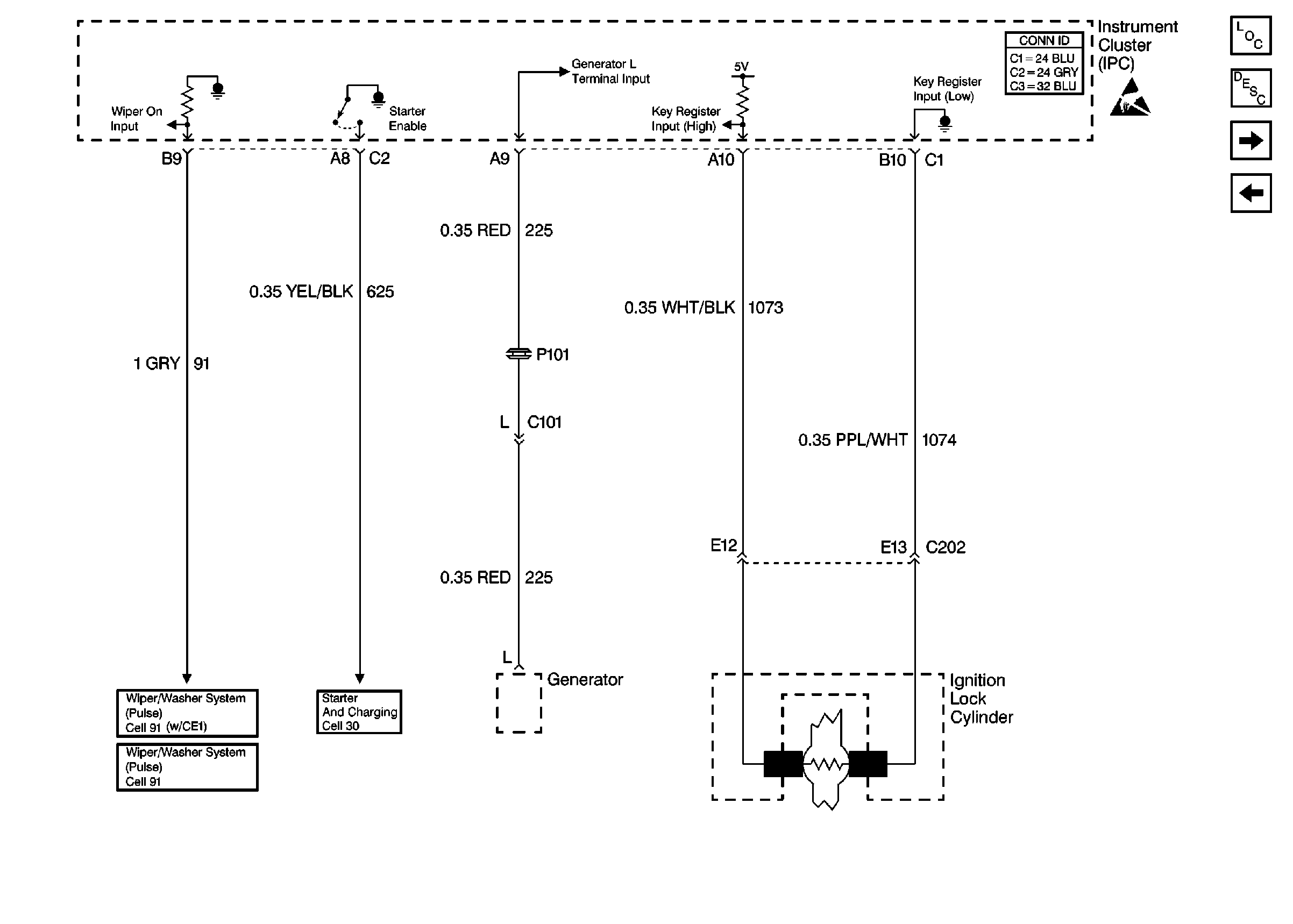
🢒 Cell 82: Instrument Cluster, Ignition Lock Cylinder
Cell 82: Instrument Cluster, Ignition Lock Cylinder
Cell 82: Instrument Cluster, Ignition Lock Cylinder
Instrument Panel, Gages, and Console Component Views
Instrument Cluster Circuit Description
Cell 82: Interior Lights Dimming, Park Switch Input, Light Sensor Input
Cell 82: Instrument Cluster, Warning Switches
Handling ESD Sensitive Parts Notice
Instrument Panel, Gages, and Console Connector End Views
Wiper/Washer System (Pulse) Schematics w/CE1
Wiper/Washer System (Pulse) Schematics w/o CE1
Starting and Charging Schematics