GM Service Manual Online
For 1990-2009 cars only
Makes
🢒
Cadillac
🢒
1999
🢒
DeVille
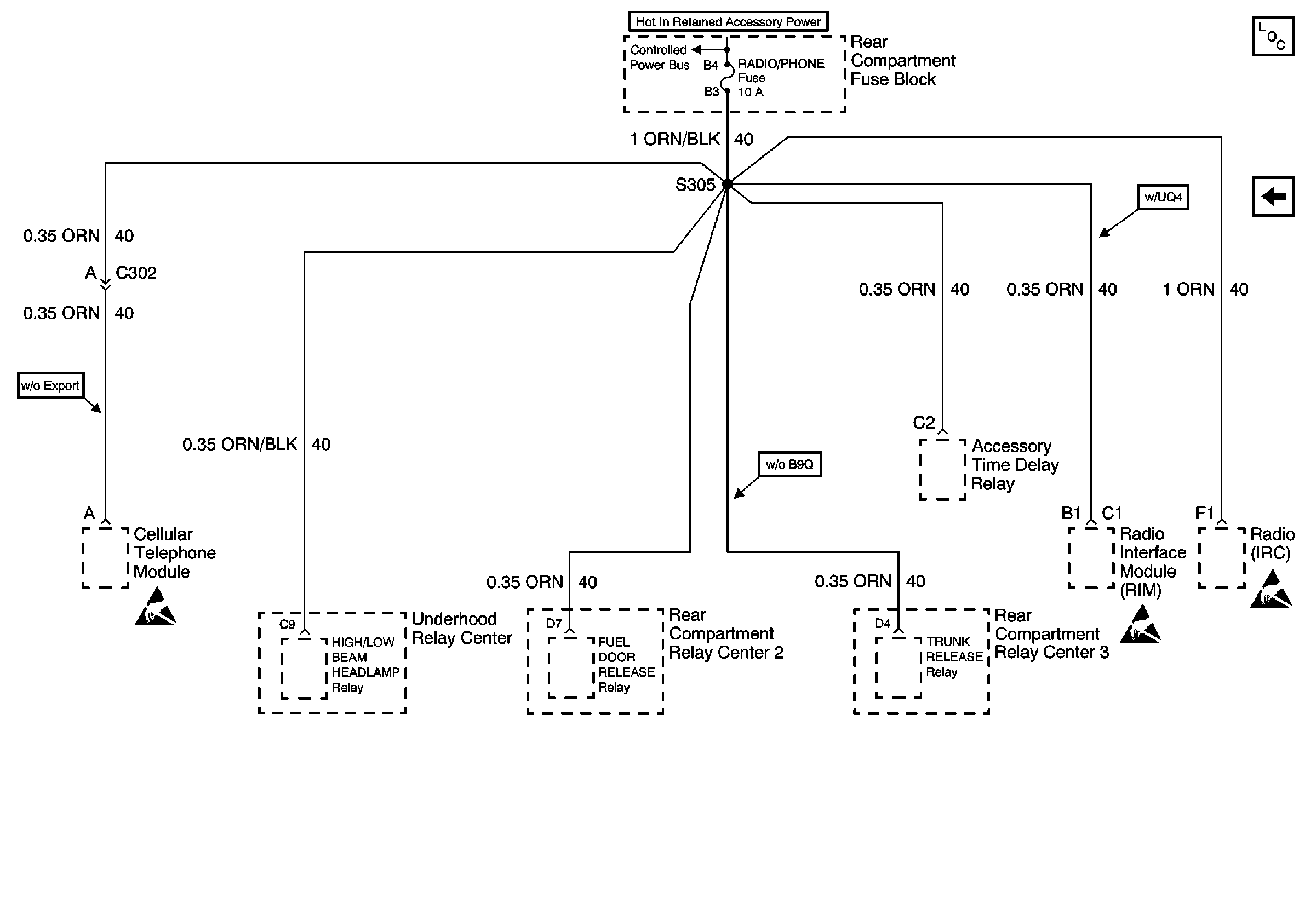
🢒 Cell 10: RADIO/PHONE Fuse
Cell 10: RADIO/PHONE Fuse
Cell 10: RADIO/PHONE Fuse
Power and Grounding Components
Cell 10: LT PARK Fuse (Eldorado)
Cell 10: Battery Power to Fuse Blocks
Handling ESD Sensitive Parts Notice
Handling ESD Sensitive Parts Notice
Handling ESD Sensitive Parts Notice
Cell 10: BODY 3 Fuse