GM Service Manual Online
For 1990-2009 cars only
Makes
🢒
Cadillac
🢒
1999
🢒
DeVille
🢒 Cell 147: Outside Power Mirrors, Eldorado with Memory Mirrors
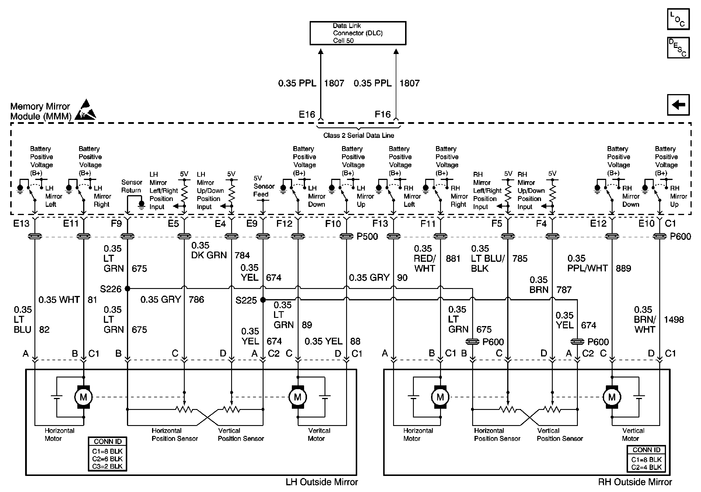
Cell 147: Outside Power Mirrors, Eldorado with Memory Mirrors
Cell 147: Outside Power Mirrors, Eldorado with Memory Mirrors
Power Door Systems Components
Outside Mirrors Circuit Description
Cell 147: Power Mirror Switch, Eldorado with Memory Mirrors
Cell 50: Class 2
Handling ESD Sensitive Parts Notice