GM Service Manual Online
For 1990-2009 cars only

Object Number: 331289  Size: MF
Lighting Systems Components
Cell 112: Backup Lamps
Handling ESD Sensitive Parts Notice
Power Distribution Schematics
Power Distribution Schematics
Body Control System Connector End Views

Circuit Description

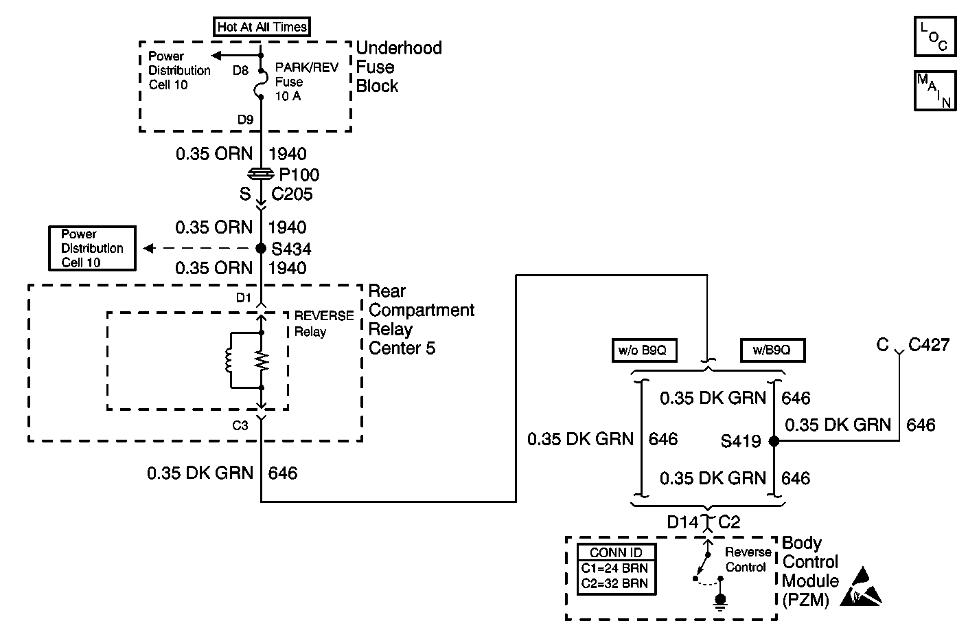
When the body control module (PZM) receives a class 2 serial data message that the transaxle is in reverse, the PZM energizes the reverse lamp relay and the backup lamps are turned on. When the PZM has not commanded the backup lamps on, the voltage at connector C2 terminal D14 is measured every 1000 ms.

Conditions for Setting the DTC

The PZM determines the voltage at connector C2 terminal D14 is approximately equal to ground.

DTC Will Clear When

The PZM determines the voltage at connector C2 terminal D14 is greater than ground for at least 1 monitoring cycle.

Troubleshooting Hints

Inspect CKT 646 (DK GRN) for a short to ground.