GM Service Manual Online
For 1990-2009 cars only
Makes
🢒
Cadillac
🢒
2000
🢒
DeVille
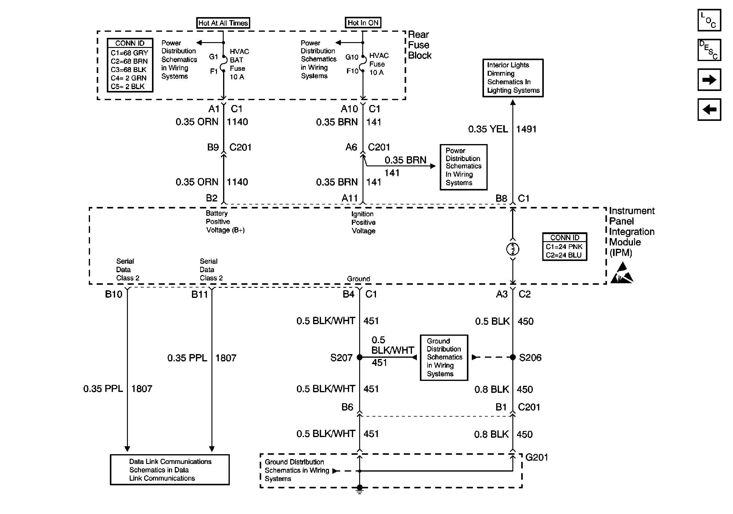
🢒 Instrument Panel Integration Module (IPM) - Power, Ground and Serial Data
Instrument Panel Integration Module (IPM) - Power, Ground and Serial Data
Instrument Panel Integration Module (IPM) -- Power, Ground and Serial Data
Body Control Module Components
Body Control System Circuit Description
Instrument Panel Integration Module (IPM) - HVAC Inputs and Outputs
Dash Integration Module (DIM) - Inputs and Outputs
Handling ESD Sensitive Parts Notice
Power and Grounding Connector End Views Fuse Blocks and Ignition Switch
Rear Fuse Block Battery Voltage
ELC, NIGHT VISION, HVAC, and ABS Fuses
Interior Lights Dimming Schematics
ELC, NIGHT VISION, HVAC, and ABS Fuses
Body Control System Connector End Views
Data Link Connector Schematics
G201 - Steering Column
Ground Distribution Schematics