GM Service Manual Online
For 1990-2009 cars only
Makes
🢒
Cadillac
🢒
2000
🢒
DeVille
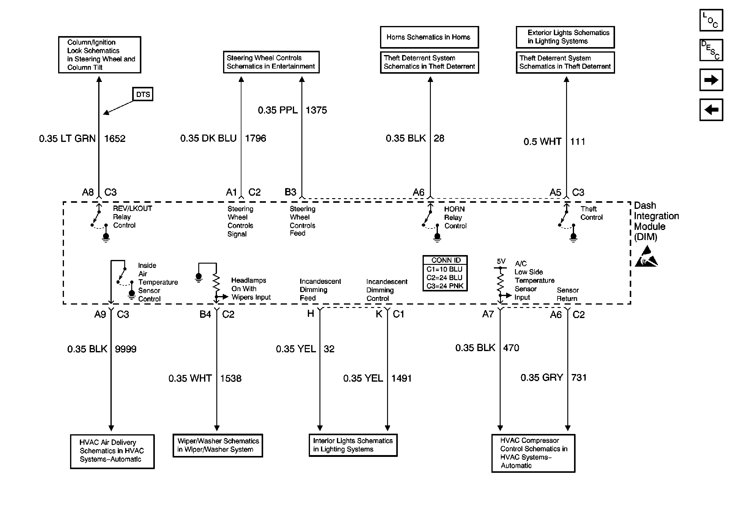
🢒 Dash Integration Module (DIM) - Inputs and Outputs
Dash Integration Module (DIM) - Inputs and Outputs
Dash Integration Module (DIM) -- Inputs and Outputs
Body Control Module Components
Body Control System Circuit Description
Instrument Panel Integration Module (IPM) - Power, Ground and Serial Data
Dash Integration Module (DIM) - Lighting Inputs and Outputs
Handling ESD Sensitive Parts Notice
Column/Ignition Lock Schematics
Steering Wheel Controls Schematics
Horn Schematics
Theft Deterrent System Schematics
Exterior Lights Schematics Domestic w/o V92/V4U/B9Q
Theft Deterrent System Schematics
HVAC Air Delivery/Temperature Control Schematics
Wiper/Washer System (Pulse) Schematics
Interior Lights Schematics w/o V4U/B9Q
HVAC Compressor Control Schematics
Body Control System Connector End Views