GM Service Manual Online
For 1990-2009 cars only

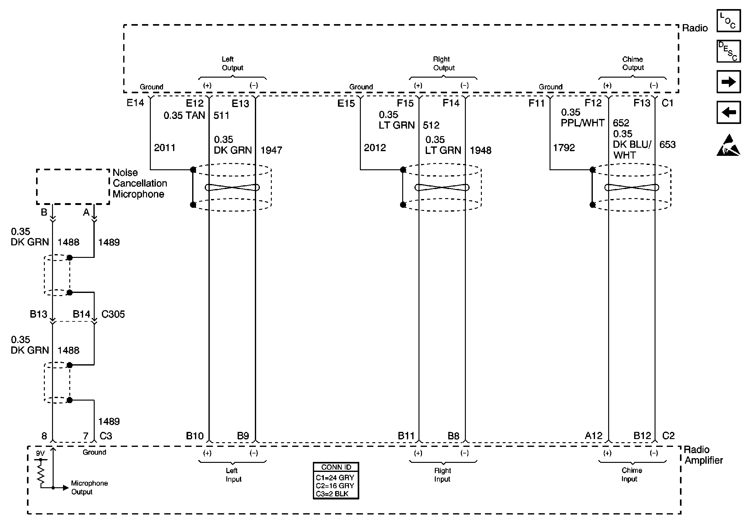
Radio Amplifier

Radio Amplifier


Object Number: 471588  Size: FS
Entertainment Components
Radio/Audio System Circuit Description exc UY4
Front Speakers
Compact Disc (CD) Player
Handling ESD Sensitive Parts Notice