GM Service Manual Online
For 1990-2009 cars only

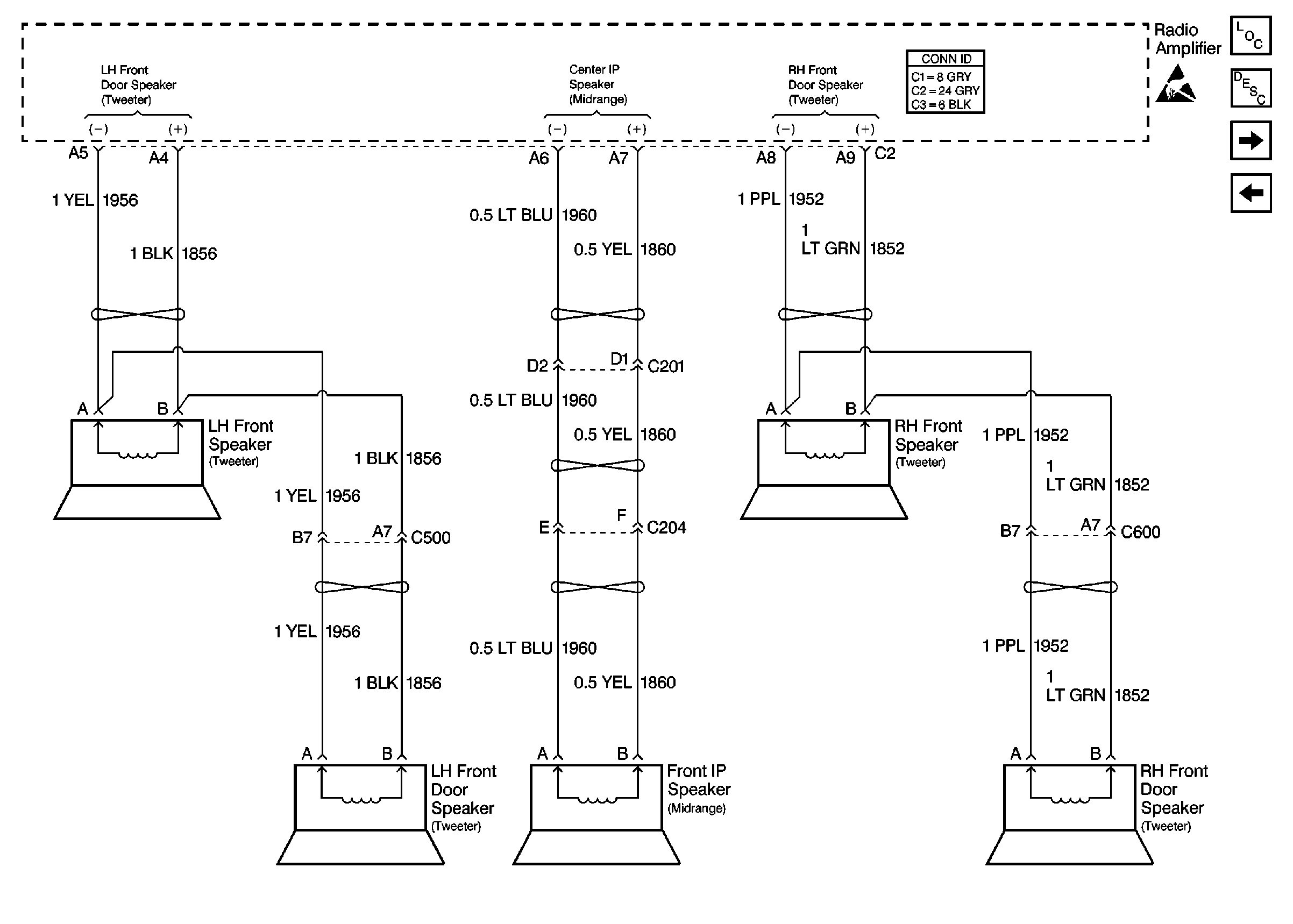
Front Speakers

Front Speakers


Object Number: 471470  Size: FS
Entertainment Components
Radio/Audio System Circuit Description exc UY4
Rear Speakers
Radio Amplifier
Handling ESD Sensitive Parts Notice