GM Service Manual Online
For 1990-2009 cars only
Makes
🢒
Cadillac
🢒
2000
🢒
DeVille
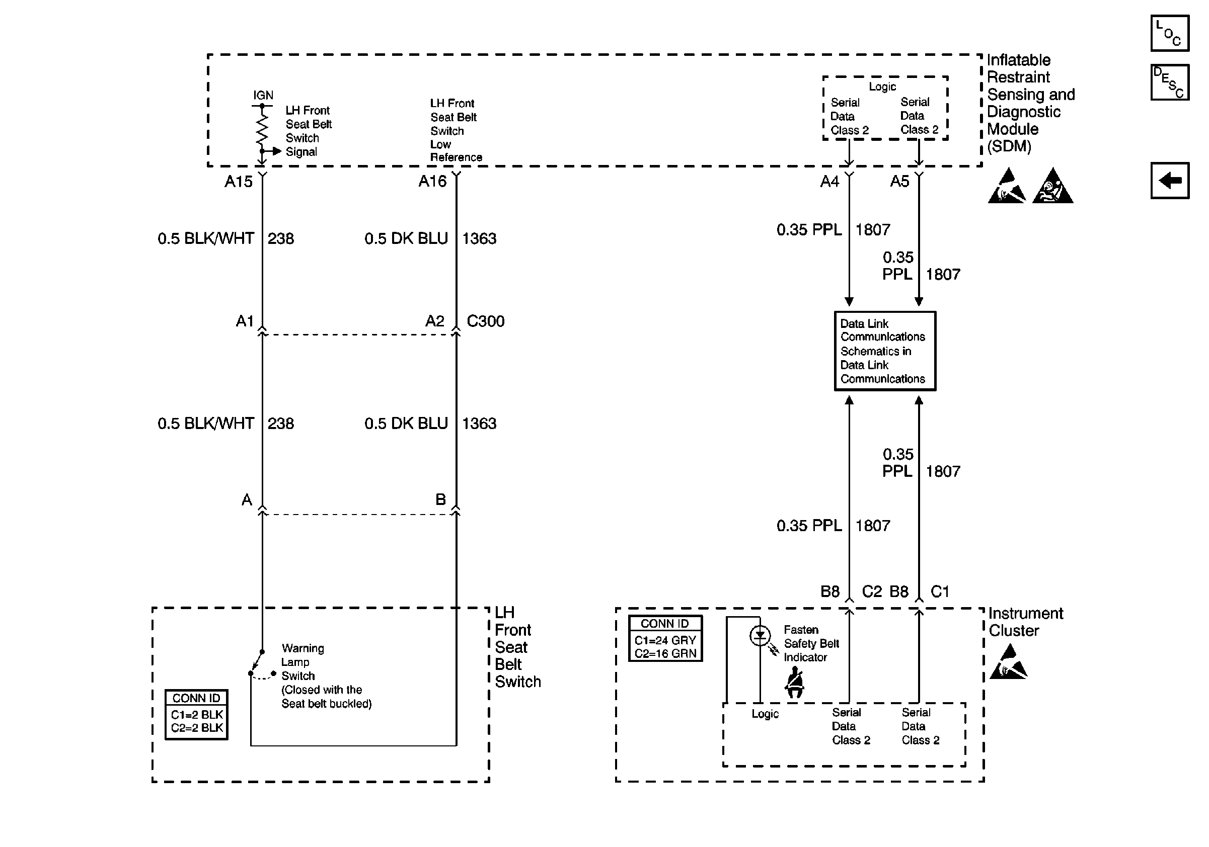
🢒 Fasten Seat Belt Switch and Indicator
Fasten Seat Belt Switch and Indicator
Fasten Seat Belt Switch and Indicator
Seat Belt Components
Seat Belt System Circuit Description
(A45 with AL2) PWR, GND, LH Belt Tower Switch, Motor, and MSM
Handling ESD Sensitive Parts Notice
SIR Caution
Handling ESD Sensitive Parts Notice
Data Link Connector Schematics
Seat Belt Connector End Views
Instrument Panel, Gages, and Console Connector End Views