GM Service Manual Online
For 1990-2009 cars only
Makes
🢒
Cadillac
🢒
2000
🢒
DeVille
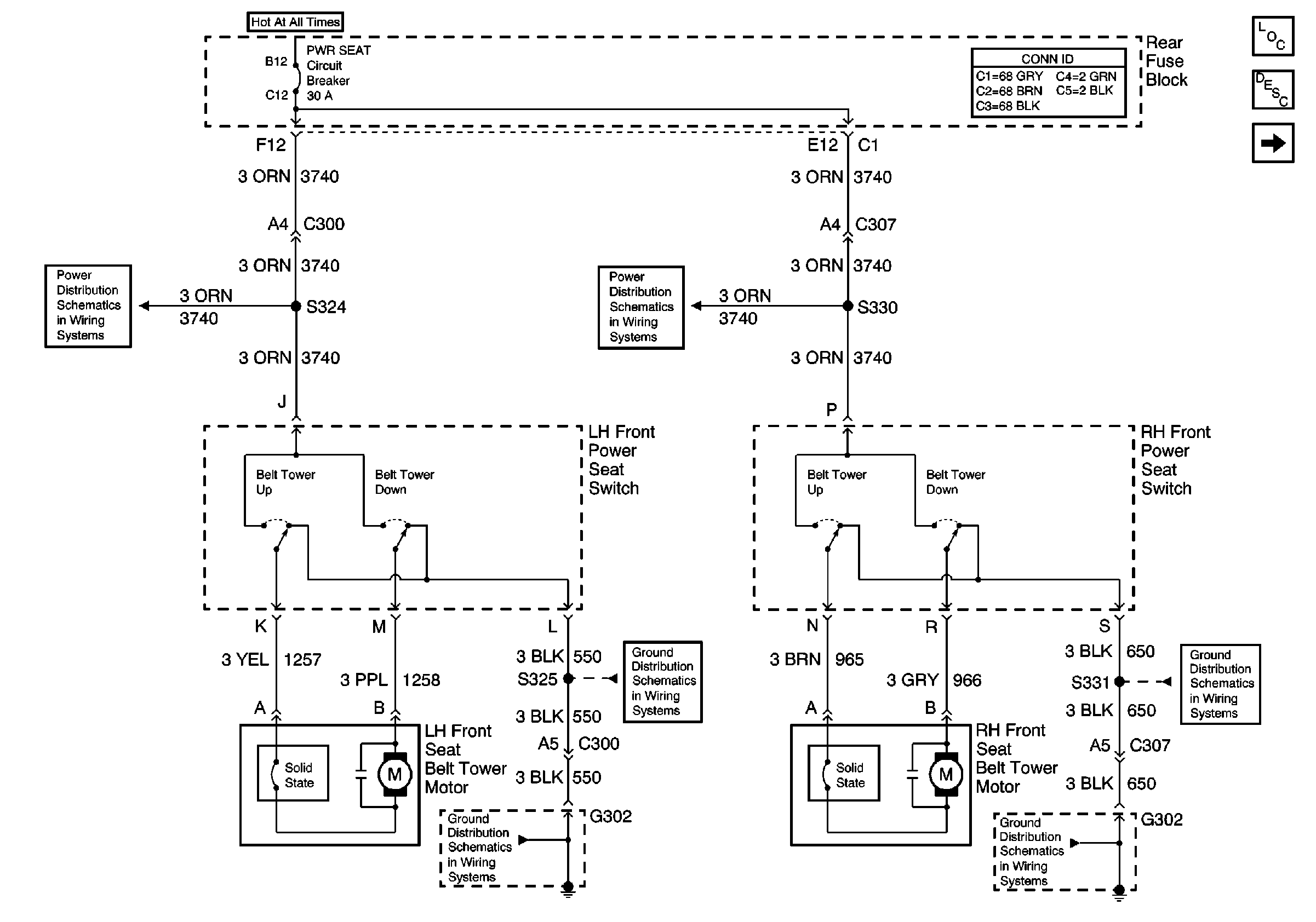
🢒 LH and RH Belt Tower PWR, GND, Switch, and Motors
LH and RH Belt Tower PWR, GND, Switch, and Motors
LH and RH Belt Tower PWR, GND, Switch, and Motors
Seat Belt Components
Seat Belt System Circuit Description
(A45 with AL2) PWR, GND, LH Belt Tower Switch, Motor, and MSM
NAV Fuse and POWER SEAT Circuit Breaker
NAV Fuse and POWER SEAT Circuit Breaker
G302 - LH Front Seat
G302 - LH Front Seat
G302 - RH Front Seat
G302 - RH Front Seat