GM Service Manual Online
For 1990-2009 cars only

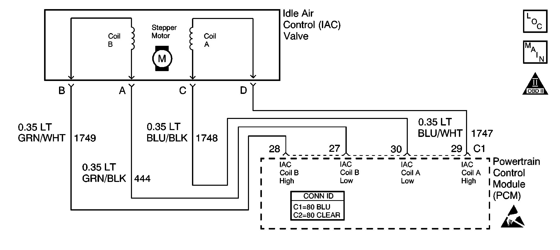
Object Number: 604197  Size: SF
Engine Controls Component Views
MAF/IAT Sensor and IAC Valve
OBD II Symbol Description Notice
Handling ESD Sensitive Parts Notice

Circuit Description

The PCM controls the engine idle speed by controlling the position of the idle air control (IAC) valve. The IAC valve is a bi-directional motor driven by two coils. The PCM sends pulses (steps) to the IAC valve to move a pintle in and out of a passage in the throttle body. When the PCM extends the pintle, the idle speed decreases. The idle speed increases when the PCM retracts the pintle. This method allows a more accurate control of the idle speed, and a quick response to changes in the engine load. If the idle speed is too high, and the PCM is unable to adjust the idle speed by decreasing the IAC pintle position, DTC P0507 will set.

Conditions for Running the DTC

    • No TP sensor, VSS, ECT sensor EGR Flow, EGR Control, Fuel Trim, Ignition Control, Injector, MAF sensor, MAP sensor, IAT sensor, EVAP System, EVAP Control, or Misfire DTCs are set
    • The system voltage is between 10-18 volts.
    • The BARO is more than 85 kPa (12.33 psi).
    • The engine coolant temperature is above 50°C (122°F).
    • The intake air temperature is more than -25°C (-13°F).
    • The engine has been running for at least 2 minutes.

Conditions for Setting the DTC

Actual idle speed is more than 75 RPM higher than the desired idle speed for 15 seconds.

Conditions for Clearing the MIL/DTC

    • The PCM will turn the MIL OFF after the third consecutive trip in which the diagnostic runs and passes.
    • The history DTC will clear after 40 consecutive warm-up cycles have occurred without a malfunction.
    • The DTC can be cleared by using the scan tool Clear DTC Information function.

Conditions for Clearing the MIL/DTC

    • The history DTC will clear after 40 consecutive warm-up cycles have occurred without a malfunction.
    • The DTC can be cleared by using the scan tool Clear DTC Information function.

Diagnostic Aids

If the condition is intermittent, refer to Intermittent Conditions in Symptoms.

Inspect for the following conditions:

    • A vacuum leak -- Inspect for vacuum leaks. Also, check for a faulty, missing, or incorrectly installed crankcase ventilation valve.
    • The throttle body -- Check for the following conditions at the throttle body:
       - A sticking throttle plate
       - Objects, or excessive deposits that will not allow the IAC pintle to fully extend

Step

Action

Values

Yes

No

1

Did you perform the Powertrain On-Board Diagnostic (OBD) System Check?

--

Go to Step 2

Go to Powertrain On Board Diagnostic (OBD) System Check

2

Are any other DTCs set?

--

Go to Diagnostic Trouble Code (DTC) List/Type

Go to Step 3

3

  1. Start and idle the engine.
  2. Turn all accessories OFF.
  3. Select IAC System.
  4. Command the engine speed up 1500 RPM, down to 500 RPM then back to 1500 RPM while monitoring the engine speed display.

Does the engine speed remain within the specified value of Desired Idle for each RPM command?

100 RPM

Go to Diagnostic Aids

Go to Step 4

4

  1. Disconnect the IAC valve.
  2. Install IAC test lamp or equivalent.
  3. With the engine running, command the engine speed up 1500 RPM, down to 500 RPM then back to 1500 RPM while monitoring the IAC test lamp.

Does each test lamp cycle red and green (never OFF)?

--

Go to Step 6

Go to Step 5

5

  1. Test the IAC control circuits for opens, shorts to ground, and shorts to voltage. Refer to Circuit Testing in Wiring Systems.
  2. If a condition is found repair as necessary. Refer to Wiring Repairs in Wiring Systems.

Did you find and correct the condition?

--

Go to Step 11

Go to Step 9

6

  1. Visually/physically inspect the throttle body for the following conditions:
  2. • Throttle body tampering (adjustment screw)
    • excessive deposits in the IAC passage and on the pintle (IAC stuck open)
    • Bent or damaged throttle plate and/or components, or binding accelerator cable
  3. If a condition is found, repair as necessary.

Did you find and correct the condition?

--

Go to Step 11

Go to Step 7

7

  1. Inspect for poor connections at the IAC harness connector. Refer to Testing for Intermittent Conditions and Poor Connections in Wiring Systems.
  2. If a condition is found, repair as necessary. Refer to Connector Repairs in Wiring Systems.

Did you find and correct the condition?

--

Go to Step 11

Go to Step 8

8

Replace the IAC valve. Refer to Idle Air Control Valve Replacement .

Is the action complete?

--

Go to Step 11

--

9

  1. Test for poor connections at the PCM. Refer to Testing for Intermittent Conditions and Poor Connections in Wiring Systems .
  2. If a condition is found, repair as necessary. Refer to Connector Repairs in Wiring Systems .

Did you find and correct the condition?

--

Go to Step 11

Go to Step 10

10

Important: The replacement PCM must be programmed.

Replace the PCM. Refer to Powertrain Control Module Replacement/Programming .

Is the action complete?

--

Go to Step 11

--

11

  1. Review and record the scan tool Fail Records data.
  2. Clear the DTCs.
  3. Operate the vehicle within the parameters listed in the Conditions for Running the DTC.
  4. With the scan tool, monitor the Specific DTC Information for DTC P0507 until the test runs.

Does the scan tool indicate that DTC P0507 passed?

--

System OK

Go to Step 2