GM Service Manual Online
For 1990-2009 cars only

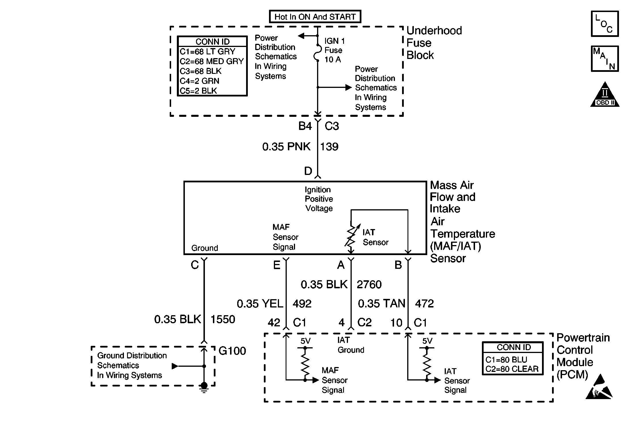
Object Number: 604198  Size: MF
Engine Controls Component Views
MAF/IAT Sensor and IAC Valve
OBD II Symbol Description Notice
Handling ESD Sensitive Parts Notice

Circuit Description

The intake air temperature (IAT) sensor is a thermistor (a variable resistor) that measures the temperature of the air entering the engine. The PCM supplies 5 volts to the IAT signal circuit through a pull-up resistor. When the intake air is cold, the PCM detects a high voltage on the IAT signal circuit. As the intake air warms, the PCM detects a lower voltage on the IAT signal circuit. If the PCM detects an intermittently high IAT signal voltage (low temperature indicated), DTC P0113 will set.

Conditions for Running the DTC

    • No ECT sensor, MAF sensor, or VSS DTCs are set
    • The engine has been running for at least 5 seconds.
    • The engine coolant temperature is more than 60°C (140°F).
    • The mass air flow is less than 12 g/s.
    • The vehicle speed is less than 80 km/h (48 MPH).

Conditions for Setting the DTC

    • The IAT sensor signal voltage is more than 4.8 volts (approximately -24°C or -12°F)).
    • The condition exists for less than 1 second.

Action Taken When the DTC Sets

    • The PCM will illuminate the malfunction indicator lamp (MIL) the first time the malfunction is detected.
    • The PCM will store the conditions present when the DTC set as Freeze Frame and Fail Records data.

Conditions for Clearing the MIL/DTC

    • The PCM will turn the MIL OFF during the third consecutive trip in which the diagnostic runs and passes.
    • The History DTC will clear after 40 consecutive warm-up cycles have occurred without a malfunction.
    • The DTC can be cleared by using the scan tool Clear DTC Information function.

Diagnostic Aids

If the condition is intermittent, refer to Intermittent Conditions in Symptoms.

Step

Action

Values

Yes

No

1

Did you perform the Powertrain On Board Diagnostic (OBD) System Check?

--

Go to Step 2

Go to Powertrain On Board Diagnostic (OBD) System Check

2

Are any other DTCs also set?

--

Go to Diagnostic Trouble Code (DTC) List/Type

Go to Step 3

3

  1. Test the IAT sensor signal circuit for the following intermittent conditions:
  2. • Short to voltage
    • Open signal circuit
    • Poor connections at the PCM or the IAT sensor, refer to Testing for Intermittent Conditions and Poor Connections in Wiring Systems.
  3. If a condition is found, repair as necessary. Refer to Wiring Repairs in Wiring Systems.

Did you find and correct the condition?

--

Go to Step 5

Go to Step 4

4

  1. Test the IAT sensor ground circuit for the following intermittent conditions:
  2. • An open circuit
    • Poor connection at the PCM or the IAT sensor, refer to Testing for Intermittent Conditions and Poor Connections in Wiring Systems.
  3. If a condition is found, repair as necessary. Refer to Wiring Repairs in Wiring Systems.

Did you find and correct the condition?

--

Go to Step 5

Go to Diagnostic Aids

5

  1. Turn ON the ignition.
  2. Review and record the scan tool Fail Records data.
  3. Clear the DTCs.
  4. Operate the vehicle within parameters listed in the Conditions for Running the DTC.
  5. With the scan tool, monitor the Specified DTC Information for DTC P1111.

Does the scan tool indicate that DTC P1111 passed?

--

System OK

Go to Step 2