GM Service Manual Online
For 1990-2009 cars only

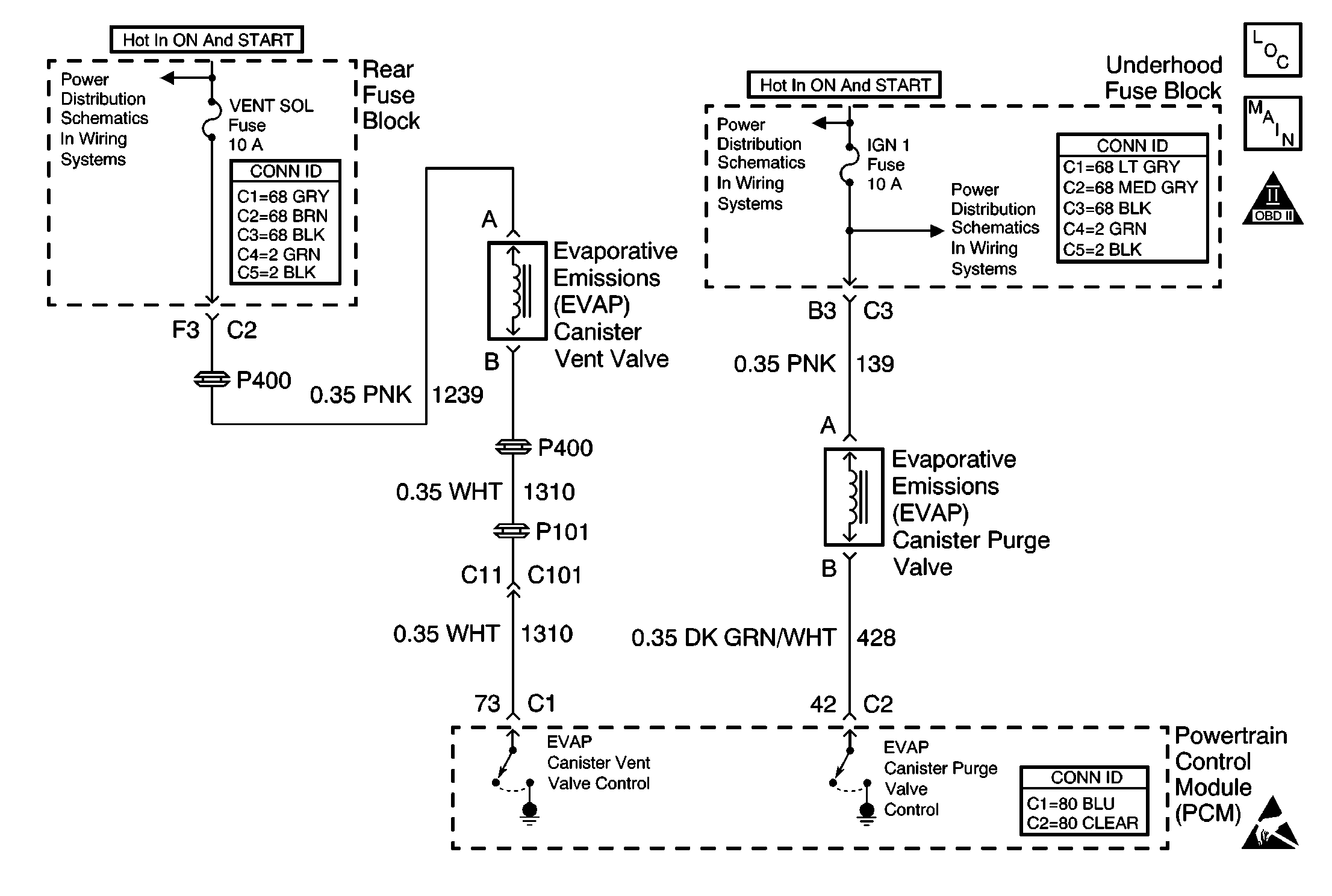
Object Number: 604194  Size: MF
Engine Controls Component Views
EVAP Valves, EGR Valve
OBD II Symbol Description Notice
Handling ESD Sensitive Parts Notice

Circuit Description

The PCM uses output driver modules (ODMs) to control many functions of the engine, and the transaxle. The ODMs supply the ground path for the PCM controlled device when the PCM commands the device ON. Each ODM is able to control several outputs. Unlike the quad driver modules (QDMs) used in earlier model years, the ODMs are able to diagnose each output circuit. The PCM monitors the ODMs for circuit conditions that are incorrect for the commanded state of the ODM. If the PCM detects an improper circuit condition in the ODM that controls the EVAP vent solenoid, DTC P0449 will set.

Conditions for Running the DTC

    • The engine is running.
    • System voltage is between 8 and 16 volts.

Conditions for Setting the DTC

    • The PCM detects a circuit conditions that is incorrect for the commanded state of the ODM that controls the EVAP vent solenoid.
    • The condition is present for at least 10 seconds.

Action Taken When the DTC Sets

    • The PCM illuminates the malfunction indicator lamp (MIL) during the second consecutive trip in which the diagnostic test runs and fails.
    • The PCM stores the conditions present when the DTC set as Freeze Frame/Failure Records data.

Conditions for Clearing the MIL/DTC

    • The PCM will turn the MIL OFF after the third consecutive trip in which the diagnostic runs and passes.
    • The history DTC will clear after 40 consecutive warm-up cycles have occurred without a malfunction.
    • The DTC can be cleared by using the scan tool Clear DTC Information function.

Diagnostic Aids

Notice: Use the connector test adapter kit J 35616-A for any test that requires probing the following items:

   • The PCM harness connectors
   • The electrical center fuse/relay cavities
   • The component terminals
   • The component harness connector
Using this kit will prevent damage caused by the improper probing of connector terminals.

If the condition is intermittent, refer to Intermittent Conditions .

Reviewing the Fail Records vehicle mileage since the diagnostic test last failed may assist in diagnosing the condition. The information may help determine how often the condition that set the DTC occurs.

Test Description

The numbers below refer to the step numbers on the diagnostic table.

  1. Ignition feed voltage should be present on the control circuit with the PCM disconnected and the ignition turned ON.

  2. Checks for a shorted component or a short to B+ on the control circuit.

  3. This vehicle is equipped with a PCM which utilizes an electrically erasable programmable read only memory (EEPROM). When the PCM is replaced, the new PCM must be programmed.

Step

Action

Values

Yes

No

1

Was the Powertrain On-Board Diagnostic System Check performed?

--

Go to Step 2

Go to Powertrain On Board Diagnostic (OBD) System Check

2

  1. Turn OFF the ignition switch.
  2. Disconnect the PCM.
  3. Turn ON the ignition switch.
  4. Using a DMM, measure voltage between the EVAP vent valve control circuit at the PCM harness connector and ground.

Is voltage near the specified value?

B+

Go to Step 3

Go to Step 5

3

  1. Connect a DMM to measure current between the EVAP vent valve control circuit at the PCM harness connector and ground.
  2. Monitor the current reading on the DMM for at least 2 minutes.

Does the current reading remain between the specified values?

0.1-0.5 Amps

(100-500 mA)

Go to Step 9

Go to Step 4

4

  1. Check the EVAP vent valve control circuit for a short to battery positive.
  2. If a problem is found, repair as necessary. Refer to Wiring Repairs in Wiring Systems.

Was a problem found?

--

Go to Step 13

Go to Step 11

5

Is the EVAP vent valve fuse open?

--

Go to Step 6

Go to Step 7

6

  1. Locate and repair short to ground in ignition feed circuit for the EVAP canister vent valve. Refer to Wiring Repairs in Wiring Systems.
  2. Replace fuse.

Is action complete?

--

Go to Step 13

--

7

  1. Check for the following circuit conditions:
  2. • Poor connections in the fuse block. Refer to Testing for Intermittent Conditions and Poor Connections in Wiring Systems.
    • Open battery positive feed to the EVAP vent valve.
    • Open or short to ground in the EVAP vent valve control circuit.
  3. If a problem is found, repair as necessary. Refer to Wiring Repairs or Connector Repairs in Wiring Systems.

Was a problem found?

--

Go to Step 13

Go to Step 8

8

  1. Check for poor connections at the EVAP vent valve. Refer to Testing for Intermittent Conditions and Poor Connections in Wiring Systems.
  2. If a problem is found, repair as necessary. Refer to Connector Repairs in Wiring Systems.

Was a problem found?

--

Go to Step 13

Go to Step 11

9

  1. Turn OFF the ignition switch.
  2. Reconnect the PCM.
  3. Disconnect the EVAP vent valve.
  4. Turn ON the ignition switch.
  5. Connect a test lamp between the EVAP vent valve control circuit and the ignition feed circuit at the EVAP canister vent valve harness connector.
  6. Using the scan tool outputs test function, cycle the EVAP vent solenoid ON and OFF.

Does the test lamp flash ON and OFF?

--

Go to Diagnostic Aids

Go to Step 10

10

  1. Check the EVAP vent valve control circuit for a poor connection at the PCM. Refer to Testing for Intermittent Conditions and Poor Connections in Wiring Systems.
  2. If a problem is found, Repair as necessary. Refer to Connector Repairs in Wiring Systems.

Was a problem found?

--

Go to Step 13

Go to Step 12

11

Replace the EVAP canister vent valve. Refer to Evaporative Emission Vent Valve Replacement .

Is action complete?

--

Go to Step 13

--

12

Important:: Replacement PCM must be programmed.

Replace the PCM. Refer to Powertrain Control Module Replacement/Programming

Is action complete?

--

Go to Step 13

--

13

  1. Review and record scan tool Fail Records data.
  2. Clear DTCs.
  3. Operate the vehicle within Fail Records conditions.
  4. Using the scan tool, monitor the Specific DTC Information for DTC P0449 until the test runs.

Does the scan tool indicate that DTC P0449 failed this ignition?

--

Go to Step 2

System OK